start here
Item No: 17461
Instruction Manual
Wall Mounting Instructions
- Find a clear area in which you can work.
- Unpack fixture and glass from carton.
- Carefully review instructions prior to assembly.
SAFETY WARNING: READ WIRING AND GROUNDING INSTRUC TIONS (I.S. 18) AND ANY ADDITIONAL DIRECTIONS. TURN POWER SUPPLY OFF DURING INSTALLATION. IF NEW WIRING IS REQUIRED, CONSULT A QUALIFIED ELECTRICIAN OR LOCAL AUTHORITIES FOR CODE REQUIREMENTS.
Make electrical connections from supply wire to fixture lead wires.
Refer to instruction sheet (I.S. 18) and follow all instructions to make all necessary wiring connections. Then refer back to this sheet to complete installation of this fixture.
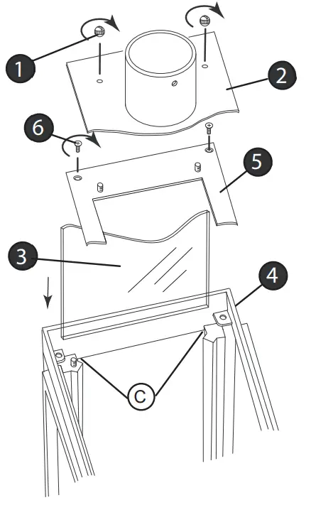
- To replace or install a glass panel it will be necessary to first remove the bottom panel (2) with the post fitter attached, from the cage assembly (4) see – Drawing 1. This is accomplished by removing the 4 ball knobs (1). After ball knobs are removed, panel can be lifted out of bottom of cage. Please Note: if fixture is installed, lift the cage assembly off of the fixture.
- Next remove the four phillips head screws (6) from the corner of the glass retaining panel (5).
- After removing panel (5) the glass panels can be slipped in or out.
- Now take the new glass panel and slide it back into the cage making sure the panel slides into the channels (C) of the uprights.
- After the panel or panels are in place the bottom panels (2 and 5) can be mounted back in place. Using screws and ball knobs removed earlier.
Drawing 1 – Glass Installation![]()
Assembly Instructions
- Find a clear area in which you can work.
- Unpack fixture and glass from carton.
- Carefully review instructions prior to assembly.
*** The installation of this fixture will be accomplished by first making all necessary electrical connections and then mounting fixture body to installed post, using the screws supplied with fixture.
SAFETY WARNING: READ WIRING AND GROUNDING INSTRUC-TIONS (I.S. 18) AND ANY ADDITIONAL DIRECTIONS. TURN POWER SUPPLY OFF DURING INSTALLATION. IF NEW WIRING IS REQUIRED, CONSULT A QUALIFIED ELECTRICIAN OR LOCAL AUTHORITIES FOR CODE REQUIREMENTS.
Make electrical connections from supply wire to fixture lead wires. Refer to instruction sheet (LS. 18) and follow all instructions to make all necessary wiring connections. Then refer back to this sheet to complete installation of this fixture.
NOTE: MAKE SURE ALL WIRE NUTS USED ON ELECTRICAL CONNECTIONS ARE SILICONE FILLED.
- Now follow instruction sheet (IS-18) make all necessary wiring connections.
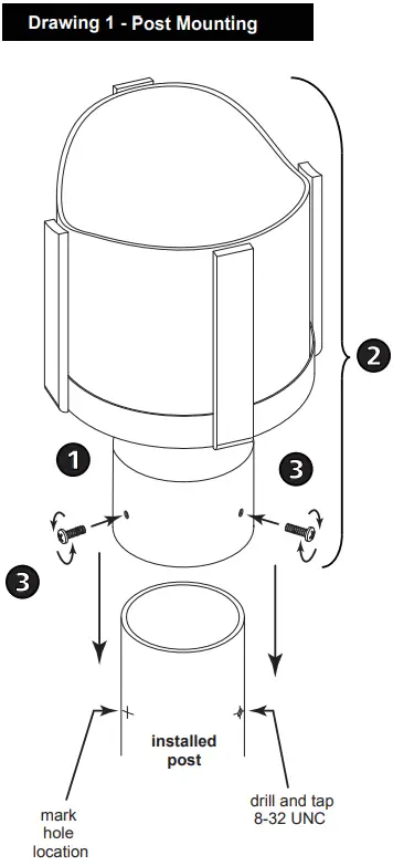
- After wiring is complete slip post fitter (1) of fixture body (2) over installed post and and tighten the three machine screws (3) in post fitter (1) to secure fixture to post.
![]()
OPITIONAL : The following mounting is optional, but recommended in high wind areas or coastal regions.
- Take main body assembly (2) and slide the post fitter (1) over install post and mark the location of the three threaded mounting holes.
NOTE: MAKE SURE FIXTURE BODY IS ORIENTED IN THE POSITION YOU WANT, BEFORE MARKING THE HOLE LOCATIONS. - Now remove fixture body from installed post and using a #29 drill bit (3.5mm). Drill holes at the marked locations.
- Tap drilled holes with an 8-32 UNC tap.
- Next do all wiring connections follow (IS-18) provided, then slip wires into post and slide post fitter (1) over installed post. Align holes previously drilled and tapped and thread in screws to secure fixture.
NOTE: If the post is thin walled, 1/16″ (2mm) thick or less replace machine screws with #8 stainless steel sheet metal screws
I.S. 18 wiring grounding instructions
SAFETY WARNING: READ WIRING AND GROUNDING INSTRUCTIONS (IS 18) AND ANY ADDITIONAL DIRECTIONS. TURN POWER SUPPLY OFF DURING INSTALLATION. IF NEW WIRING IS REQUIRED, CONSULT A QUALIFIED ELECTRICIAN OR LOCAL AUTHORITIES FOR CODE REQUIREMENTS
wiring instructions
Indoor Fixtures
- Connect positive supply wire (A) (typically black or the smooth, unmarked side of the two-conductor cord) to positive fixture lead (B) with appropriately sized twist on connector – see Drawings 1 or 2.
- Connect negative supply wire (C) (typically white or the ribbed, marked side of the two-conductor cord) to negative fixture lead (D).
- Please refer to the grounding instructions below to complete all electrical connections
![]()
Outdoor Fixtures
- Connect positive supply wire (A) (typically black or the smooth unmarked side of the two-conductor cord) to positive fixture lead (B) with appropriately sized twist on connector — – see Drawings 2 or 3.
- Connect negative supply wire (C) (typically white or the ribbed, marked side of the two-conductor cord) to negative fixture lead (D).
- Cover open end of connectors with silicone sealant to form a watertight seal.
If installing a wall mount fixture, use caulk to seal gaps between the fixture mounting plate (backplate) and the wall. This will help prevent water from entering the outlet box. If the wall surface is lap siding, use caulk and a fixture mounting platform specially. - Please refer to the grounding instructions below to complete all electrical connections.
![]()
grounding instructions
Flush Mount Fixtures
For positive grounding in a 3-wire electrical system, fasten the fixture ground wire (E) (typically copper or green plastic coated) to the fixture mounting strap (M) with the ground screw (S) – see Drawing 1.
Note: On straps for screw supported fixtures, first install the two mounting screws in strap. Any remaining tapped hole may be used for the ground screw.
Chain Hung Fixtures
Loop fixture ground wire (E) (typically copper or green plastic coated) under the head of the ground screw (S) on fixture mounting strap (M) and connect to the loose end of the fixture ground wire directly to the ground wire of the building system with appropriately sized twist-on connectors – see Drawing 2.
Post-Mount Fixtures
Connect fixture ground wire (E) (typically copper or green plastic coated) to power supply ground with appropriately sized twist-on connector inside post. Cover open end of connector with silicone sealant to form a watertight seal – see Drawing 3.
HINKLEY 33000 Pin Oak Parkway,
Avon Lake, OH 44012 800.446.5539 / 440.653.5500
hinkley.com

















