Mounting Instructions
31107-31100
31107 Aura Square Hanging Lamp
Drawing 2 – Mounting Detail

Drawing 1 – Bulb replacement

Start here
- Find a clear area in which you can work.
- Unpack fixture and glass from carton.
- Carefully review instructions prior to assembly.
Shut off electrical current befoer starting. If the fixture you are replacing is tamed on and off by a wall switch, simply turn the switch off. If not, remove the appropriate fuse (or open the circuit breakers) until the fixture is dead.. DO NOT restore current – either by fuse, breaker, or switch – until the new fixture is completely wired and in place.
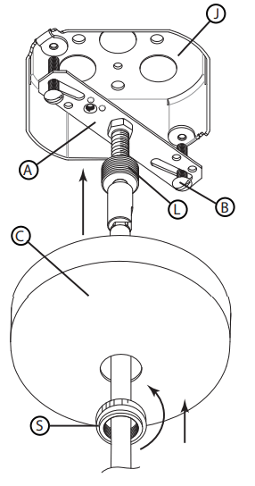
- To mount assembled pendant body to ceiling, first make all the necessary wiring connections using instruction sheet IS18 provided.
- After all wiring connections are complete, tuck all wires into junction box (J) – see Drawing 2.
- Now attach mounting strap (A) to junction box (J) using two screws (B)
NOT PROVIDED. NOTE: the back of mounting strap (A) should be flush against the ceiling. It should not be recessed into the ceiling or off of the ceiling surface. - Next slip canopy (C) up against the ceiling and thread screw collar (S) onto exposed portion of threaded section (L) and tighten to secure canopy to ceiling. 5. Refer to assembly instructions for attaching glass to pendant body.
- To replace burnt out bulbs unscrew coupler (Z) the top of the fixture
- Slide glass (G) up stem (Y) until old bulb is accessible
- Remove old bulb
- Screw in replacement bulb (W)
- Slide glass (G) back down stem (Y) and lock up with coupler (Z)
NOTE: It is easier to feed the wire through the glass after stem is installed
Drawing 1 – Flush Mount

Drawing 2 – Chain Hung

Drawing 3 – Post-Mount

I.S. 18 wiring grounding instructions
SAFETY WARNING: READ WIRING AND GROUNDING INSTRUCTIONS (IS 18) AND ANY ADDITIONAL DIRECTIONS. TURN POWER SUPPLY OFF DURING INSTALLATION. IF NEW WIRING IS REQUIRED, CONSULT A QUALIFIED ELECTRICIAN OR LOCAL AUTHORITIES FOR CODE REQUIREMENTS
Wiring instructions
Indoor Fixtures
- Connect positive supply wire (A) (typically black or the smooth, unmarked side of the two-conductor cord) to positive fixture lead (B) with appropriately sized twist on connector – see Drawings 1 or 2.
- Connect negative supply wire (C) (typically white or the ribbed, marked side of the two-conductor cord) to negative fixture lead (D).
- Please refer to the grounding instructions below to complete all electrical connections
Outdoor Fixtures
- Connect positive supply wire (A) (typically black or the smooth unmarked side of the two-conductor cord) to positive fixture lead (B) with appropriately sized twist on connector — – see Drawings 2 or 3.
- .Connect negative supply wire (C) (typically white or the ribbed, marked side of the two-conductor cord) to negative fixture lead (D).
- Cover open end of connectors with silicone sealant to form a watertight seal.
If installing a wall mount fixture, use caulk to seal gaps between the fixture mounting plate (backplate) and the wall. This will help prevent water from entering the outlet box. If the wall surface is lap siding, use caulk and a fixture mounting platform specially. - Please refer to the grounding instructions below to complete all electrical connections.
Grounding instructions
Flush Mount Fixtures
For positive grounding in a 3-wire electrical system, fasten the fixture ground wire (E) (typically copper or green plastic coated) to the fixture mounting strap (M) with the ground screw (S) – see Drawing 1.
Note: On straps for screw supported fixtures, first install the two mounting screws in strap. Any remaining tapped hole may be used for the ground screw. Chain Hung
Fixtures
Loop fixture ground wire (E) (typically copper or green plastic coated) under the head of the ground screw (S) on fixture mounting strap (M) and connect to the loose end of the fixture ground wire directly to the ground wire of the building system with appropriately sized twist-on connectors – see Drawing 2.
Post-Mount Fixtures
Connect fixture ground wire (E) (typically copper or green plastic coated) to power supply ground with appropriately sized twist-on connector inside post. Cover open end of connector with silicone sealant to form a watertight seal – see Drawing3.
HINKLEY 33000 Pin Oak Parkway,
Avon Lake, OH 44012 800.446.5539
440.653.5500
hinkley.com

















