WOOOD Hanging Lamp Instruction Manual
WARNING
- The installation work should only be performed by qualified electricians.
- Ensure the lamp is disconnected from mains power before installation.
- Make sure the lamp is securely supported.
- Just for indoor use
IMPORTANT
- Wear gloves during installation. Avoid scratching the lamp surface
- Do not install the lamp on a damp or damaged ceiling.
- Ensure that the electrical supply complies with the type stated on rating label.
- Used lighting source shall be of suitable model and wattage
- Avoid touching the shade and bulb when the lamp is working
- Please cut off power and let the bulb and shade cool down before replacing the bulb.
- Please use dry cloth to clean the lamp.
- If the external flexible cable or cord of this luminaire is damaged, it shall be exclusively replaced by the manufacturer or his service agent or a similar qualified person in order to avoid a hazard.
CONTANTS

A – 1 PCS

B – 2 PCS

C – 2 PCS

D – 1 PCS

E – 1 PCS

F – 2 PCS

G – 1 PCS
OVERVIEW


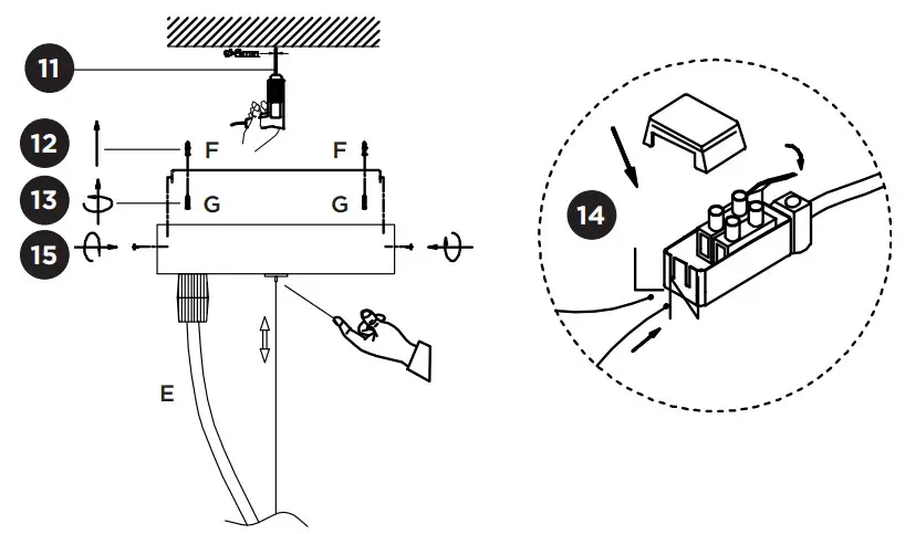
INSTALLATION INSTRUCTION






















