HINKLEY 2101 Walker 20 Inch Tall 3 Light Outdoor Post Lamp

HINKLEY Assembly Instructions
Item No: 2101
The HINKLEY product assembly instructions consist of three parts:
- Drawing 1 – Assembly and Glass Installation: This part provides instructions on how to assemble the main body, make all wiring connections, mount the fixture to the installed post, and install the glass.
- Drawing 1 – Post Mounting: This part provides instructions on how to mount the luminaire body to the installed post.
- I.S. 18 wiring grounding instructions: This part provides safety instructions on wiring and grounding, which should be read before starting the installation process.
Product Usage Instructions
- Find a clear area in which you can work.
- Unpack the fixture and glass from the carton.
- Carefully review all the instructions before starting the assembly process.
- If new wiring is required, consult a qualified electrician or local authorities for code requirements.
- Read the wiring and grounding instructions (I.S. 18) and any additional directions before starting the installation process.
Turn off the power supply during installation. - Make all necessary electrical connections following the instructions provided in I.S. 18. Make sure all wire connectors used on electrical connections are silicone-filled.
- If required, assemble the main body of the fixture as per Drawing 1 – Assembly and Glass Installation.
- Mount luminaire body to installed post as per Drawing 1 – Post Mounting.
- Install the glass onto the fixture body as instructed in
Drawing 1 – Assembly and Glass Installation. - Complete the assembly process as per Drawing 1 – Assembly and Glass Installation.
For any queries or assistance, contact HINKLEY customer support at:
HINKLEY
33000 Pin Oak Parkway,
Avon Lake, OH 44012
800.446.5539 / 440.653.5500
hinkley.com
Assembly Instructions
start here
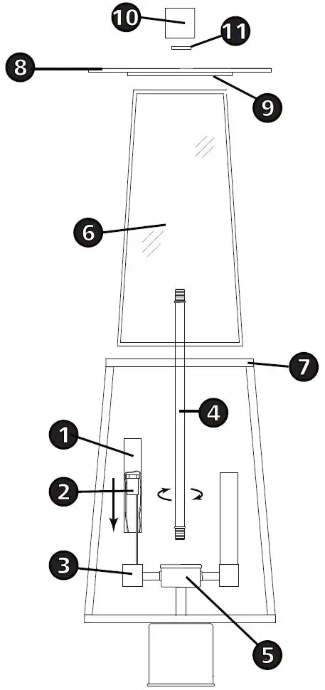
Drawing 1 – Assembly and Glass Installation
- Find a clear area in which you can work.
- Unpack fixture and glass from carton.
- Carefully review instructions prior to assembly.
*** Construction of this fixture will begin with assembling the main body, making all wiring connections, mounting the fixture to the installed post, and then installing the glass.
- To begin assembly, first slide candle sleeve (1) over socket (2) until in rest in the square recess of candle holder (3) see – Drawing 1. Repeat for the remaining candle sleeves.
- Next thread center stem (4) into top of cluster assembly (5).
- Fixture can now be mounted to installed post. Please follow mounting instructions below.
- Fixture can be lamped accordingly at this time.
- After fixture is mounted to pole the glass cage (6) can be installed.
- To install, slide glass cage assembly (6) into metal cage (7).
- Next, slide center stem (4) through center hole of roof (8). Making sure top of glass cage fits inside formed square (9) in top of roof (8).
- Now thread top finial (10) onto end of center stem (4). Making sure to place rubber washer (11) in recess on bottom of top finial (10).
- Installation is complete and power can be restored.
SAFETY WARNING: READ WIRING AND GROUNDING INSTRUC-TIONS (I.S. 18) AND ANY ADDITIONAL DIRECTIONS. TURN POWER SUPPLY OFF DURING INSTALLATION. IF NEW WIRING IS REQUIRED, CONSULT A QUALIFIED ELECTRICIAN OR LOCAL AUTHORITIES FOR CODE REQUIREMENTS.
Make electrical connections from supply wire to fixture lead wires. Refer to instruction sheet (I.S. 18) and follow all instructions to make all necessary wiring connections. Then refer back to this sheet to complete installation of this fixture.
Post mounting Instructions PMSS-1
start here
Drawing 1 – Post Mounting
- Find a clear area in which you can work.
- Unpack fixture and glass from carton.
- Carefully review instructions prior to assembly.
*** The installation of this luminaire will be accomplished by first making all necessary electrical connections, mounting luminaire body to installed post, and then completing assembly.
NOTE: it is recommended that steps 1 and 2 be done prior to installation of the glass or before any assembly is done on the fixture body.
- To begin installation it will be necessary to drill 3 pilot holes in the installed post in order to mount the fixture body. This is accomplished by sliding the post fitter (1), of the fixture body (2), over the installed post. Using the holes (3), in the side of the post fitter, mark the mounting hole locations – see DRAWING 1.
NOTE: MAKE SURE FIXTURE BODY IS ORIENTED IN THE POSITION YOU WANT, BEFORE MARKING THE HOLE LOCATIONS. - Now remove fixture body from installed post and drill a 5/32” (4mm) dia. hole at the marked locations.
SAFETY WARNING: READ WIRING AND GROUNDING INSTRUCTIONS (I.S. 18) AND ANY ADDITIONAL DIRECTIONS. TURN POWER SUPPLY OFF DURING INSTALLATION. IF NEW WIRING IS REQUIRED, CONSULT A QUALIFIED ELECTRICIAN OR LOCAL AUTHORITIES FOR CODE REQUIREMENTS.
NOTE: MAKE SURE ALL WIRE CONNECTORS USED ON ELECTRICAL CONNECTIONS ARE SILICONE FILLED.
- Now follow instruction sheet (IS-18) make all necessary wiring connections.
- After wiring is complete slip post fitter (1) of fixture body (2) over installed post and align holes in post fitter (1) with previously drilled holes in the installed post. Now thread in the three screws (4) provided, to secure fixture body to the post.
I.S. 18 wiring grounding instructions
SAFETY WARNING: READ WIRING AND GROUNDING INSTRUCTIONS (IS 18) AND ANY ADDITIONAL DIRECTIONS. TURN POWER SUPPLY OFF DURING INSTALLATION. IF NEW WIRING IS REQUIRED, CONSULT A QUALIFIED ELECTRICIAN OR LOCAL AUTHORITIES FOR CODE REQUIREMENTS
wiring instructions
Indoor Fixtures
- Connect positive supply wire (A) (typically black or the smooth, unmarked side of the two-conductor cord) to positive fixture lead (B) with appropriately sized twist on connector – see Drawings 1 or 2.
- Connect negative supply wire (C) (typically white or the ribbed, marked side of the two-conductor cord) to negative fixture lead (D).
- Please refer to the grounding instructions below to complete all electrical connections
Drawing 1 – Flush Mount
Outdoor Fixtures
- Connect positive supply wire (A) (typically black or the smooth unmarked side of the two-conductor cord) to positive fixture lead (B) with appropriately sized twist on connector — see Drawings 2 or 3.
- Connect negative supply wire (C) (typically white or the ribbed, marked side of the two-conductor cord) to negative fixture lead (D).
- Cover open end of connectors with silicone sealant to form a watertight seal.
If installing a wall mount fixture, use caulk to seal gaps between the fixture mounting plate (backplate) and the wall. This will help prevent water from entering the outlet box. If the wall surface is lap siding, use caulk and a fixture mounting platform specially. - Please refer to the grounding instructions below to complete all electrical connections.
Drawing 2 – Chain Hung
grounding instructions
Flush Mount Fixtures
For positive grounding in a 3-wire electrical system, fasten the fixture ground wire (E) (typically copper or green plastic coated) to the fixture mounting strap (M) with the ground screw (S) – see Drawing 1.
Note: On straps for screw supported fixtures, first install the two mounting screws in strap. Any remaining tapped hole may be used for the ground screw.
Chain Hung Fixtures
Loop fixture ground wire (E) (typically copper or green plastic coated) under the head of the ground screw (S) on fixture mounting strap (M) and connect to the loose end of the fixture ground wire directly to the ground wire of the building system with appropriately sized twist-on connectors – see Drawing 2.
Post-Mount Fixtures
Connect fixture ground wire (E) (typically copper or green plastic coated) to power supply ground with appropriately sized twist-on connector inside post. Cover open end of connector with silicone sealant to form a watertight seal – see Drawing 3.
Drawing 3 – Post-Mount
HINKLEY 33000 Pin Oak Parkway, Avon Lake, OH 44012 800.446.5539 / 440.653.5500 hinkley.com


















