3996OZ Latitude 42 Inch 4
Light Linear Suspension Light
Instruction Manual
3996OZ Latitude 42 Inch 4 Light Linear Suspension Light
![]() | ![]() |
![]() | ![]() |
Mounting instruction for 3996
SAFETY WARING: READ WIRING AND GROUND INSTRUCTIONS (FRIS18)
AND ANY ADDITIONAL DIRECTINS. TURN POWER SUPPLY OFF DURING INSTALLATION. IF NEW WIRING IS REQUIRED, CONSULT A QUALIFIED ELECTRICIAN OR LOCAL AUTHORITIES FOR CODE REQUIREMENTS.
1. Shut off electrical current before starting. If the fixture you are replacing is turned on and off by a wall switch, simply turn the switch off. if not, remove the appropriate fuse ( or open the circuit breaders) until the fixture is dead.* DO NOT restore current until the new fixture is completely wired and in place.
1. To assemble fixture it is necessary to first remove the swivels (C) from the canopy (D). This is accomplished by removing hex nut (N) and lock washers (L) – see Drawing 3.
1. It will be necessary to determine the length of stems that you will require to hang your fixture at the required height – see Drawing 1.
2. It will be necessary to slip one set of stems over the supply wire and thread them into coupler (1) the top of the fixture.
3. Then assembly the matching set of stems and thread them into coupler (2) on the top of the fixture.
1. After stems are assembled the swivels (C) removed earlier can now be threaded onto the end of the assembled stems. NOTE: supply wire with have to be slipped through center hole of one swivel – see Drawing 2.
2. Slip top threaded portion of swivel through mounting holes (H) in canopy (D) and through holes in the re-enforcement plate (R) in the canopy.
3. Attach swivel (C) to canopy using hex nuts and lockwashers removed earlier. Tighen to secure assembly.
1. Prepare mounting strap (1) by threading the two 8-32 screws (2) from parts bag into the threaded mounting strap holes that match the hole spacing of holes (B) in canopy (C).
2. Next attach mounting strap (1) to junction box (J) using two 8-32 screws [not provided].
3. Make all necessary electrical connections following instruction sheet (IS18) provided.
4. To mount caonpy (C) to ceiling, align holes (B) in canopy with screws (3) in mounting plate and slip screws through holes. Hold canopy against the ceiling and thread on ball knobs (4) and tighten them up against the canopy until it is secure against ceiling.
GLASS INSTALLTION
Bulbs: 100 watt med.
replacement parts: R56503GL
GLASS INSTALLATION INSTRUCTIONS:
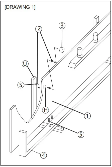
- First secure main fixture body (4) to upright (U) using screws (5)
- To install glass panels (1) first slip one plastic washer (2) over studs (S) extending from uprights (U) on fixture -see Drawing 1.
- Now slip mounting holes (H) in glass panel (1) over studs (S) in upright (U).
- Slip another plastic washer (2) over exposed studs (S).
- Thread decorative knob (3) onto end of stud (S) to secure glass panel (1). Repeat above steps to install remaining glass panel onto fixture.
NOTE: Fixture can be lamped before or after installing the glass.
I.S. 18 wiring grounding instructions
SAFETY WARNING: READ WIRING AND GROUNDING INSTRUCTIONS (IS 18) AND ANY ADDITIONAL DIRECTIONS.
TURN POWER SUPPLY OFF DURING INSTALLATION. IF NEW WIRING IS REQUIRED, CONSULT A QUALIFIED ELECTRICIAN OR LOCAL AUTHORITIES FOR CODE REQUIREMENTS
wiring instructions
Indoor Fixtures
- Connect positive supply wire (A) (typically black or the smooth, unmarked side of the two-conductor cord) to positive fixture lead (B) with appropriately sized twist on connector – see Drawings 1 or 2.
- Connect negative supply wire (C) (typically white or the ribbed, marked side of the two-conductor cord) to negative fixture lead (D).
- Please refer to the grounding instructions below to complete all electrical connections
Outdoor Fixtures
- Connect positive supply wire (A) (typically black or the smooth unmarked side of the two-conductor cord) to positive fixture lead (B) with appropriately sized twist on connector — – see Drawings 2 or 3.
- Connect negative supply wire (C) (typically white or the ribbed, marked side of the two-conductor cord) to negative fixture lead (D).
- Cover open end of connectors with silicone sealant to form a watertight seal.
If installing a wall mount fixture, use caulk to seal gaps between the fixture mounting plate (backplate) and the wall. This will help prevent water from entering the outlet box. If the wall surface is lap siding, use caulk and a fixture mounting platform specially. - Please refer to the grounding instructions below to complete all electrical connections.
grounding instructions
Flush Mount Fixtures
For positive grounding in a 3-wire electrical system, fasten the fixture ground wire (E) (typically copper or green plastic coated) to the fixture mounting strap (M) with the ground screw (S) – see Drawing 1.
Note: On straps for screw supported fixtures, first install the two mounting screws in strap. Any remaining tapped hole may be used for the ground screw.
Chain Hung Fixtures
Loop fixture ground wire (E) (typically copper or green plastic coated) under the head of the ground screw (S) on fixture mounting strap (M) and connect to the loose end of the fixture ground wire directly to the ground wire of the building system with appropriately sized twist-on connectors – see Drawing 2.
Post-Mount Fixtures
Connect fixture ground wire (E) (typically copper or green plastic coated) to power supply ground with appropriately sized twist-on connector inside post. Cover open end of connector with silicone sealant to form a watertight seal – see Drawing 3.
![]() | ![]() |
![]() | |
33000 Pin Oak Parkway,
Avon Lake, OH 44012 800.446.5539 / 440.653.5500
hinkley.com

























