FR30106 Jolie 45 Inch LED Linear Suspension Light
Instruction Manual
Assembly Instructions
Item No. FR30106
T24 JA8-2016
- Find a clear area in which you can work.
- Unpack fixture from carton.
- Carefully review instructions prior to assembly.
*** The construction of this fixture will be accomplished by first assembling the main body of the fixture, making all necessary electrical connections, hanging the fixture from the ceiling and then installing the fixture glass.
Note: It will be necessary to determine the length of rods you will require to hang your fixture at the desired height. After this has been established, please follow the instructions below.
- Slip first rod section (B) along wire and thread into top of main fixture body (A) .
- Slip next section of rod (C) along wire and thread into previously installed rod – see Drawing 1.
- Continue adding sections of rod until all necessary length have been attached to the fixture.
- After last stem is installed remove loop (L) from canopy by opening chain link. Remove loop and thread onto top of stem. Now hook loop back onto chain link and close link – see Drawing 2.
- Fixture can now be mounted to the ceiling by following mounting instruction sheet (FR30106) provided.
1. After fixture is installed it can be lamped accordingly.

mounting instruction FR 30106
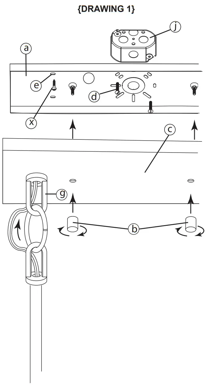
- To begin installation of your fixture first attach the mounting plate (a) to the junction box (j). This is accomplished by first, threading barrel knobs (b) off of screws (s) in mounting plate (a) that hold the mounting plate (a) to the canopy (c) – see Drawing 1.
- Remove mounting plate from canopy and remove the appropriate knock outs to allow the mounting plate to be attached to junction box, using screws (d) NOT PROVIDED.
- NOTE: additional anchor (x) can be used and are recommended. They can be installed through holes (e) of the mounting plate (a). Use appropriate anchors for the material you are anchoring too.
- Next assembly fixture per instruction sheets provided. Return to this page, to complete the installation of your fixture. to this page, to complete the installation of your fixture.
SAFETY WARNING: READ WIRING AND GROUNDING INSTRUCTIONS (I.S. 18) AND ANY ADDITIONAL DIRECTIONS. TURN POWER SUPPLY OFF DURING INSTALLATION. IF NEW WIRING IS REQUIRED, CONSULT A QUALIFIED ELECTRICIAN OR LOCAL AUTHORITIES FOR CODE REQUIREMENTS.
Make electrical connections from supply wire to fixture lead wires. Refer to instruction sheet (I.S. 18) and follow all instructions to make all necessary wiring connections. Then refer back to this sheet to complete installation of this
- After stems and loop is attached to canopy, feed wire through center hole in loop (g) on canopy.
- Now make all elecrical connections following instruction sheet FRIS-18 provided.
- Now slip mounting screws (s) thropugh holes in the canopy (c) and thread on barrel knobs (b) to secure fixture to ceiling. Now follow glass panel installation instruction sheet provided to complete assembly.

Wiring Instructions for 0-10 volt LED dimmer
Your fixture is designed so it can use a standard incandescent dimmer, Or a 0-10 volt LED dimmer. If a 0-10 volt LED dimmer is used, it may be necessary to have additonal wiring installed from the dimmer switch to the fixture. Consulting an electrician will be necessary.
1. If using the optional 0-10 volt dimmer there will be four wires exiting the junction box. (B) Black [+], (W) White [-], wirng are for the 120 / 277 voltage. The (G) Gray {-} and (P) Purple {+} are for the 0-10 volt wires from the dimmer (D) – see Drawing 1.
2. The fixture has four wires of corrisponding colors. When make the wire connections follow the chart below.
Black (B) from junction box (J) wired to Black (B) from fixture (F). White (W) from junction box (J) wired to White (W) from fixture (F). Gray/ Pink(G) from junction box (J) wired to Gray/Pink (G) from fixture (F). Purple (P) from junction box (J) wired to Purple (P) from fixture (F) Connect ground wire from fixture to ground screw on mounting hardware
INCANDESCENT DIMMER USAGE:
If using an incadescent dimmer follow manufactures instructions.
NOTE: MAKE SURE TO CAP OFF THE GRAY AND PURPLE WIRE FROM THE FIXTURE INSIDE THE CANOPY. IF THE ARE NOT CAPPED THEY CAN SHORT OUT AND CAUSE THE FIXTURE TO FAIL.
IS-SCC [safety cable installation]
WARNING: TO AVOID ELECTRICAL SHOCK, THIS SECTION OF THE INSTRUCTION SHEET IS FOR THE SOLE PURPOSE OF SAFETY CABLE INSTALLATION, AND IS NOT TO BE USED TO MAKE ANY ELECTRICAL CONNECTIONS.
The safety cable must be attached to a ceiling joist or other permanent structure independent of the junction box.
- using a 3/16″ dia. drill, drill a pilot hole (1). It must be drilled into the permanent structure or through the junction box on the joist side were the safety cable will be attached – see Drawing 1.
- Insert and thread a 1/4″ hex head lag screw (2) (not included) into pilot hole.
- Continue installation of this ÿxture according to IS19-50 provided.
- After length of safety cable is determined, allow enough extra cable so it can be wrapped around lag screw. Thread lag screw to secure safety cable.
Make electrical connections from supply wire to fixture lead wires. Refer to instruction sheet (I.S. 18) and follow all instructions to make all necessary wiring connections. Then refer back to this sheet to continue installatio of this fixture.
A Division of Hinkley Lighting, Inc.
33000 PIN OAK PARKWAY
AVON LAKE, OHIO 44012
toll free 800.446.5539
phone 440.653.5500


















