Selene 2 Suspended
Instruction Manual
SNPCH121W Selene 2 Suspended LED Luminaire
- Remove the luminaire from its packaging and inspect the contents for damage.
- Ensure that the supporting ceiling structure is of adequate strength to support the weight of the luminaire. (see specification table for weights)
- Secure top hat brackets (part of SN2SUSKITM13) to the ceiling using suitable fixings at the recommended spacings below. Fit drop wire into the top hat cover & screw into top hat brackets.
Variant Model Height (mm) Width (mm) Length (mm) Suspension Centers Suspension kit Weight (kg) Standard Emergency Standalone
Luminaire1200 68 210 1316 1243 Yes 7. 8. 1500 1607 1528 Yes 8. 9. 1800 1887 1808 Yes 9. 10. Continuous
Luminaire1200 1316 1243 Yes 7. 8. 1500 1601 1528 Yes 9. 9. 1800 1881 1808 Yes 10. 10. Inf ill 300 41 300 N/A No 1. N/A 600 600 N/A No 3. N/A 900 900 N/A No 4. N/A 1200 1200 1130 Yes 5 N/A 1500 1500 1430 Yes 6. N/A 1800 1800 1730 Yes 7. N/A Specification – All variants Finish RAL9003 White, RAL9016 Silver Materials Steel body, polycarbonate endcaps, acrylic diffusers. Supply 220-240v AC50-60Hz Connection Cable section: 3-6 core-0.5mm2 to 2.5mm2 (6mm strip length) Operating Temp 0°c to + 25°c IP Rating IP44 Nb Suspension centres between continuous luminaires = Infill length + 73mm (300 – 900 infills only)
Nb Suspension centres between continuous luminaires & infill = 71.5mm (1200 – 1800 infills only)
LUMINAIRE DIMENSIONS
- Remove the front diffuser optic assembly from the product by pushing up vertically & unhooking edges. Disconnect the safety & earth cords & sensor connection plug was fitted & set assy aside.

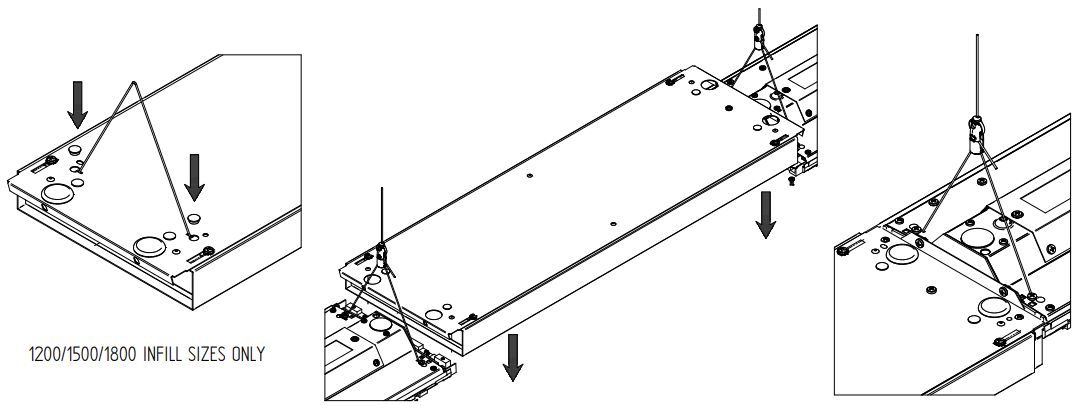
- a. Fit ‘Y’ splitter adjustable suspension hanger cables into the canopy keyhole cutouts and fit the included locking screws into the adjacent holes to secure.
5b. Offer luminaire ‘Y’ splitter clutch assemblies up to the pre-fitted wire drops & adjust luminaires to the desired height. Excess cable can be trimmed once no further adjustment is necessary.
Nb Adjustment of the luminaire should always be undertaken with the weight of the luminaire supported.
- a. Remove the blanking grommet from the preferred luminaire end for the main power feed cable.
6b. Fit the cable gland supplied with the endcap kit (supplied separately) & secure via the rotating body in a clockwise direction. Nb Mains feed cable must be at the opposite end to any fitted sensor!
6c. Feed the mains cable through the cable gland & secure it whilst ensuring that there is a minimum of 180mm of stripped cable available after the cable clamp (See note re separate em Dali cable entry)
6d. Fit the supplied cable sleeving over stripped cables between cable clamp & terminal blocks.
- Wire mains / Dali cable into the Luminaire terminal blocks as per below (variant dependant)
Continuous
Standalone
- For emergency:
a) Release the gear tray by unhooking clips and allowing the gear tray to hinge & rotate to a vertical position.
b)Connect the battery plug & socket & the note commissioning date.
c) Refit the gear tray assembly to the horizontal position ensuring that the clips are fully engaged at both ends.
- For infills:
a) For infill lengths of 1200mm & above, fit ‘Y’ splitter suspension assembly into the infill keyhole slots & retain via the plastic push-in plugs provided. (n/a for infills sizes 900mm & below)
b) Hook the infill in between the adjacent luminaires & adjust the suspension cable if fitted as per step 5b.
c)Fit the supplied jointing screws into the adjacent luminaires, but do not fully tighten at this stage.
d) Connect the earth lead from the infill into the terminal block earth port at one end.
e) Feed the supplied wiring loom through the infill & connect to the adjacent luminaire terminal blocks.
f) Secure the loom to the adjacent luminaire gear trays with the supplied ‘P’ clips & screws. Ensure that ‘P’ clips are orientated as shown below.
d) Using the Endcap kit (SN2CENDKIT- supplied separately) fit end caps to the front diffuser assembly at each end of rows with the screws provided.
- a. Re-attach earth & safety cords to the diffuser assembly & connect Sensor plug where fitted.
10b. Align the front diffuser assembly with the canopy & re-attach to the canopy by pushing up from the front until the hook on both sides is fully clipped over the canopy edge along the entire length.
Nb Care should be taken to ensure that no cables are trapped during the fitting process.
- For infills:
a) Slide the alignment brackets on the inside of the infill fully into the adjacent luminaire and tighten the top screws.
b) Fully tighten jointing screws into the adjacent luminaire and fit blanking grommets into holes.
- Fit locking plates at each end of continuous rows & individual luminaires with screws provided.
Ensure that the plate overlaps the outer endcap at each end before fully tightening the screws.

GENERAL SAFETY INFORMATION.
- A qualified electrician, in accordance with IEE wiring regulations, should carry out the connection to the mains wiring.
- Ensure that the rated voltage and the frequency requirements are compatible with the available mains supply.
- This luminaire must be earthed.
- Observe ESD precautions during installation.
- The Luminaire must be isolated before commencing any necessary maintenance work or emergency battery connection.
- Do not carry out a high voltage insulation test, i.e. 500/1000v this may damage internal components.
- The light source within this luminaire shall only be replaced by the manufacturer, their agent, or a suitably qualified person.
- Batteries used in emergency versions of this luminaire range are replaceable by a qualified electrician only.
- Dali control cables must be double insulated & have an equivalent insulation rating to the supply cable.
- Ensure that the ceiling is of sufficient strength to support the luminaire weight. Fit secondary suspensions where necessary.
- It is recommended that a minimum of two people undertake the installation of luminaires.
- Battery access for maintenance & replacement purposes is the reversal of step 11,10,9,7 (Infills can remain in situ)
Whitecroft Lighting Limited
Burlington Street, Ashton-under-Lyne,
Lancashire OL7 0AX
Telephone: +44 (0)161 330 6811
Registered No: 3848973 England
Technical Support
Telephone: 0161 331 5700
Email: [email protected]
Whitecroft Lighting Limited
Burlington Street, Ashton-under-Lyne, Lancashire OL7 0AX
Telephone +44 (0)161 330 6811 Email: [email protected]
Registered No. 3848973 England Registered Office: As above![]()




Standalone
b)Connect the battery plug & socket & the note commissioning date.
c) Refit the gear tray assembly to the horizontal position ensuring that the clips are fully engaged at both ends.
c)Fit the supplied jointing screws into the adjacent luminaires, but do not fully tighten at this stage.
d) Connect the earth lead from the infill into the terminal block earth port at one end.
d) Using the Endcap kit (SN2CENDKIT- supplied separately) fit end caps to the front diffuser assembly at each end of rows with the screws provided.

b) Fully tighten jointing screws into the adjacent luminaire and fit blanking grommets into holes.


















