
AVENUE MICRO

LED SUSPENDED
Installation Instructions
August 2021 – 990.0280.01 Rev C
Whitecroft Lighting Limited
Burlington Street, Ashton-under-Lyne, Lancashire OL7 0AX
Telephone: +44(0) 870 5 087 087 Facsimile: +44 (0)870 5 084 210
Registered No. 3848973 England Registered Office: As above
IMPORTANT:
The luminaire must not be covered by any debris or insulating material.
Ensure there is a minimum of 50 mm airspace around the luminaire. Electrical termination must be carried out by a qualified electrician in accordance with the latest edition of IEE wiring regulations BS7671.
PLEASE RETAIN THIS GUIDE FOR FUTURE REFERENCE AND RECYCLE PACKAGING.![]()
INSTALLATION GUIDE:
AVENUE MICRO – SUSPENDED
A
ISOLATE MAINS SUPPLY BEFORE COMMENCING INSTALLATION
IMPORTANT: DO NOT USE POWER TOOLS TO TIGHTEN FIXINGS ON THIS PRODUCT

– Mark out positions on ceiling for suspension clutches, depending on length of fitting.
– Secure suspension cup assembly to ceiling using appropriate fixings (not included).
B

– Remove uplight diffuser
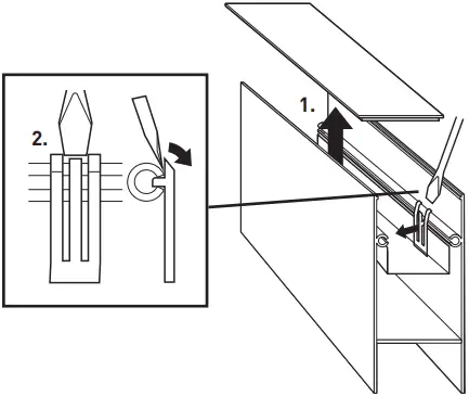
C

– Remove downlight diffuser (1).
– Remove LED tray as shown (2).
– Unclip module plugs / earthing spade.
D

– Lift fitting(s) into position and thread suspension wires through the clutches until fitting(s) are at the desired height. Level out fitting(s) using a spirit level.
E

- alignment pin
– For joining multiple fittings tap in four alignment pins into one end of each product and ensure alignment pins connect to each fitting.
– Attach end caps at both ends of the complete fitting and secure using M4 screws supplied (do not overtighten).
F

– Offer up ramping bracket, then insert and tighten screws until fittings are joined securely (do not overtighten).
G

– Prepare cable (1).
– Feed cable through gland and secure.
– Use tie wraps to hold mains cable to suspension wire, when applicable.
H

N NEUTRAL
EARTH
L SWITCHED LIVE

L2 PERMANENT LIVE*
D1 DALI +
D2 DALI –
– Connect mains supply to terminal block.
– For switch dim link D2 to N, connect D1 to mains supply via a push to make retractive switch.
* Permanent live only on continuous or emergency versions
I

- Light leakage tape
– Use supplied mains wires to link terminal blocks at each side of the fitting.
– Cover all middle joins on the inner side of the fitting with the light leakage tape supplied.
J

– Offer up LED tray(s) and re-connect plugs and earthing spade, then push LED tray(s) into fitting ensuring clips are correctly located and secure.
– Push diffusers back into fitting until secure.
– To prevent light spill gaps on longer runs, an additional section of diffuser is supplied with the end cap kit.
– If required, it should be fitted before the final diffuser, which should be trimmed using appropriate cutting equipment before fitting.
REINSTATE MAINS SUPPLY
We reserve the right to amend any product specification without prior notice. Any alterations made to the luminaire may affect life and light output and invalidate any warranty. Luminaire complies with all safety standards set out in BS EN 60598.
SPECIFICATION
Lamp Type: LED
Colour: 840
Finish: White texture / Silver texture
Materials:
Body: Aluminium
Geartray: Steel
Diffusers: Polycarbonate
Control gear: Fixed output / Dali
Supply: 240 V 50 Hz AC
Operating Temperature: 0 – 25°C
Internal Wiring: 1.5 mm²
Cable Entry: From above
Terminal Block: Piano key
Ingress Protection: IP20
Ceiling Compatibility: N/A
GENERAL INFORMATION
- A qualified electrician, in accordance with IEE wiring regulations should carry out connection to mains wiring.
- Observe ESD precautions during installation.
- This unit must be EARTHED.
- Ensure that the rated voltage and frequency requirements are compatible with the available mains supply.
- Cleaning of reflectors and lenses should be carried out using clean, soft and lint free cloths and antistatic cleaning fluid.
- Do not carry out high voltage insulation test, i.e. 500 / 1000 V this may damage internal components.
TECHNICAL SUPPORT
Telephone: 0161 331 5700
E-mail: [email protected]
http://www.whitecroftlighting.com/



















