Whitecroft lighting Avenue Micro Led Recessed

SPECIFICATION
- Lamp Type: LED
- Colour: 840
- Finish: White texture / Silver Texture
- Materials:
- Body: Aluminium
- Gear tray: Steel
- Diffusers: Polycarbonate
- Control gear: Fixed output / Dali
- Supply: 240 V 50 Hz AC
- Operating Temperature: 0 – 25°C
- Internal Wiring: 1.5 mm2
- Cable Entry: From above
- Terminal Block: Piano key
- Ingress Protection: IP20
- Ceiling Compatibility: Plasterboard aperture lined with battens (min 35 mm max 45 mm thickness)
- T15/T25 Suspended Ceiling (special layout required to suit run design)
GENERAL INFORMATION
- A qualified electrician, in accordance with IEE wiring regulations, should carry out connection to mains wiring.
- Observe ESD precautions during installation.
- This unit must be EARTHED.
- Ensure that the rated voltage and frequency requirements are compatible with the available mains supply.
- Cleaning of reflectors and lenses should be carried out using clean, soft, and lint-free cloths and anti-static cleaning fluid.
- Do not carry out high voltage insulation test, i.e. 500 / 1000 V this may damage internal components.
ISOLATE MAINS SUPPLY BEFORE COMMENCING INSTALLATION
IMPORTANT: DO NOT USE POWER TOOLS TO TIGHTEN FIXINGS ON THIS PRODUCT. NOT SUITABLE FOR WALL MOUNTING.
- Minimum void depth of 90 mm (110 mm at cable entries).
- Cut a rectangular hole in the ceiling based on the length of the fitting.
- To calculate the cut-out for each length, add 3.6 mm to the total length of the individual components to allow for the end caps.

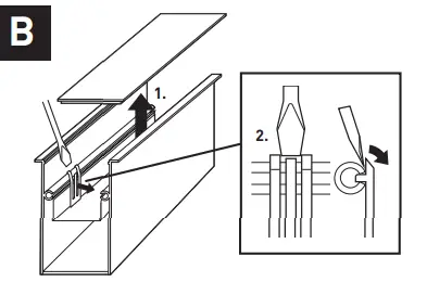
- Remove diffuser (1).
- Remove the LED tray as shown (2).
- Unclip module plugs / earthing spade.

- Prepare cable as shown (1).
- Fit gland to cable (2).

- Secure gland to the body.

- Attach end caps at both ends of the fitting using the M4 screws supplied (do not overtighten).
IMPORTANT: For joining multiple fittings leave one or both end caps off.
- Undo twist bracket to ceiling thickness +5 mm.
- Offer product up into ceiling cut-out.
- Tighten ceiling retainer screws until the product is held securely.

- Connect the main supply to the terminal block.
- For switch dim link D2 to N, connect D1 to mains supply via a push to make retractive s ch.
- Permanent live only on continuous or emergency versions

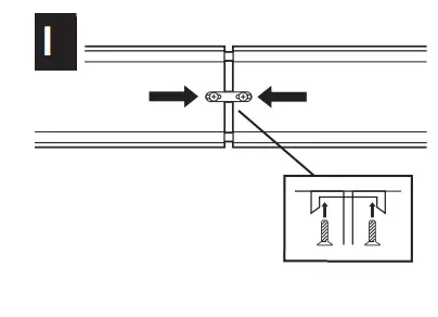
- For joining multiple fittings tap two alignment pins into one end of each product with the hammer.

- Ensure alignment pins connect to each fitting.
- Offer up a ramping bracket, then insert and tighten screws until fittings are joined securely (do not overtighten).

- Link terminal blocks at each end using cables supplied.

- Offer up LED tray(s) and re-connect plugs and earthing spade, then push LED tray(s) into fitting ensuring clips are correctly located and secure.
- Push the diffuser back into the fitting until it is secure.
- To prevent light spill gaps on longer runs, an additional section of a diffuser is supplied with the end cap kit.
- If required, it should be fitted before the final diffuser, which should be trimmed using appropriate cutting equipment before fitting.

- REINSTATE MAINS SUPPLY
- We reserve the right to amend any product specification without prior notice. Any alterations made to the luminaire may affect life and light output and invalidate any warranty. Luminaire complies with all safety standards set out in BS EN 60598.
- TECHNICAL SUPPORT Telephone: 0161 331 5700
- E-mail: [email protected]
- http://www.whitecroftlighting.com/
- Whitecroft Lighting Limited
- Burlington Street, Ashton-under-Lyne, Lancashire OL7 0AX Telephone: +44(0) 870 5 087 087 Facsimile: +44 (0)870 5 084 210 Registered No. 3848973 England
- Registered Office: As above



























