saxby lighting 73464 Hayz Recessed LED
Installation
Existing fittings must be completely removed before installation of a new product. Before removing the existing fitting, carefully note the position of each set of wires.
- • After deciding the layout of the light fitting/s, and the position of the junction box, ensure the cables are long enough to connect to the desired positions.
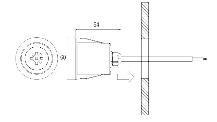
Ensure that there is some slack cable to allow removal of the unit - Cut a 50mm diameter hole in the mounting surface. The hole must be at least 110mm deep to allow the product to sit properly. Take care not to damage any pipes or cables beneath the mounting surface. Ensure that adequate room is left for the cable.
- Feed the cable of each unit through the mounting holes and check the fit of the unit in the hole.

Wiring
Having correctly identified the wiring from your existing light fitting, connect to the approved IP67 (or higher rated) terminal block in the following way (recommended terminal block ref. 61515):
Check that…
- You have correctly identified the wires.
- The connections are tight.
- No loose strands have been left out of the connection block.
Warning
This light fitting is Double Insulated and does not require connection to an Earth circuit.
- Please read these instructions carefully before commencing any work.
- This unit must be fitted by a competent and qualified electrician.
- Install in accordance with IEE Wiring regulations and current Building Regulations.
- To prevent electrocution switch off at mains supply before installing or maintaining this fitting. Ensure other persons cannot restore the electrical supply without your knowledge. If you are in any doubt, please consult a qualified electrician.
- This light fitting should be connected to a circuit with a 30mA RCD fitted.
- If replacing an existing fitting, make a careful note of the connections.
Specification
- Voltage: 240V ~ 50hz
- Lamp:
- 67361 :1.2W LED Module (SMD 3528) Daylight White (6500K) – 80lm
- 73464: 1.2W LED Module (SMD 3528) Warm White (3000K) – 80lm
- IP rating: 67
Layout
- Plan the desired layout of this fitting carefully, ensuring the cables will reach the distance between the junction box and the light fitting.
- Avoid locating any cables in positions that would cause a hazard. Position cables and outdoor rated junction boxes (not supplied) away from areas where they may be at risk from being cut, trapped or damaged.
- Suitable outdoor cables must be used and protected using suitable conduit or plastic trunking.
- We recommend that you use H05RN-F specification cable which is an outdoor grade, rubber sheathed cable. The mains supply cable must have a minimum cross sectional area of 1.0mm²
Commissioning
- • Refit the cover on the IP terminal block, ensuring that the seals are correctly located.
- • Push the unit into the hole, and adjust the cable so it does not get snagged.
- • Replace fuse or circuit breaker and switch on. Your light is now ready for use.
Fitting/replacing bulbs
- • This system contains non-replaceable parts and cannot be serviced. If damage occurs the part should be scrapped.
We recommend cleaning with a soft dry cloth. Do not use solvents or abrasive cleaners as these could damage the finish.
Recycling advice
Waste electrical products should not be disposed of with household waste. Please recycle where facilities exist. Check with your Local Authority or retailer for recycling advice.
Safety information
For your safety, always switch off the supply before cleaning. This system contains non-replaceable parts and cannot be serviced. If damage occurs the part should be scrapped.




















