saxby lighting Kios 2 LED Kit

Connectors
Check that… You have to correctly identified the wires. The connections are tight.
Technical data
Supply 240 V~, 50 Hz
Voltage: Bulb
Type: 75530-10 x 0.45W LED module (SMD), 6500K 94422-10 x 0.45W LED module (SMD), Blue
BS Plug-in LED driver Rico Electronic
Model: RKP-UK1200500DP-1
Input: 100-240V~, 50/60 Hz
Output: CV 12V, 500 mA 6W max IP20 TUV CE approved
The light source of this luminaire is not replaceable; when the light source reaches its end of life the whole luminaire shall be replaced.
- Conformity with all relevant EC Directive requirements.
- The power supply is Double Insulated and does not require connection to an Earth circuit.
- Class III product – designed to be supplied from a SELV (Separated or Safety Extra-Low Voltage) power source.
- Waste electrical products should not be disposed of with household waste. Please recycle where facilities exist. Check with your Local Authority or local store for recycling advice.
- This product is not suitable for dimming.
- This product is rated at IP44.
Care and Safety
We recommend cleaning with a soft dry cloth. Do not use solvents or abrasive cleaners as these could damage the finish. For your safety, always switch off the power supply before cleaning.
To prolong the life and condition of the product, it is recommended that periodically it is cleaned using a soft cloth followed by the application of a light coating of oil, such as WD40. Do not clean the units with a pressure washer.
Thank you for purchasing this light fitting. Please read the instruction carefully before use to ensure safe and satisfactory operation of this product. Please retain these instruction for future reference.
Warning
- Please read these instructions carefully before commencing any work
- This unit must be fitted by a competent and qualified electrician.
- Install in accordance with the IEE Wiring regulations and current Building Regulations.
- Check the pack and make sure you have all the parts listed.
- This system operates at Safety Extra Low Voltage (12V), via a transformer. Never connect the light fittings directly to the mains without using a transformer.
- Ensure that the supplied transformer is used.
- The mains plug must be situated indoors (e.g. house, garage, shed) in order to protect it from the elements.
- Do not exceed the transformer load. Transformers may require a minimum load to operate.
- Always disconnect the transformer from the mains when installing or maintaining this system.
- This system contains non-replaceable parts and cannot be serviced. If damage occurs the part should be scrapped.
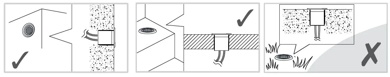
- The product is designed to be fitted horizontally and vertically in decking, walls, steps etc. It is not suitable for installation directly into the ground.
- Waste electrical products should not be disposed of with household waste. Please recycle where facilities exist. Check with your local authority or retailer for recycling advice.
Layout
Plan the desired layout of these fittings carefully, ensuring the cables will reach the distances between the indoor transformer and each light fitting. Avoid locating any cables in positions that would cause a trip hazard. Position cables away from areas where they may be at risk from being cut, trapped or damaged.

Installation
Existing fittings must be completely removed before installation of a new product. Before removing the existing fitting, carefully note the position of each set of wires.
- Note that the switch is turned off before installation.
- Maximum distance between heads is 800mm.
- Ensure the connectors are accessible for future maintenance.
- The plug-in transformer has no special protection against moisture and must be situated indoors.
- The light units are rated at IP44. Avoid positioning head units and conectors in very wet areas.
- Position the plug- in transformer next to the indoor mains outlet socket that the system will connect to. Do not plug-in at this stage.
- After deciding the layout of the light fittings, ensure the cables are long enough to connect to the desired positions.
- Drill the mounting holes for the light units taking care not to damage any pipes or mains cables beneath the mounting surface. These require a 22mm clearance hole. Ensure a minimum depth of 35mm is available.
- Feed the plug and cables of each light unit through the mounting holes and push unit into the hole to secure.
- Connect each LED light to the next LED light ensuring the arrows on connectors are facing each other and all plugs are fully fitted into the sockets. See Connectors Drawing below.
- Connect the extension cable to the transformer.
- Plug the transformer into the mains socket and switch on.




















