FREDICK RAMOND Styx 45 Inch 1 Light LED Linear Suspension Light Instruction Manual
Assembly Instructions
- Find a clear area in which you can work.
- Unpack fixture from carton
- Carefully review instructions prior to assembly.
Shut off electrical current before starting. If the fixture you are replacing is turned on and off by a wall switch, simply turn the switch off. If not, remove the appropriate fuse (or open the circuit breakers) until the fixture is dead. DO NOT restore current – either by fuse, breaker, or switch -until the new fixture is completely wired and in place.
- First it will be necessary to determine the number of stems that will be required to hang your fixture at the desired height.
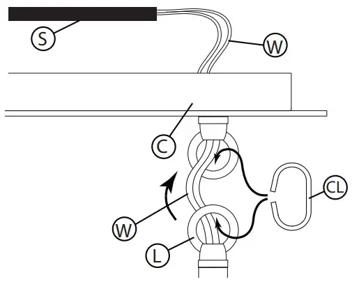
- To begin assembly, take one of the longest stems (S) and starting with the wires side, slip the wires (W) through the center of the stem. Slide the stem along the wire and thread into the top of the coupler (c) located on the center crossbar of the fixture – see Drawing 1. Continue adding stems in this fashion until the required length is achieved. Now repeat process with the other side of the fixture.

DRAWING 3 – MOUNTING - After all stems are threaded together. Take one of the loops (L) and slip the wire through the center hole and slide it along the wire and thread it onto the top of the last stem. Thread second loop onto top of other stems.
Mounting Instructions
- Find a clear area in which you can work.
- Unpack fixture from carton.
- Carefully review instructions prior to assembly.
- If the stems of the fixture have not be attached to the main body. Please do so at this time.
- Attached the loops on the canopy (C) to the loops on the top of the stems (L). This is accomplished by opening the chain link (CL) provided and slipping it through the loops, and then closing it – see DRAWING 1.

- Now slip the wires (W) from the stem through the center hole of the loop in the canopy. NOTE: the fixture is supplied with a piece of black sleeving (S). After the wires are slipped through the loops, slide the black sleeving (S) over the black and red wires and through the loops to cover them.
- Fixture is ready to installation.

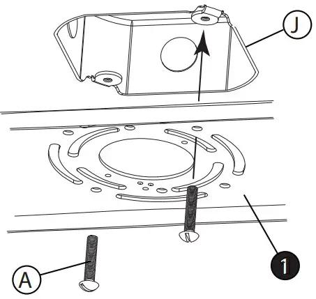
- To begin installation first remove the mounting plate (1) from the canopy (C). This is accomplished by threading the two barrel knobs (2) on the face of the canopy off – see DRAWING 3. After they are removed the mounting plate can be removed.

- Now take mounting plate (1) and attach it to the junction box (J) using two 8-32 screws NOT PROVIDED.
NOTE: The mounting plate has 4 elongated holes that can be used as additional anchor points. It is recommended that these additional anchor points be used. Make sure to use appropriate hardware for the material the mounting plate will be attached too. - Now with assistance take the assembled fixture and lift it up to the ceiling and using the hook on the end of inspection cable, attached to the inside of canopy (C), hook it into the mounting plate (1). Now slowly release the fixture until it is safely hanging from the inspection cable -see DETAIL 1.

NOTE: It is still recommend that an assistant be used to support fixture during this process. - Make all necessary electrical connections following instruction sheet (Wiring Instructions for 0-10 volt LED dimmer) provided.
SAFETY WARNING: READ WIRING AND GROUNDING INSTRUC-TIONS (Wiring Instructions for 0-10 volt LED dimmer) AND ANY ADDITIONAL DIRECTIONS. TURN POWER SUPPLY OFF DURING INSTALLATION. IF NEW WIRING IS REQUIRED, CONSULT A QUALIFIED ELECTRICIAN OR LOCAL AUTHORITIES FOR CODE REQUIREMENTS. - To mount canopy (C) to ceiling, align holes (H) in the canopy with screws (B) in mounting plate (1) and slip screws through holes. Hold canopy against the ceiling and thread on barrel knobs (2) and tighten them up against the canopy until it is secure against ceiling.
- Wiring and installation is complete and power can be restored.
Wiring Instructions for 0-10 volt LED dimmer
Your fixture is designed so it can use a standard incandescent dimmer, Or a 0-10 volt LED dimmer. If a 0-10 volt LED dimmer is used, it may be necessary to have additonal wiring installed from the dimmer switch to the fixture. Consulting an electrician will be necessary.
- If using the optional 0-10 volt dimmer there will be four wires exiting the junction box. (B) Black [+], (W) White [-], wirng are for the 120 / 277 voltage. The (G) Gray/Pink {-} and (P) Purple {+} are for the 0-10 volt wires from the dimmer (D) – see Drawing 1.
- The fixture has four wires of corresponding colors. When make the wire connections follow the chart below.

Black (B) from junction box (J) wired to Black (B) from fixture . White (W) from junction box (J) wired to White (W) from fixture. Gray/Pink (G) from junction box (J) wired to Gray/ pink (G) from fixture. Purple (P) from junction box (J) wired to Purple (P) from fixture.
Connect ground wire from fixture to ground screw on mounting
hardware.
INCANDESCENT DIMMER USAGE
If using an incadescent dimmer follow manufactures instructions.
NOTE: MAKE SURE TO CAP OFF THE GRAY/PINK AND PURPLE WIRE FROM THE FIXTURE INSIDE THE CANOPY. IF THEY ARE NOT CAPPED THEY CAN SHORT OUT AND CAUSE THE FIXTURE TO FAIL.
Support
A Division of Hinkley Lighting, Inc.
33000 PIN OAK PARKWAY
AVON LAKE, OHIO 44012
toll free 800.446.5539
phone 440.653.5500























