FREDRICK RAMOND FR41465 Reign Five Light LED Linear Instruction Manual
Assembly Instructions
- Find a clear area in which you can work.
- Unpack fixture and glass from carton.
- Carefully review instructions prior to assembly.
Shut off electrical current before starting. If the fixture you are replacing is turned on and off by a wall switch, simply turn the switch off. If not, remove the appropriate fuse (or open the circuit breakers) until the fixture is dead.• DO NOT restore current – either by fuse, breaker, or switch – until the new fixture is completely wired and in place.
- Determine the desired height the pendant will be installed.
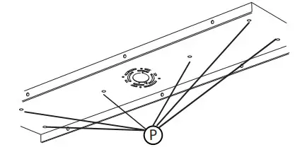
- The fixture is supplied with assorted stem sizes. Determine what combinations of stems are needed to achieve desired length – see Drawing 1.

- Slip stems over wire and thread first stem onto top of pendant, longest stem first. Repeat this process until all required stems are threaded together.
- Slip wire through center hole of canopy swivel and thread swivel onto the top of the last stem installed.
SAFETY WARNING: READ WIRING AND GROUNDING INSTRUCTIONS (I.S. 18) AND ANY ADDITIONAL DIRECTIONS. TURN POWER SUPPLY OFF DURING INSTALLATION. IF NEW WIRING IS REQUIRED, CONSULT A QUALIFIED ELECTRICIAN OR LOCAL AUTHORITIES FOR CODE REQUIREMENTS.
Make electrical connections from supply wire to fixture lead wires. Refer to instruction sheet (LS. 18) and follow all instructions to make all necessary wiring connections. Then refer back to this sheet to complete installation of this fixture.
- To install shades first remove end cap (W)
- Place shade (Z) onto glass holder (V)
- Next put silicone ring (Y) onto holder (V). Keep alternating between placing glass shades and silicone rings on the holder until all shade and rings are on the holder –DRAWING 2

Mounting Plate Installation Instructions
IMPORTANT: THIS FIXTURE IS IN EXCESS OF 30 LBS. AND IT IS RECOMMENDED THAT THIS FIXTURE BE MOUNTED INDEPENDENTLY OF THE JUNCTION BOX. THE MOUNTING PLATE MUST BE MOUNTED TO THE CEILING USING APPROPRIATE MOUNTING HARDWARE AND BE MOUNTED TO A JOIST OR OTHER STRUCTURE THAT WILL PROPERLY SUPPORT THE WEIGHT.
ADDITIONAL ANCCHOR POINTS
NOTE: USE THE APPROPRIATE HARDWARE FOR ANCHORING. DIFFERENT MATERIALS REQUIRE DIFFERENT HARDWARE. IT IS UP TO THE INSTALLER TO ACQUIRE THE REQUIRED HARDWARE AND TO ENSURE THE FIXTURE IS INSTALLED INDEPENDENTLY OF THE JUNCTION BOX.
INSPECTION CABLES
This luminaire is supplied with an inspection that can be hooked to the canopy to ease the wiring process during installation –See drawing 1
To attach inspection cable, lift the fixture up, assistance is recommended, and hook the cable from the mounting plate to the tab in the canopy. After attaching the cable the fixture can hang while the wiring is completed.
After wiring is completed see mounting instructions supplied to finish installation
Mounting Instructions
- Find a clear area in which you can work.
- Unpack fixture and glass from carton.
- Carefully review instructions prior to assembly.
- If the stems of the fixture have not be attached to the main body. Please do so at this time.
- Attached the loops on the canopy (C) to the loops on the top of the stems (L). This is accomplished by opening the chain link (CL) provided and slipping it through the loops, and then closing it – see DRAWING 1.

- Now slip the wire (W) from the stem through the center hole of the loop in the canopy. Fixture is ready to installation.
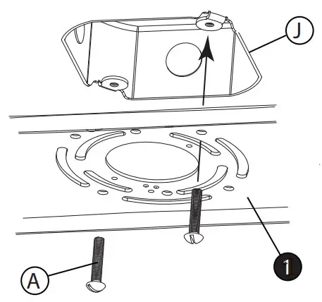
- To begin installation first remove the mounting plate (1) from the canopy (C). This is accomplished by threading the eight screws from (2) on the side of the canopy off – see DRAWING 3.


After they are removed the mounting plate can be removed. - Now take mounting plate (1) and attach it to the junction box (J) using two 8-32 screws NOT PROVIDED.
NOTE: The mounting plate has 6 elongated holes that can be used as additional anchor points. It is recommended that these additional anchor points be used. Make sure to use appropriate hardware for the material the mounting plate will be attached too. - To assemble fixture it is necessary to first remove the swivel (S) from the canopy (D) — see Drawing 1.
- This is accomplished by removing hex nut (N) and lock washer (L) from the threaded portion of swivel (S). Now take removed swivels and thread them onto the top of the last installed stem.
- Now take and attach one of the fixtures assembled previously to the canopy using the lockwasher and hex nut removed earlier. Repeat process with remaining fixtures.
- Now with assistance take the assembled fixture and lift it up to the ceiling and using the hook on the end of inspection cable (I), attached to the inside of canopy (C), hook it into the mounting plate (1). Now slowly release the fixture until it is safely hanging from the inspection cable -see DETAIL 1.

NOTE: It is still recommend that an assistant be used to support fixture during this process. - Make all necessary electrical connections following instruction sheet (IS18) provided.
- To begin installation first remove the mounting plate (1) from the canopy (C). This is accomplished by threading the eight screws from (2) on the side of the canopy off – see DRAWING 3.
SAFETY WARNING: READ WIRING AND GROUNDING INSTRUCTIONS (I.S. 18) AND ANY ADDITIONAL DIRECTIONS. TURN POWER SUPPLY OFF DURING INSTALLATION. IF NEW WIRING IS REQUIRED, CONSULT A QUALIFIED ELECTRICIAN OR LOCAL AUTHORITIES FOR CODE REQUIREMENTS.
- To mount canopy (C) to ceiling, align holes (H) in the canopy with holes (B) in mounting plate (1) and thread screws in removed earlier.
- Wiring and installation is complete and power can be restored.
wiring grounding instructions
SAFE TY WARNI NG: READ WIRIN G AND GR OUNDING INSTRUCTIO NS (IS 18) AND ANY ADDITIONAL DIRECTIONS. TURN POWER SUPPLY OFF DURING INSTALLATION. IF NEW WIRING IS REQUIRED, CONSU LT A QUALIFIED ELECTRICIAN OR LOCAL AUTHORITIES FOR CODE REQUIREMENTS
wiring instructions
Indoor Fixtures
- Connec t positi ve supp ly wir e (A ) (typical ly black or the smoo th, unma rked side of the two-conduc tor cord) to positi ve fi xture lead (B ) wit h ap propri ately sized t wist on connec tor – see Drawings 1 o r 2.
- Connec t nega ti ve supp ly wi re (C) (t ypica lly white or the ribbed , marked side of the two-conduc tor cord) to nega tive fi xture lead (D).
- Ple ase refe r to the grounding instructions below to complet e all electrical connec tion s
Outdoor Fixtures
- Connec t positi ve supp ly wir e (A) (typical ly black or the smoo th unma rked side of the two-conduc tor cord) to positi ve fi xture lead (B) wit h ap propri ately sized twist on connec tor — see Drawings 2 or 3.
- Connec t nega ti ve supp ly wi re (C) (t ypica lly white or the ribbed , marked side of the two-conduc tor cord) to nega tive fi xture lead (D).
- Cove r open end of connec tor s wit h silicone sealant to fo rm a wate rt ight seal.
If installing a wall moun t fi xture, use cau lk to seal gaps between the fi xture mo unting p late (backpla te) and the wall. This will he lp prevent wa ter fr om en tering the out let box . If the wal l sur face is lap siding, use cau lk and a fi xture moun ti ng plat form specially. - Ple ase refe r to the grounding instructions below to complet e all electrical connec tion s.
grounding instructions
Flush Mount Fixtures
For positive ground ing in a 3-wir e elect ri cal system, fasten the fi xture ground wir e ( E) (typ ically coppe r or green plasti c coated) to the fi xture moun ti ng strap (M ) wit h the ground screw ( S) – see Drawin g 1.”
Note: On straps for screw supported fixtures, first install the two mounting screws in strap. Any remaining tapped hole may be used for the ground screw.
Chain Hung Fixtures
Loop fi xture ground wir e ( E ) (typically coppe r or green plast ic coa ted) unde r the head of the ground screw ( S ) on fi xture mo unting strap ( M ) and connec t to the l oo se end of the fi xture ground wire directly to the ground wir e of the building system wit h ap propri ately sized twist-on connec tors – see Drawing 2.
Post-Mou nt Fixtures
Connec t fi xture ground wir e ( E ) (typical ly copper or green plastic coa ted) to power supp ly ground wit h app ropri ately sized twi st-on connec tor inside post. Cove r open end of connec tor wi th silicone sealant to form a wate rt ight seal – see Drawing 3.






















