HINKLEY 38895 20W 4 LED Extra Large Convertible Light

Mounting Instructions
Item No: 38895
- Find a clear area in which you can work.
- Unpack the fixture and glass from the carton.
- Carefully review instructions prior to assembly.
Note: This fixture can be installed either as a flush or pendant mount. Use small 4″ stem to mount as a flush or follow stem assembly instructions below to mount as pendent
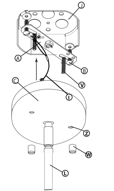
- Determine the desired height the pendant will be installed.
- The fixture is supplied with assorted stem sizes. Determine what combinations of stems are needed to achieve the desired length see Drawing 1 and 2 for part reference.
- Slip stems over wire and thread first stem onto top of pendant, longest stem first. Repeat this process until all required stems are threaded together. Line the desired height the pendant will be installed.
- Slide canopy (C) over stems
- Now slip wires through the center hole in the swivel attached to the mounting strap (A). Then thread swivels into top of last stem.

- Use screws (B) to secure mounting strap (A) to junction box (J)
- Slide canopy (C) up stem (L) towards ceiling canopy screws (V) should slip though holes in canopy (Z)
- Hook inspection cable (1) to mounting strap (A)
- Use IS 18 to complete wiring
- Use barrel knobs (w) to secure canopy (C)
Shade Assembly
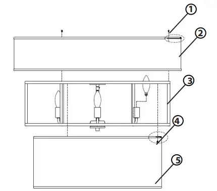
- Before installing shade lamp fixture using appropriate E12 base bulb
- To install shade secure inner shade (5) to main body of fixture (3) using screws (4)
- To install shade secure outer shade (2) to main body of fixture (3) using screws (1)
Note: both the smaller and larger shade have tabs (6) on the inner ring on the shade to insert the screws into -DRAWING 4
SAFETY WARNING: READ WIRING AND GROUNDING INSTRUCTIONS (IS 18) AND ANY ADDITIONAL DIRECTIONS. TURN THE POWER SUPPLY OFF DURING INSTALLATION. IF NEW WIRING IS REQUIRED, CONSULT A QUALIFIED ELECTRICIAN OR LOCAL AUTHORITIES FOR CODE REQUIREMENTS
Wiring instructions
Indoor Fixtures
- Connect positive supply wire (A) (typically black or the smooth, unmarked side of the two-conductor cord) to positive fixture lead (B) with appropriately sized twist on connector – see Drawings 1 or 2.
- Connect negative supply wire (C) (typically white or the ribbed, marked side of the two-conductor cord) to negative fixture lead (D).
- Please refer to the grounding instructions below to complete all electrical connections
Outdoor Fixtures
- Connect positive supply wire (A) (typically black or the smooth unmarked side of the two-conductor cord) to positive fixture lead (B) with appropriately sized twist on connector — see Drawings 2 or 3.
- Connect negative supply wire (C) (typically white or the ribbed, marked side of the two-conductor cord) to negative fixture lead (D).
- Cover open end of connectors with silicone sealant to form a watertight seal.
- If installing a wall mount fixture, use caulk to seal gaps between the fixture mounting plate (backplate) and the wall. This will help prevent water from entering the outlet box. If the wall surface is lap siding, use caulk and a fixture mounting platform specially.
- Please refer to the grounding instructions below to complete all electrical connections.
Grounding instructions
Flush Mount Fixtures
For positive grounding in a 3-wire electrical system, fasten the fixture ground wire (E) (typically copper or green plastic coated) to the fixture mounting strap (M) with the ground screw (S) – see Drawing 1.
Note: On straps for screw-supported fixtures, first install the two mounting screws in the strap. Any remaining tapped hole may be used for the ground screw.
Chain Hung Fixtures
Loop fixture ground wire (E) (typically copper or green plastic coated) under the head of the ground screw (S) on the fixture mounting strap (M) and connect to the loose end of the fixture ground wire directly to the ground wire of the building system with appropriately sized twist-on connectors – see Drawing 2.
Post-Mount Fixtures
Connect fixture ground wire (E) (typically copper or green plastic coated) to the power supply ground with an appropriately sized twist-on connector inside post. Cover the open end of the connector with silicone sealant to form a watertight seal – see Drawing 3
HINKLEY 33000 Pin Oak Parkway, AvonLake, OH 44012800446 . 55 39 / 440.653 . 55 00 hinkley.com





















