HINKLEY 45037 LED Extra Small Pendant

Shut off the electrical current before starting. If the fixture you are replacing is turned on and off by a wall switch, simply turn the switch off. If not, remove the appropriate fuse (or open the circuit breakers) until the fixture is dead. DO NOT restore current either by fuse, breaker, or switch until the new fixture is completely wired and in place.
Stem Assembly
- Determine the desired height the pendant will be installed.
- The fixture is supplied with assorted stem sizes. Determine what combinations of stems are needed to achieve the desired length – see Drawing 1 and 2 for part reference.
- Slip stems over the wire and threads the first stem onto the top of the pendant, the longest stem first. Repeat this process until all required stems are threaded together.
- Next slide the screw collar ring (S) along the wire and over the stems, followed by the canopy (C).
- Now slip wires through the center hole in the swivel attached to the
mounting strap (A). Then thread swivels into the top of the last stem. The pendant is now ready for mounting.
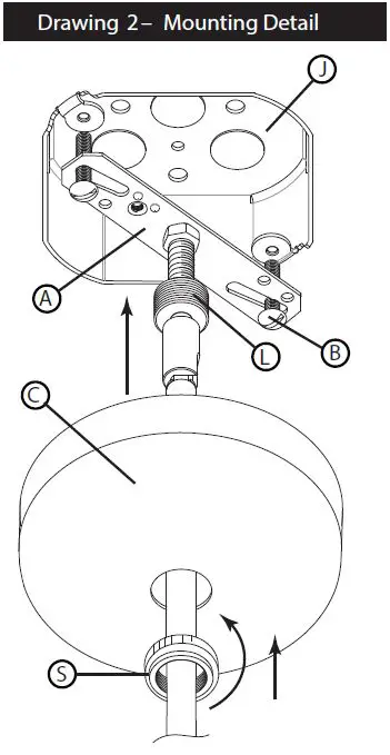
Mounting Detail
- To mount assembled pendant body to the ceiling, first, make all the necessary wiring connections using the instruction sheet IS18 provided.
- After all wiring connections are complete, tuck all wires into junction box (J) – see Drawing 2.
- Now attach the mounting strap (A) to junction box (J) using two screws (B) NOT PROVIDED.
NOTE: the back of the mounting strap (A) should be flush against the ceiling. It should not be recessed into the ceiling or off the ceiling surface. - Next slip canopy (C) up against the ceiling and thread screw collar (S) onto the exposed portion of threaded section (L) and tighten to secure the canopy to the ceiling.
- Refer to assembly instructions for attaching glass to the pendant body.

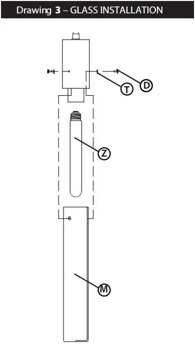
GLASS INSTALLATION
- Lamp fixture using appropriate medium base bulb (Z)
- Next use knobs (D) and plastic washers (T) to secure glass
- Fixture can now be powered on

Wiring Instructions
Indoor Fixtures
- Connect positive supply wire (A ) (typically black or the smooth, unmarked side of the two-conduc tor cord) to positive fixture lead (B) with an appropriately sized twist on the connector – see Drawings 1 or 2.
- Connect negative supply wire (C) (typically white or the ribbed, marked side of the two-conductor cord) to negative fixture lead (D).
- Please refer to the grounding instructions below to complete all electrical connections

Outdoor Fixtures
- Connect positive supply wire (A) (typically black or the smooth
unmarked side of the two-conductor cord) to positive fixture lead (B) with an appropriately sized twist on the connector — see Drawings 2 or 3. - Connect negative supply wire (C) (typically white or the ribbed, marked side of the two-conductor cord) to negative fixture lead (D).
- Cover the open end of connectors with silicone sealant to form a
watertight seal.
If installing a wall mount fixture, use caulk to seal gaps between the fixture mounting plate (backplate) and the wall. This will help prevent water from entering the outlet box. If the wall surface is lap siding, use caulk and a fixture mounting platform especially. - Please refer to the grounding instructions below to complete all electrical connections.

Grounding Instructions
Flush Mount Fixtures
For positive grounding in a 3-wire electrical system, fasten the fixture ground wire (E) (typically copper or green plastic coated) to the fixture mounting strap (M ) with the ground screw (S) – see Draw in g 1.
Note: On straps for screw supported fixtures, first install the two mounting screws in the strap. Any remaining tapped hole may be used for the ground screw.
Chain Hung Fixtures
Loop fixture ground wire (E) (typically copper or green plastic coated) under the head of the ground screw (S) on the fixture mounting strap (M) and connect to the loose end of the fixture ground wire directly to the ground wire of the building system with appropriately sized twist-on connectors – see Draw in g 2.
Post-Mount Fixtures
Connect fixture ground wire (E) (typically copper or green plastic coated) to the power supply ground with an appropriately sized twist-on connector inside the post. The cover opens the end of the connector with silicone sealant to form a watertight seal – see Drawing 3.
HINKLEY
33000 Pin Oak Parkway, Avon Lake, OH 44012 800.446.5539 / 440.653.5500 hinkley.com.






















