HINKLEY FR30618LCB LED Linear Pendant Instruction Manual
DRAWING 1- Stem assembly

- Find a clear area in which you can work.
- Unpack fixture and glass from carton.
- Carefully review instructions prior to assembly.
- Determine the desired height the pendant will be installed.
- The fixture is supplied with assorted stem sizes. Determine what combinations of stems are needed to achieve desired length – see Drawing 1.
- Slip stems over wire and thread first stem onto top of pendant, longest stem first. Repeat this process until all required stems are threaded to get
- Slip wire through center hole of canopy swivel and thread swivel onto the top of the last stem in
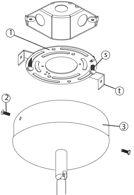
DRAWING 2- Fixture mounting

- First attach mounting bracket (1) to the junction box using two 8-32 screws (s) NOT Provided.
- Next with assistance lift fixture up to ceiling and make remaning electrical connections following instruction sheet (FRIS-18-LED).
- After wiring connections are complete lift fixture up and slip canopy (3) over mounting tabs (t) and align holes in side of canopy with threaded holes in tabs (t).
- Now take screws (2) removed earlier and thread them into the holes in the tabs to secure caonpy to mounting bracket.
DRAWING 3-LED assembly

- Connect LED connector (Z) with connector inside fixture (K)
- To secure LED module (A) insert module into slot in the center of fixture (B)
- Secure module using the two screws (M)
- Repeat processs for the rest of the modules
- Fixture can now be powered on
Wiring Instructions FRIS-18-LED

IMPORTANT: DO NOT ATTACH THE BLACK OR RED WIRES FROM THE FIXTURE STEMS OR DRIVER TO THE SUPPLY WIRES COMING FROM THE JUNCTION BOX. IT WILL DAMAGE THE LEDS AND DRIVER.
FIXTURE WILL HAVE TO BE REPLACED AT CUSTOMERS EXPENSE.
STEP 1 connect the red wire (1) exiting the wire cable (S), to the red wire on the driver (2) located in the canopy – see DRAWING 1.
STEP 2 next to the red wire on the driver, there is a black
wire (3). Connect this wire to the black wire (4) exiting from the wire cable (S).
STEP 3 on the driver there is a black (5) and white (6) wire next to each other. Connect the white wire (6) from the driver to the white wire (7) coming from the junction box (J).
STEP 4 to complete the wiring, connect the black wire (8) from the junction box (J), to the black wire (5) from the driver.
STEP 5 connect ground wire to mounting plate, using the green ground screw, or to the ground wire exiting the junction box
















