HINKLEY 83056 Pendant Light

Stem Install

- Determine the desired height at which the pendant will be installed
- The fixture is supplied with assorted stem sizes. Determine what combination of stems are needed to achieve desired length
- Slip stems over wire and thread first stem onto top of the pendent, longest stem first. Repeat process until all required stems are thread together. together.

- To assemble glas lift glass (4) towards glass cage (5)
- Next insert barrel knob (2) and barrel lock nut into the holes on the top of the glass
- Next insert screw (1) into barel lock nut (3) to secure glass (4)
- Fixture can now be lamped and powered on
CANOPY ASSEMBLY
- Find a clear area in which you can work.
- Unpack fixture and glass from carton.
- Carefully review instructions prior to assembly.

- After canopy swivel (L) is threaded onto the top of the last stem, the canopy swivel can be attached to the canopy.
- This is accomplished by slipping threaded canopy swivel (T) through the large holes (H) that align with the stems and thread into the canopy swivel (L).
- Next slip lock washer (3) and safety cable (X) over threaded tube (T) and then thread on hex nut (4) and tighten.
- Thread stem(s) (Z) onto canopy swivel (L) -see page one
- Then repeat this process for other side of canopy, but note tube, lock washer and hex nut must be slipped over the fixture wire first.
MOUNTING

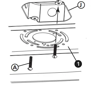
- To begin mounting your fixture to the ceiling, it is necessary to install the retainer plate (1) to the junction box (J). This is accom plished by first using two screwS (A), not provided see Drawing 2.
PLEASE NOTE: The fixture is provided with additional mounting screws (S) that can be used to anchor the ends of the retainer plate to the ceiling. It is recommended they be used. Other anchoring hardware can be used, but any alternate hardware, must be purchased by the customer see Drawing 3. - Attach safety cable (X) to mounting plate.
- To attach canopy to retainer plate slip screws (B) through holes (H) in canopy. Then thread on barrel knobs.

Wiring instructions
Indoor Fixtures

- Connect positive supply wire (A) (typically black or the smooth, unmarked side of the two-conductor cord) to positive fixture lead (B) with appropriately sized twist on connector – see Drawings 1 or 2.
- Connect negative supply wire (C) (typically white or the ribbed, marked side of the two-conductor cord) to negative fixture lead (D).
- Please refer to the grounding instructions below to complete all electrical connections.
Outdoor Fixtures

- Connect positive supply wire (A) (typically black or the smooth unmarked side of the two-conductor cord) to positive fixture lead (B) with appropriately sized twist on connector — see Drawings 2 or 3.
- Connect negative supply wire (C) (typically white or the ribbed, marked side of the two-conductor cord) to negative fixture lead (D).
- Cover open end of connectors with silicone sealant to form a watertight seal. If installing a wall mount fixture, use caulk to seal gaps between the fixture mounting plate (backplate) and the wall. This will help prevent water from entering the outlet box. If the wall surface is lap siding, use caulk and a fixture mounting platform specially.
- Please refer to the grounding instructions below to complete all electrical connections.
Grounding instructions

Flush Mount Fixtures
For positive grounding in a 3-wire electrical system, fasten the fixture ground wire (E) (typically copper or green plastic coated) to the fixture mounting strap (M) with the ground screw (S) – see Drawing 1.
Note: On straps for screw supported fixtures, first install the two mounting screws in strap. Any remaining tapped hole may be used for the ground screw.
Chain Hung Fixtures
Loop fixture ground wire (E) (typically copper or green plastic coated) under the head of the ground screw (S) on fixture mounting strap (M) and connect to the loose end of the fixture ground wire directly to the ground wire of the building system with appropriately sized twist-on connectors – see Drawing 2.
Post-Mount Fixtures
Connect fixture ground wire (E) (typically copper or green plastic coated) to power supply ground with appropriately sized twist-on connector inside post. Cover open end of connector with silicone sealant to form a watertight seal – see Drawing 3.

















