FR30811BNG LED Pendant
Instruction Manual
FR30811BNG LED Pendant
Drawin g 1 – Stem Assembly
Drawin g 2 – Fixture mounting 
Mounting Instructions
Item No: 30811
start here
- Find a clear area in which you can work.
- Unpack fixture and glass from carton.
- Carefully review instructions prior to assembly.
Shut off electrical current befoer starting If the fixture you are replacing is turned on and off by a wall switch, simply turn the switch off. If not, remove the appropriate fuse (or open the circuit breakers) until the fixture is dead.• DO NOT restore current – either by fuse, breaker, or switch -until the new fixture is completely wired and in place.
- Feed wire through stem (S) or stems and canopy (L).
- Secure stems together if needed. Note fixture is supplied with multiple stem not all stems have to be used.
- Secure bottom stem (S) to coupler (Z) at the top of of fixture.
- Secure top stem to canopy
- Wiring and mounting of fixture can now be started.
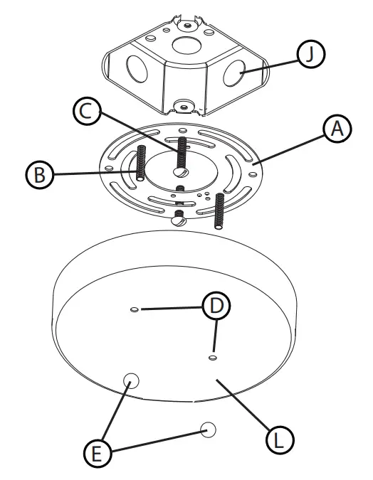
- To begin installation of your fixture. Prepare mounting strap (A) by threading the two long mounting screws (B) into the back of the mounting strap. The side of the mounting strap that the head of the ground screw is on, is the front – see Drawing 1. • Be sure the holes into which the screws are threaded match the spacing of holes (D) in the back plate (E).
- Attach mounting strap (A) to junction box (J) using two screws (C) NOT PROVIDED.
- Now take assembled fixture body and make all necessary wiring connections following instruction sheet IS-18 provided.
- After all wiring connection are made. To mount the fixture to ceiling, slip the two mounting screws (B) through the two mounting holes (D) in the backplate (E) – see Drawing 1. 5. While holding fixture in place, thread the two ball knobs (F) on to the end of the mounting screws (B), and tighten.
Drawing 1 – Flush Mount
Drawing 2 – Chain Hung
Drawing 3 – Post-Mount
I.S. 18 wiring grounding instructions
SAFETY WARNING: READ WIRING AND GROUNDING INSTRUCTIO NS (IS 18) AND ANY ADDITIONAL DIRECTIONS. TURN POWER SUPPLY OFF DURING INSTALLATION. IF NEW WIRING IS REQUIRED, CONSULT A QUALIFIED ELECTRICIAN OR LOCAL AUTHORITIES FOR CODE REQUIREMENTS
wiring instructions
Indoor Fixtures
1. Connect positive supply wire (A I (typically black or the smooth, Loma tked side of the two-conduc for cord) to positive fixture lead (8) with appropriately sized twist on connec for – see Dra wings I or 2.
2. Connect negative supply wire (C) (typically white or the ribbed, marked side of the two-conductor cord) to negative fixture lead (D).
3. Please refer to the grounding Initructions below to complete all electrical connec tions
Outdoor Fixtures
- Connect positive supply wire (A) (typically black or the smooth mime rked side of the two-conduc for cord) to positive fixture lead (8) with appropriately sized twist on connec for – see Drawings 2 or 3.
- Connect negative supply wire (C) (typically white or the ribbed. marked side of the two-conductor cord) to negative fixture lead (D).
- Cover open end of connec tors with silicone sealant to form a watertight seal.
If installing a wall mount fixture, use caulk to seal gaps between the fixture mounting plate (backpla tel and the wall. This will help prevent water from entering the outlet box. If the wall surface is lap siding, use caulk and a fixture mounting platform specially. - Please refer to the grounding Instructions below to complete all electrical connec tions.
grounding instructions
Flush Mount Fixtures
For positive ground ing in a 3-wire electrical system, fasten the fixture ground wire (El (typically copper or green plastic coated) to the fixture mounting strap (M ) with the ground screw (5) – see Draw in g I. NOW. On straps for screw supported fixtures, first install the two mounting screws in strap. Any remaining tapped hole may be used for the ground screw.
Chain Hung Fixtures
Loop fixture ground wire (El (typicallycoppe r Of green plastic coated) under the head of the ground screw (S) on fixture mounting strap (M) and connec t to the loose end of the fixture ground wire directly to the ground wire of the building system with appropriately sized twist-on connectors – see Draw in g 2.
Post-Mou nt Fixtures
Connect fixture ground wire (El (typically copper or green plastic coated) to power supply ground with appropriately sized twist-on connec tor inside post. Cover open end of connec tor with silicone sealant to form a watertight seal – see Drawing 3.
(AGAVE) UNPACKAGING STEP PROCESS
![]() | ![]() | ![]() |
| 1. COMPLETE PACKAGING | 2. UNPACKED THE BOX | 3. REMOVE FIXTURE OUT FROM THE BOX AND TURN IT UPSIDE DOWN. |
![]() | ![]() | ![]() |
| 4. UNPACKED THE LEAD WIRE | 6. CUT THE PLASTIC TWINE STRAW AT 4 CORNER | 6. UNSCREW THE TOP BRACE |
![]() | ![]() | ![]() |
| 7. REMOVE THE TOP BRACE | 8. UNSCREW AND REMOVE TOP LOOP | 9. SLIP WIRE OVER THE STEM |
![]() | ![]() | ![]() |
| 10. THREAD THE STEM INTO FIXTURE | 11. THREAD THE LOOP INTO STEM | 12. CUT THE REST OF PLASTIC TWINE |
13. LIFT THE FIXTURE OUT FROM THE CRATE BY HOLDING AT THE STEM
14. FIND A PLACE TO HANG THE FIXTURE TEMPORARILY AND REMOVE ALL THE INSERTS AT THE LEAVES.
Note: DO NOT LAY THE FIXTURE LAY ON THE FLOOR. BOTTOM LEAVES MAY DIS•LIGNED. 


























