Assembly Instructions
Item No: 83417
LED Pendant
Instruction Manual
start here
- Find a clear area in which you can work.
- Unpack fixture and glass from carton.
- Carefully review instructions prior to assembly.
DRAWING 1- Stem install
Stem Install
- Determine the desired height at which the pendent will be installed
- The fixture is supplied with assorted stem sizes. Determine what combination of stems are needed to achieve desired length
- Slip stems over wire and thread first stem onto top of pendent longest stem first. Repeat process until all required stems are thread together.
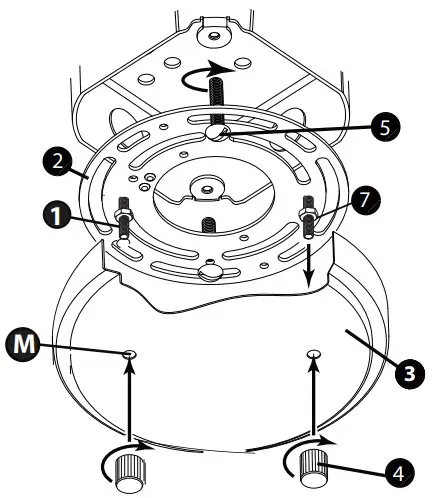
DRAWING 2 – Mounting
- Thread two long 8-32 screws (1) into the mounting strap (2).
NOTE: The two screws must be threaded into holes that match the mounting hole spacing (M) on the canopy (3) – see Drawing 2. - Attach the mounting strap (2) to the junction box with two 8-32 x 1 inch machine screws (5) [NOT PROVIDED]. Previously installe screws can be used.
- Make electrical connections following instruction sheet (15-18) provided.
- Assistance is recommended during installation of the fixture to the ceiling.
- To install fixture, first lift assembled fixture up to ceiling and slip screws (1) on mounting bracket through holes (M) in canopy (3). Secure fixture to ceiling by threading barrel knobs (4) onto end of screws (1) and tightening.
NOTE: Adjust mounting screws (1) to proper length then tighten hex nut (7) against the mounting plate (2) to secure screws.
Lift glass (G) up to main body of fixture (B) and twist and turn to lock into place
DRAWING 3 – GLASS INSTALLATION
I.S. 18 wiring grounding instructions
SAFETY WARNING: READ WIRING AND GROUNDING INSTRUCTIONS (IS 18) AND ANY ADDITIONAL DIRECTIONS. TURN POWER SUPPLY OFF DURING INSTALLATION. IF NEW WIRING IS REQUIRED, CONSULT A QUALIFIED ELECTRICIAN OR LOCAL AUTHORITIES FOR CODE REQUIREMENTS
Drawing 1 – Flush Mount 
wiring instructions
Indoor Fixtures
- Connect positive supply wire (A) (typically black or the smooth, unmarked side of the two-conductor cord) to positive fixture lead (B) with appropriately sized twist on connector – see Drawings 1 or 2.
- Connect negative supply wire (C) (typically white or the ribbed, marked side of the two-conductor cord) to negative fixture lead (D).
- Please refer to the grounding instructions below to complete all electrical connections
Outdoor Fixtures
- Connect positive supply wire (A) (typically black or the smooth unmarked side of the two-conductor cord) to positive fixture lead (B) with appropriately sized twist on connector – – – see Drawings 2 or 3.
- Connect negative supply wire (C) (typically white or the ribbed, marked side of the two-conductor cord) to negative fixture lead (D).
- Cover open end of connectors with silicone sealant to form a watertight seal.
If installing a wall mount fixture, use caulk to seal gaps between the fixture mounting plate (backplate) and the wall. This will help prevent water from entering the outlet box. If the wall surface is lap siding, use caulk and a fixture mounting platform specially. - Please refer to the grounding instructions below to complete all electrical connections.
Drawing 2 – Chain Hung 
grounding instructions
Flush Mount Fixtures
For positive grounding in a 3-wire electrical system, fasten the fixture ground wire (E) (typically copper or green plastic coated) to the fixture mounting strap (M) with the ground screw (S) – see Drawing 1.
Note: On straps for screw supported fixtures, first install the two mounting screws in strap. Any remaining tapped hole may be used for the ground screw.
Chain Hung Fixtures
Loop fixture ground wire (E) (typically copper or green plastic coated) under the head of the ground screw (S) on fixture mounting strap (M) and connect to the loose end of the fixture ground wire directly to the ground wire of the building system with appropriately sized twist-on connectors – see Drawing 2.
Post-Mount Fixtures
Connect fixture ground wire (E) (typically copper or green plastic coated) to power supply ground with appropriately sized twist-on connector inside post. Cover open end of connector with silicone sealant to form a watertight seal – see Drawing 3.
Drawing 3 – Post-Mount 
33000 PIN OAK PARKWAY,
AVON LAKE, OH 44012
LarkLiving.com














