
83257 Simon 1 Light 13 Inch Wide Pendant Light
Instruction Manual
83257 Simon 1 Light 13 Inch Wide Pendant Light
Mounting Instructions
DRAWING 1 – Glass Installation

DRAWING 2 – Glass Installation

Start here
- Find a clear area in which you can work.
- Unpack fixture and glass from carton.
- Carefully review instructions prior to assembly.
Fixture Mounting
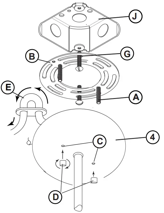
- Prepare mounting strap (B) for mounting by installing screws (A) in mounting plate (B) – see Drawing 1.
- Be sure the holes into which the screws are threaded mat spacing of holes (C) in the canopy (4). Attach mounting plate (B) to junction box (J), using screws (G) NOT provided and slip supply wires through large center hole
- Now take strain relief (e) and move it along the wire cable until it touches the canopy. Make sure it is looped through as illustrated in DRAWING 1. Check length again for accuracy.
- Make electrical connections from supply wire to fixture lead wires. Refer to instruction sheet (IS 18)and follow all instructions to make all necessary wiring connections.
- Hang the fixture by slipping mounting holes (C) in canopy (4) over screws (A) and holding in position -see Drawing 1
SAFETY WARNING: READ WIRING AND GROUNDING INSTRUC-TIONS (FRIS-18) AND ANY ADDITIONAL DIRECTIONS. TURN POWER SUPPLY OFF DURING INSTALLATION. IF NEW WIRING IS REQUIRED. CONSULT A QUALIFIED ELECTRICIAN OR LOCAL AUTHORITIES FOR CODE REQUIREMENTS.
Glass install
- Insert shade (2) onto threaded socket (1).
Note: The small up with the socket. the shade in place - Secure socket cup (3) to threaded socket (1) this will lock
- Fixture can now be lamped and powered on
Drawing 1 – Flush Mount

Drawing 2 – Chain Hung

Drawing 3 – Post-Mount

I.S. 18 wiring grounding instructions
SAFETY WARNING: READ WIRING AND GROUNDING INSTRUCTIONS (IS 18) AND ANY ADDITIONAL DIRECTIONS.
TURN POWER SUPPLY OFF DURING INSTALLATION. IF NEW WIRING IS REQUIRED, CONSULT A QUALIFIED ELECTRICIAN OR LOCAL AUTHORITIES FOR CODE REQUIREMENTS
wiring instructions
Indoor Fixtures
- Connect positive supply wire (A) (typically black or the smooth, unmarked side of the two-conductor cord) to positive fixture lead (B) with appropriately sized twist on connector – see Drawings 1 or 2.
- Connect negative supply wire (C) (typically white or the ribbed, marked side of the two-conductor cord) to negative fixture lead (D).
- Please refer to the grounding instructions below to complete all electrical connections
Outdoor Fixtures
- Connect positive supply wire (A) (typically black or the smooth unmarked side of the two-conductor cord) to positive fixture lead (B) with appropriately sized twist on connector – – – see Drawings 2 or 3.
- Connect negative supply wire (C) (typically white or the ribbed, marked side of the two-conductor cord) to negative fixture lead (D).
- Cover open end of connectors with silicone sealant to form a watertight seal.
E If installing a wall mount fixture, use caulk to seal gaps between the fixture mounting plate (backplate) and the wall. This will help prevent water from entering the outlet box. If the wall surface is lap siding, use caulk and a fixture mounting platform specially. - Please refer to the grounding instructions below to complete all electrical connections.
grounding instructions
Flush Mount Fixtures
For positive grounding in a 3-wire electrical system, fasten the fixture ground wire (E) (typically copper or green plastic coated) to the fixture mounting strap (M) with the ground screw (S) – see Drawing 1.
Note: On straps for screw supported fixtures, first install the two mounting screws in strap. Any remaining tapped hole may be used for the ground screw
Chain Hung Fixtures
Loop fixture ground wire (E) (typically copper or green plastic coated) under the head of the ground screw (S) on fixture mounting strap (M) and connect to the loose end of the fixture ground wire directly to the ground wire of the building system with appropriately sized twist-on connectors – see Drawing 2.
Post-Mount Fixtures
Connect fixture ground wire (E) (typically copper or green plastic coated) to power supply ground with appropriately sized twist-on connector inside post. Cover open end of connector with silicone sealant to form a watertight seal – see Drawing 3.

LARK 33000 PIN OAK PARKWAY, AVON LAKE, OH 44012 LarkLiving.com













