3693-338 Dara Light Pendant
Instruction Manual
Questions, problems, missing parts? Before returning to the store, call Cordelia Customer Service
8 a.m. – 6 p.m., EST, Monday – Friday
1-800-345-0542
SAFETY INFORMATION
WARNING: Disconnect the power prior to removing or installing a light fixture.
- Before starting installation of this fixture or removal of a previous fixture, disconnect the power by turning off the circuit breaker or by removing the fuse at the fuse box.
- Consult a qualified electrician if you have any electrical questions or need to replace the driver.
- If you have any non-electrical questions about this fixture, please contact our Customer Service Team at 1-800-345-0542.
PLANNING THE INSTALLATION
NOTE: Keep your receipt and these instructions for Proof of Purchase.
- Read all instructions before assembly and installation.
- Before starting installation of the fixture or removal of a previous fixture, disconnect the power by turning off the circuit breaker or by removing the fuse at the fuse box.
- To avoid damaging this product, assemble it on a soft, non-abrasive surface such as carpet or cardboard.
TOOLS REQUIRED

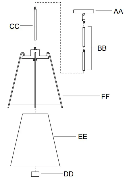
CONTENTS (not shown to actual size)

| Part | Description | Qty |
| AA | Canopy | 1 |
| BB | Short Tube | 2 |
| CC | Long Tube | 2 |
| DD | Socket Ring | 1 |
| EE | Lamp Shade | 1 |
| FF | Fixture Body | 1 |
| GG | Decorative Nut | 2 |
| HH | Small Hex Nut | 2 |
| II | Wire Nut | 3 |
| JJ | Mounting Screw | 2 |
| KK | Fixture Screw | 2 |
| LL | Mounting Bracket | 1 |
INSTALLATION
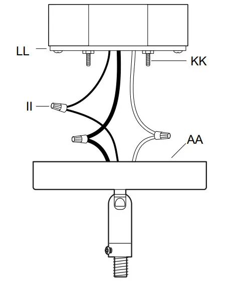
- Thread the fixture screws (KK) into the provided holes of the mounting bracket (LL).
- Thread the small hex nuts (HH) onto the fixture screws (KK). Do not tighten the small hex nuts (HH) at this time.
- Pull the supply wires out from the outlet box and mount the mounting bracket (LL) to the outlet box using the mounting screws (JJ).
- Place the canopy (AA) over the outlet box and onto the fixture screws (KK).
- Adjust the fixture screws (KK) until they protrude out from the canopy (AA) 1/4 in.
- Remove the canopy (AA) and secure the position of the fixture screws (KK) by tightening the small hex nuts (HH) against the mounting bracket (LL).

- Use the different lengths of tubes (BB &CC) provided to determine whichcombination of tube (BB & CC) lengths is going to give you your desired length. You do not have to use all of the tubes.
- Feed the fixture wires from the socket ring (DD), the lamp shade (EE), to the main fixture body (FF), the tubes (BB & CC), and through the canopy (AA).

- Screw the tubes (BB & CC) together.
- Screw the rest of the components together until they are secured and do not come loose.
NOTE: If you have electrical questions consult your local electrical code for approved grounding methods.
- Connect the black supply wire to the black fixture wire using a wire nut (II).
- Connect the white supply wire to the white fixture wire using a wire nut (II).
- Connect the supply ground wire to the fixture ground wire using a wire nut (II).
- Wrap all wire connections with electrical tape for a more secure connection.

NOTE: Replacement bulbs should not exceed a 60W Incandescent bulb.
- Place the canopy (AA) over the fixture screws (KK) and secure the canopy (AA) with the decorative nuts (GG).
- Install a 60W Incandescent bulb or LED or CFL equivalent into the socket.

OPERATION
- Turn on power at the circuit breaker or fuse box.
- Turn the light switch on to activate the fixture.
CARE AND CLEANING
NOTE: Do not use any cleaners with chemicals, solvents or harsh abrasives. Use only a dry soft cloth to duct or wipe carefully.
EXTERIOR MAINTENANCE
- Use a dry or slightly dampened clean cloth and wipe the surface of the fixture
INTERIOR MAINTENANCE
- Disconnect power to the fixture by turning off the circuit breaker or by removing the fuse at the fuse box.
- Use a dry or slightly dampened clean cloth to wipe the interior surface of the fixture.
TROUBLESHOOTING
| Problem | Solution |
| The light will not turn on. | • Make sure the power supply is on. 0 Test or replace the switch. • Check the wiring. |
| The fuse blows or circuit breaker trips when light is turned on. | • Check the wire connections. |
WARRANTY
WHAT IS COVERED
The manufacturer warrants this lighting fixture to be free from defects in materials and workmanship for a period of one (1) years from date of purchase. This warranty applies only to the original consumer purchaser and only to products used in normal use and service. If this product is found to be defective, the manufacturer’s only obligation, and your exclusive remedy, is the repair or replacement of the product at the manufacturer’s discretion, provided that the product has not been damaged through misuse, abuse, accident, modifications, alterations, neglect or mishandling.
WHAT IS NOT COVERED
This warranty shall not apply to any product that is found to have been improperly installed, set-up, or used in any way not in accordance with the instructions supplied with the product. This warranty shall not apply to a failure of the product as a result of an accident, misuse, abuse, negligence, alteration, or faulty installation, or any other failure not relating to faulty material or workmanship. This warranty shall not apply to the finish on any portion of the product, such as surface and/or weathering, as this is considered normal wear and tear.
The manufacturer does not warrant and specially disclaims any warranty, whether expressed or implied, of fitness for a particular purpose, other than the warranty contained herein. The manufacturer specifically disclaims any liability and shall not be liable for any consequential or incidental loss or damage, including but not limited to any labor/expense costs involved in the replacement or repair of said product.
Contact the Customer Service Team at 1-800-345-0542.















