ETHAN ALLEN 093064 BLK Killian 17.5 Inch Pendant Light

IMPORTANT SAFETY INSTRUCTIONS
READ THESE INSTRUCTIONS COMPLETELY BEFORE STARTING.
We strongly recommend that all direct‐wired lighting products be installed by a licensed electrician. Two people may be required for installation. DO NOT EXCEED the rated bulb wattage. Keep flammable materials away from bulbs. This light fixture is shipped with all internal wiring intact. Do not open the product or alter the wiring in any manner.
Installation requires an electrical junction box in the ceiling sufficient to support the weight of the light fixture. This fixture weighs: 13.2 lbs. (5.98kg).
WARNING: Be certain that the power to the electrical junction box is turned off at the circuit breaker before installation. Turning the power off at a light switch is not sufficient to prevent electrical shock.
CAUTION: Prior to installation, locate All INCLUDED PARTS before disposing of packaging materials.
| TOOLS REQUIRED FOR INSTALLATION | |
| Screwdrivers | Pliers |
| Electrical Tape | Wire Connectors |
| Wire Cutters | Adjustable Wrench |
Note: Lightbulb(s) are not included. See light fixture for bulb specification. Additional wiring supplies may be required
| Parts Not Included: | ||
| Part | Qty. | Description |
| A | 1 | Ceiling Outlet Junction Box |
| B | 1 | Ground Junction Box Wire |
| C | 1 | Hot Junction Box Wire |
| D | 1 | Neutral Junction Box Wire |
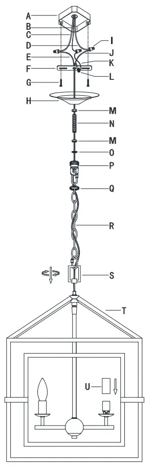
| Parts Included (Refer to figure): | ||
| Part | Qty. | Description |
| E | 1 | Hot Fixture Wire |
| F | 1 | Mounting Bracket |
| G | 2 | Mounting Screws |
| H | 1 | Canopy |
| I | 3 | Wire Connectors |
| J | 1 | Neutral Fixture Wire |
| K | 1 | Ground Wire |
| L | 1 | Ground Screw |
| M | 2 | Hex Nut |
| N | 1 | Nipple |
| O | 1 | Lock washer |
| P | 1 | Screw Collar Loop |
| Q | 1 | Threaded Ring |
| R | 1 | Chain |
| S | 1 | Fixture Loop |
| T | 1 | Fixture Body |
| U | 4 | Candle Sleeves |

Assembly Procedure (refer to the figure)
- SHUT OFF THE MAIN ELECTRICAL SUPPLY FROM THE MAIN FUSE BOX/CIRCUIT BREAKER.
- Remove all the parts from the carton. Do not throw away any parts.
- Attach the Fixture Loop (S) to the threaded tube at the top of the Fixture Body (T). Screw it in until tightened.
- Gently pull existing ground (B), Hot (C), and Neutral (D) Junction Box Wires down from the Ceiling Junction Box (A) and allow these to hang.
- Carefully inspect the wires on the chandelier fixture. The Neutral Fixture Wire (J) is ribbed. The Hot Fixture Wire (E) is smooth, and the Ground Wire (K) is copper.
- Attach the Ground Wire (K) from the fixture to the Ground Junction Box Wire (B); it usually has green insulation around it or is bare wire. Fasten these together with a Wire Connector (I) and wrap the connection with electrical tape. Make sure no wire strands are exposed. If your Ceiling Outlet Junction Box (A) does not have a Ground Junction Box Wire (B), insert the Ground Screw (L) into the Mounting Bracket (F) where it is marked “Ground” and wrap the bare ground wire from the chandelier around the Ground Screw (L). Tighten the screw to clamp the Ground Junction Box Wire (B) between the Ground Screw (L) head and the Mounting Bracket (F). It is imperative that the Ceiling Junction Box (A) in your home be properly grounded.
- Connect the Neutral Fixture Wire (J) to the Neutral Junction Box Wire (D); it usually has white insulation around it. Fasten these together with a plastic Wire Connector (I) and wrap the connection with electrical tape. Make sure that no wire strands are exposed.
- Connect the Hot Fixture Wire (E) to Hot Junction Box Wire (C); it usually has black insulation around it. Fasten these together with a plastic Wire Connector (I) and wrap the connection with electrical tape. Make sure that no wire strands are exposed. Do not reverse the hot and neutral connections or safety will be compromised.
- Gently tuck the wire connections neatly into the Ceiling Outlet Junction Box (A).
- Attach the Mounting Bracket (F) to the Ceiling Outlet Junction Box (A) using the Mounting Screws (G). Tighten screws with a screwdriver until secure.
- Attach one Hex Nut (M) to the top and the other HexNut (M) to the bottom of the Nipple (N). Put the Lock Washer (O) in before attaching the Screw Collar Loop (P) to the bottom end of the Nipple (N).
- Secure the top of the Nipple (N) to the Mounting Bracket (F) with the Hex Nut (M), exposing approximately 2” of the thread. Then secure the Screw Collar Loop (P) to the bottom end of the Nipple (N) with the Hex Nuts (M) and Lock Washer (O).
- Slide the Canopy (H) and the Threaded Ring (Q) up the Chain (R).
- Place the Canopy (H) over the Ceiling Outlet Junction Box (A) and secure it in place by screwing the Threaded Ring (N) onto the Screw Collar Loop (P).
- Place the Candle Sleeve (U) over the sockets of the fixture body (T).
- Insert four (4) 40‐Watt maximum Type B Candelabra incandescent light bulbs (not included) or four (4) 9‐watt maximum compact fluorescent light bulb (not included) or four (4) 6‐watt maximum LED light bulb (not included) into the socket. Do not exceed the specified wattage.
Care Instructions
- Wipe with a soft, dry cloth.
- AVOID cleaners, harsh chemicals, scouring pads, etc. as these may cause damage to the chandelier finish.
After troubleshooting, if the light fixture still does not work, contact your local Ethan Allen Design Center.
SAVE THESE INSTRUCTIONS













