LARK 83777LCB LED Convertible Pendant

Assembly Instructions
- Find a clear area in which you can work.
- Unpack fixture and glass from carton.
- Carefully review instructions prior to assembly.
Shut off electrical current before starting. If the fixture you are replacing is turned on and off by a wall switch, simply turn the switch off. If not, remove the appropriate fuse (or open the circuit breakers) until the fixture is dead.• DO NOT restore current – either by fuse, breaker, or switch until the new fixture is completely wired and in place.
Stem Assembly
- Determine the desired height the pendant will be installed.
- The fixture is supplied with assorted stem sizes. Determine what combinations of stems are needed to achieve desired length see Drawing 1 and 2 for part reference.

- Slip stems over wire and thread first stem onto top of pendant, longest stem first. Repeat this process until all required stems are threaded together.
- Next slide screw collar ring (S) along wire and over stems, followed by the canopy (C).
- Now slip wires through the center hole in the swivel attached to the mounting strap (A). Then thread swivel into top of last stem. Pendant is now ready for install.
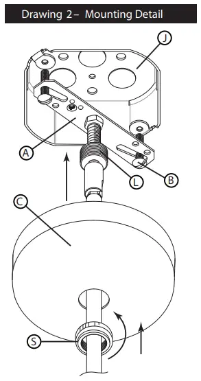
Mounting Detail
- To mount assembled pendant body to ceiling, first make all the necessary wiring connections using instruction sheet 1S18 provided.
- After all wiring connections are complete, tuck all wires into junction box (J) – see Drawing 2.

- Now attach mounting strap (A) to junction box (J) using two screws (B) NOT PROVIDED.
NOTE: the back of mounting strap (A) should be flush against the ceiling. It should not be recessed into the ceiling or off of the ceiling surface. - Next slip canopy (C) up against the ceiling and thread screw collar (S) onto exposed portion of threaded section (L) and tighten to secure canopy to ceiling.
- Refer to assembly instructions for attaching glass to pendant body.
Use supplied 3″ stem to mount as a flush mount. Do not mount fixture directly to swivel.
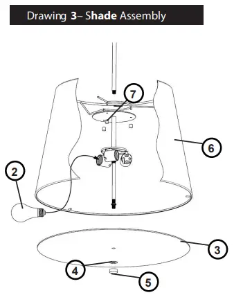
Shade Assembly
- Find a clear area in which you can work.
- Unpack fixture and glass from carton.
- Carefully review instructions prior to assembly.

- Lamp fixture using appropriate medium base bulbs (2).
- Secure shade (6) by sliding shade onto center rod and
locking up using barrel knobs (7). - Secure diffuser (3) to shade (6) using lock washer (4)
and finial (5). - Fixture can now be powered on.
wiring grounding instructions
SAFETY WARNING: READ WIRING AND GROUNDING INSTRUCTIONS (IS 18) AND ANY ADDITIONAL DIRECTIONS. TURN POWER SUPPLY OFF DURING INSTALLATION. IF NEW WIRING IS REQUIRED, CONSULT A QUALIFIED ELECTRICIAN OR LOCAL AUTHORITIES FOR CODE REQUIREMENTS.
wiring instructions
Indoor Fixtures
- Connect positive supply wire (A) (typically black or the smooth, unmarked side of the two-conductor cord) to positive fixture lead (B) with appropriately sized twist on connector – see Drawings 1 or 2.
- Connect negative supply wire (C) (typically white or the ribbed, marked side of the two-conductor cord) to negative fixture lead (D).
- Please refer to the grounding instructions below to complete all electrical connections.
Outdoor Fixtures
- Connect positive supply wire (A) (typically black or the smooth unmarked side of the two-conductor cord) to positive fixture lead (B) with appropriately sized twist on connector — see Drawings 2 or 3.
- Connect negative supply wire (C) (typically white or the ribbed, marked side of the two-conductor cord) to negative fixture lead (D).
- Cover open end of connectors with silicone sealant to form a watertight seal.
If installing a wall mount fixture, use caulk to seal gaps between the fixture mounting plate (backplate) and the wall. This will help prevent water from entering the outlet box. If the wall surface is lap siding, use caulk and a fixture mounting platform specially. - Please refer to the grounding instructions below to complete all electrical connections.
grounding instructions
Flush Mount Fixtures
For positive grounding in a 3-wire electrical system, fasten the fixture ground wire (E) (typically copper or green plastic coated) to the fixture mounting strap (M) with the ground screw (S) – see Drawing 1.]

Note: On straps for screw supported fixtures, first install the two mounting screws in strap. Any remaining tapped hole may be used for the ground screw.
Chain Hung Fixtures
Loop fixture ground wire (E) (typically copper or green plastic coated) under the head of the ground screw (S) on fixture mounting strap (M) and connect to the loose end of the fixture ground wire directly to the ground wire of the building system with appropriately sized twist-on connectors – see Drawing 2.
Post-Mount Fixtures
Connect fixture ground wire (E) (typically copper or green plastic coated) to power supply ground with appropriately sized twist-on connector inside post. Cover open end of connector with silicone sealant to form a\ watertight seal – see Drawing 3.

Customer Support
LARK 33000
PIN OAK PARKWAY, AVON LAKE, OH
44012
LarkLiving.com



















