
Model#: JYL2402A
Product Dimensions: 6.75”L X 5.5″W X 16-75″H


WARNING
WE RECOMMEND INSTALLATION OF THIS LIGHTING FIXTURE BE DONE BY A LICENSED ELECTRICIAN.
WARNING *** SWITCH OFF THE MAIN ELECTRICAL SUPPLY FROM THE MAIN FUSE BOX/CIRCUIT BREAKER BEFORE INSTALLATION.
INSPECT ITEM CAREFULLY BEFORE ATTEMPTING TO INSTALL. IF THERE IS ANY DAMAGE OR OBVIOUS DEFECT, DO NOT INSTALL. ITEM MAY NOT BE RETURNED ONCE IT HAS BEEN INSTALLED.
CARE AND MAINTENANCE
To clean the outside of the fixture, use a dry or slightly dampened clean cloth (use clean water, never a solvent) to wipe the surface of the fixture.
To clean the inside of the fixture, first disconnect power to the fixture by turning off the circuit breaker or by removing the fuse at the fuse box. Next, use a dry or slighly damperned clean clorth (use clean water, never a solvent) to wipe the interior surface of the fixture.
Do not use any cleaners with chemical, solvents or harsh abrasives. Use only a dry soft cloth to dust or wipe carefully.
NOTICE& IMPORTANT SAFETY INSTRUCTIONS
* Please make sure that you have all parts indicated before you begin assembly of this item
* This item should be assembled on a soft surface to prevent scratching the finish during assembly
* To reduce the risk of fire, electrical shock or injury to persons or property, please follow the guideline below for safe use and installation
*The external flexible cable or cord of this lamp cannot be replaced
If the cord is damaged, the lamp shall be destroyed
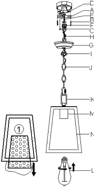
Part List and Hardware List
PIECE | DESCRIPTION | PICTURE | QUANTITY |
| A | Mounting Bracket | ![]() | x1 |
B | mounting screw | ![]() | 2X |
| C | ground screw | 1X | |
D | wire connector | ![]() | 3X |
| E | tube | 1X | |
F | djust the ring | ![]() | 1X |
| G | canopy | ![]() | 1X |
H | adjustable buckle | 2X | |
| I | Adjust the ring ring | 1X | |
J | chain | 1X | |
| K | hand ring | ![]() | 1X |
L | bulb | ![]() | 1X |
| M | socket | ![]() | 1X |
N | Frame | ![]() | 1X |
PREPARATION
Before beginning assembly of product, make sure all parts are present. Compare parts with package contents list and hardware contents list. If any part is missing or damaged, do not attempt to assemble the product. Estimated Assembly Time: 20 minutes.
1. remove the polyfoam from the Frame(N)
2. Fix the mounting bracket(A) to the outlet box with mounting screw(B).
3. fix the wire passes the chain (J) and djust the ring (F) .
4. Make wire connections, with wire connectors(D), following the reference chart listed below.
Connect, Hot, Black or Red Outlet Supply Wire to: | Connect, Neutral, White Outlet Supply Wire to: |
| Black | White |
* Parallel Cord (round & smooth) | * Parallel Cord (square & ridged) |
| Clear, Brown, Gold or Black without Tracer (colored stripes) | Clear, Brown, Gold or Black with Tracer (colored stripes) |
Insulated Wire (not green) with copper metal conductor | Insulated Wire (not green) with Silver metal conductor. |

*Note: When parallel wire ( SPT I & SPT II ) is used. The neutral wire is square shaped and ridged and the hot wire will be round in shape and smooth. ( See Illustration on left. )
Grounding Instructions:
a) For installation in the United States: Wrap ground wire from outlet box around green ground screw(C) on mounting bracket, no less than 2″ from wire end. Tighten ground screw. If fixture is supplied with a ground wire, connect to outlet ground wire with a wire connector.
b) For installation in Canada: If fixture is supplied with ground wire, wrap ground wire
around green grounding screw on mounting bracket. Tighten ground screw.
5.Insert the djust the ring (F) into the tube (E).
6. Fix the chain(J)) to the djust the ring(F)by Using adjustable buckle(H) .
7. Fix the canopy(G)) to the djust the ring(F)by Using Adjust the ring ring(I) .
8. Fix the chain(J)) to the hand ring(K)by Using adjustable buckle(H) .
9. Insert the bulb (L) into the socket (M).
PLEASE USE TYPE”A” BULB MAX 60-WATT OR CFL BULB MAX 13-WATT OR LED BULB MAX 9-WATT THERE IS 1PC 4 WATT LED BULB IN THE BOX
ENJOY YOUR LAMP
















