FREDRICK RAMOND 31107 Pendant Light

Mounting Instructions
- Find a clear area in which you can work.
- Unpack fixture and glass from carton.
- Carefully review instructions prior to assembly.
Shut off electrical current befoer starting. If the fixture you are replacing is turned on and off by a wall switch, simply turn the switch off. If not, remove the appropriate fuse (or open the circuit breakers) until the fixture is dead. DO NOT restore current either by fuse, breaker, or switch – until the new fixture is completely wired and in place.

- Determine the desired height the pendant will be installed.
- The fixture is supplied with assorted stem sizes. Determine what combinations of stems are needed to achieve desired length – see Drawing 1.
- Slip stems over wire and thread first stem onto top of pendant, longest stem first. Repeat this process until all required stems are threaded togethe.
- Slip wire through center hole of canopy swivel and thread swivel onto the top of the last stem installed.

- To mount assembled pendant body to ceiling, first make all the necessary wiring connections using instruction sheet lIs18 provided.
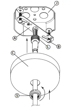
- After all wiring connections are complete, tuck all wires into Junction box (J)
- Now attach mounting strap (A) to junction box (J) using two screws (B) NOT PROVIDED.
- NOTE: the back of mounting strap (A) should be flush against the ceiling. It should not be recessed into the ceiling or off of the ceiling surface.
- Next slip canopy (C) up against the ceiling and thread screw collar (S) onto exposed portion of threaded section (L) and tighten to secure canopy to ceiling.
- Refer to assembly instructions for attaching glass to the pendant body.

- To replace burnt out bulbs unscrew coupler (Z) the top of the fixture
- Slide glass (G) up the stem (Y) until old bulb is accessible
- Remove old bulb
- Screw in replacement bulb (W)
- Slide glass (G) back down the stem (Y) and lock up with coupler (Z)
wiring grounding instructions
SAFE TY WARNING: READ WIRIN G AND GROUNDING INSTRUCTIO NS (IS 18) AND ANY ADDITIONAL DIRECTIONS. TURN THE POWER SUPPLY OFF DURING INSTALLATION. IF NEW WIRING IS REQUIRED, CONSULT A QUALIFIED ELECTRICIAN OR LOCAL AUTHORITIES FOR CODE REQUIREMENTS.
Indoor Fixtures

- Connect positive supply wire (A ) (typically black or the smooth, unmarked side of the two-conduc tor cord) to positive fixture lead (B ) with an appropriately sized twist on the connector – see Dra wings 1 or 2.
- Connect negative supply wire (C) (typically white or the ribbed, marked side of the two-conductor cord) to negative fixture lead (D).
- Please refer to the grounding instructions below to complete all electrical connections.
Outdoor Fixtures

- Connect positive supply wire (A) (typically black or the smooth unmarked side of the two-conductor cord) to positive fixture lead (B) with an appropriately sized twist on connector see Drawings 2 or 3.
- Connect negative supply wire (C) (typically white or the ribbed, marked side of the two-conductor cord) to negative fixture lead (D).
- Cover the open end of connectors with silicone sealant to form a watertight seal. If installing a wall mount fixture, use caulk to seal gaps between the fixture mounting plate (backplate) and the wall. This will help prevent water from entering the outlet box. If the wall surface is lap siding, use caulk and a fixture mounting platform especially.
- Please refer to the grounding instructions below to complete all electrical connections.
grounding instructions

Flush Mount Fixtures
For positive grounding in a 3-wire electrical system, fasten the fixture ground wire (E) (typically copper or green plastic coated) to the fixture mounting strap (M ) with the ground screw (S) – see Draw in 1.
Note: On straps for screw-supported fixtures, first install the two mounting screws in the strap. Any remaining tapped hole may be used for the ground screw.
Chain Hung Fixtures
Loop fixture ground wire (E) (typically copper or green plastic coated) under the head of the ground screw (S) on the fixture mounting strap (M) and connect to the loose end of the fixture ground wire directly to the ground wire of the building system with appropriately sized twist-on connectors – see Drawing 2.
Post-Mount Fixtures
Connect fixture ground wire (E) (typically copper or green plastic coated) to the power supply ground with the appropriately sized twist-on connector inside post. Cove r open end of the connector with silicone sealant to form a watertight seal – see Drawing 3.
HINKLEY
- 33000Pin Oak Parkway, Avon Lake, OH
- 44012800.446.5539/440.653.5500
- hinkley.com



















