Neomounts FL15-625BL1 Tablet Stand

OVERVIEW
PARTS
INSTALLATION
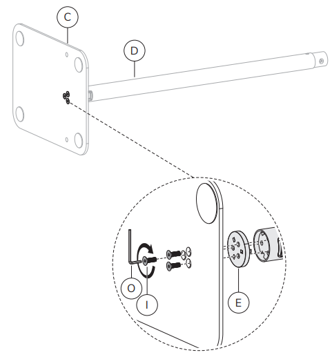
- Attach the pole to the base

- Install the stand on the floor

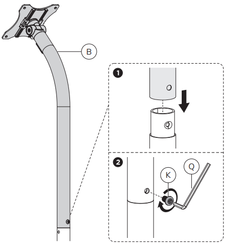
- Connect the upper pole with the lower pole

- Attach the holder to the pole

- Attach the adhesive pads

- Place the tablet in the holder and lock the holder

- Route the cables through the rod

- Adjust the mount to your desired position

CAUTION
- ensure sarety, please read this manual carerully berore installation and follow the instructions. store this manual in a secure place for Tuture rererence.
- The manufacturer shall not be legally responsible for any equipment damage or personal injury caused by incorrect installation or operation other than that covered in this manual.
- The mount is designed for easy installation and removal. Ihe manufacturer shall not be liable for damage to equipment or personal injuries arising out of human factors or acts of nature, such as earthquake or typhoon.
- It is recommended that the mount be installed by qualiied personnel only.
- At least two persons are needed to install or remove the product to avoid hazard of falling objects.
- Please carefuly inspect the area wnere the mount is to be installed:
- Avoid places that are subject to high temperatures, humidity or contact with water
- Do not install the product near air conditioning vents or areas with excess dust and fumes.
- Only install on vertical walls and avoid slanted surfaces.
- Do not install in places subject to any shock or vibration.
- Do not install in places subject to direct exposure to bright light, as it may cause eye fatigue when viewing the display panel.
- Maintain sufficient space around the display to ensure adequate ventilation.
- To ensure safe installation, first check the structure of the wal, ceiling or floor and select a secure mounting location.
- The wall, ceiling or floor should be strong enough to sustain a weight of at least four times of the display and mount combined. The mounting location must be able to withstand earhquake or other strong shock.
- Do not modity any accessories or use broken parts. Contact your dealer with any questionsS.
- ighten all screws (do not exert excessive force to avoid breaking the screw or damaging its thread).
- Drill holes and bolts will be left in the wall, ceiling or floor once the display and bracket are removed. Stains may occur after extended use.
- Since the manufacturer has no way to control the wall, ceiling or floor type and installation of the mount, the warranty of the product shall only cover the body of the mount. The warranty period of the product is 5 years
- Please consult the English language manual for any dispute on conditions.

























