Neomounts FL15-625WH1 Tablet Stand

DIMENSION

PARTS

- STEP 1
Attach the pole to the base
- STEP 2
Install the stand on the floor
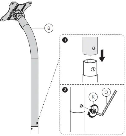
- STEP 3
Connect the upper pole with the lower pole
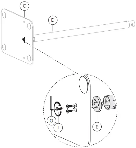
- STEP 4
Attach the holder to the pole
- STEP 5
Attach the adhesive pads
- Attach pads according to the tablet:
- F. 2 mm – for tablet depth 7,5-8,5 mm
- G. 3 mm – for tablet depth 6,5-7,5 mm
- H. 4 mm – for tablet depth less than 6,5 mm
- STEP 6
Place the tablet in the holder and lock the holder
- STEP 7
Route the cables through the rod
- STEP 8
Adjust the mount to your desired position
CAUTION
- To ensure safety, please read this manual carefully before installation and follow the instructions. Store this manual in a secure place for future reference.
- The manufacturer shall not be legally responsible for any equipment damage or personal injury caused by incorrect installation or operation other than that covered in this manual.
- The mount is designed for easy installation and removal. The manufacturer shall not be liable for damage to equipment or personal injuries arising out of human factors or acts of nature, such as earthquake or typhoon.
- Itis recommended that the mount be installed by qualiied personnel only.
- At least two persons are needed to install or remove the product to avoid hazard of falling objects.
- Please carefully inspect the area where the mount is to be installed:
- Avoid places that are subject to high temperatures, humidity or contact with water.
- Do not install the product near air conditioning vents or areas with excess dust and fumes.
- Only install on vertical walls and avoid slanted surfaces.
- Do not install in places subject to any shock or vibration.
- Do not install in places subject to direct exposure to bright light, as it may cause eye fatigue when viewing the display panel.
- Maintain sufficient space around the display to ensure adequate ventilation.
- To ensure safe installation, first check the structure of the wall, ceiling or floor and select a secure mounting location.
- The wall, ceiling or floor should be strong enough to sustain a weight of at least four times of the display and mount combined. Ihe mounting location must be able to withstand earhquake or other strong shock.
- Do not modify any accessories or use broken parts. Contact your dealer with any questions.
- Tighten all screws (do not exert excessive force to avoid breaking the screw or damaging its thread).
- Drill holes and bolts will be left in the wall, ceiling or floor once the display and bracket are removed. Stains may occur after extended use.
- Since the manufacturer has no way to control the wall, ceiling or floor type and installation of the mount, the warranty of the product shall only cover the body of the mount. The warranty period of the product is 5 years.
- Please consult the English language manual for any dispute on conditions.
























