
SELECT
Instruction Manual

FL50S-825WH1 Floor Stand
PARTS


STEP 1
Assemble the base

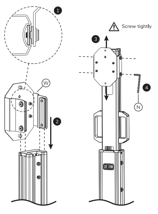
STEP 2
Install the casters. Screw tightly

OPTION
Secure a power socket by using tie wraps (not included)

STEP 3
Attach the pole to the base

STEP 4
Install the upper pole using screws. Screw tightly

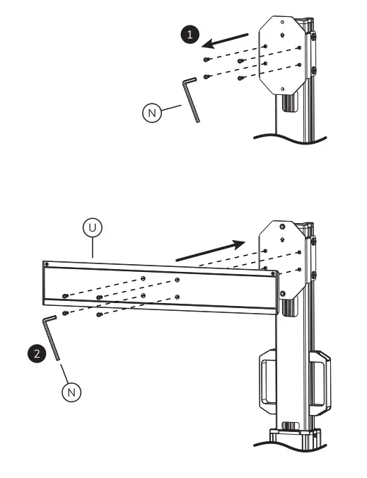
STEP 5
Attach the handle to the upper pole

STEP 6
Place the holder onto the pole

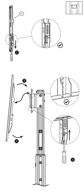
STEP 7
Attach the VESA plate to the holder

STEP 8
Ensure alignment using a spirit level

STEP 9
Install the adapter brackets and use spacers if necessary

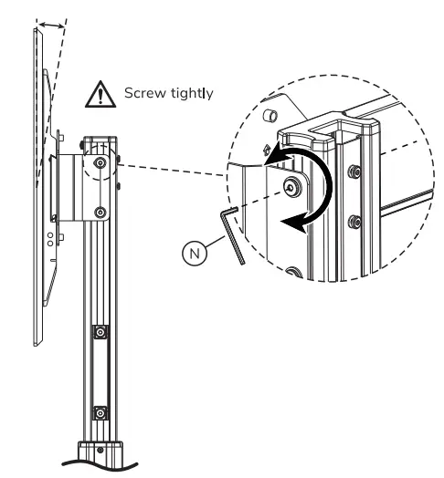
STEP 10 A
Attach the screen onto the bracket and secure it

STEP 10 B
Tilt the screen if desired

STEP 11
Install the cable management

STEP 12
Install the hardware compartment

STEP 13
Route the cables

CAUTION
- To ensure safety, please read this manual carefully before installation and follow the instructions. Store this manual in a secure place for future reference.
- The manufacturer shall not be legally responsible for any equipment damage or personal injury caused by incorrect installation or operation other than that covered in this manual.
- The mount is designed for easy installation and removal. The manufacturer shall not be liable for damage to equipment or personal injuries arising out of human factors or acts of nature, such as earthquakes or typhoons.
- It is recommended that the mount be installed by qualified personnel only.
- At least two persons are needed to install or remove the product to avoid the hazard of falling objects.
- Please carefully inspect the area where the mount is to be installed:
– Avoid places that are subject to high temperatures, humidity or contact with water.
– Do not install the product near air conditioning vents or areas with excess dust and fumes.
– Only install on vertical walls and avoid slanted surfaces.
– Do not install in places subject to any shock or vibration.
– Do not install in places subject to direct exposure to bright light as it may cause eye fatigue when viewing the display panel. - Maintain sufficient space around the display to ensure adequate ventilation.
- To ensure safe installation. first, check the structure of the wall. ceiling or floor and select a secure mounting location.
- The wall. ceiling or floor should be strong enough to sustain a weight of at least four times of the display and mount combined. The mounting location must be able to withstand an earthquake or another strong shock.
- Do not modify any accessories or use broken parts. Contact your dealer with any questions.
- lighten all screws (do not exert excessive force to avoid breaking the screw or damaging its thread).
- Drill holes and bolts will be left in the wall, ceiling or floor once the display and bracket are removed. Stains may occur after extended use.
- Since the manufacturer has no way to control the wall. ceiling or floor type and installation of the mount the warranty of the product shall only cover the body of the mount The warranty period of the product is 5 years.
- Please consult the English language manual for any dispute on conditions.















