Neomounts by Newstar Select NM-M1700 Floor Stand

Tools and Measurement

PARTS

Step 1
- Monteer de voet

Step 2
- Attach the pole to the base

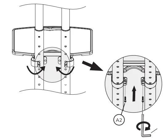
Step 3
- Adjust height

Step 4
- Assemble the shelf

Step 5
- Attach the shelf to the bottom of the mount

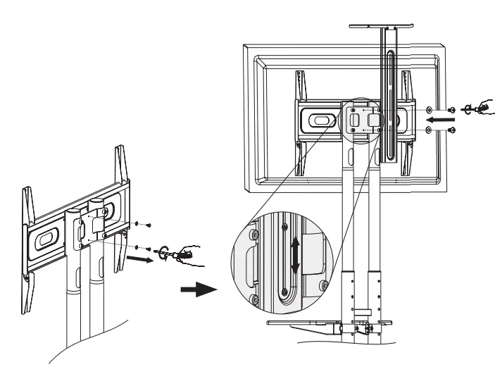
Step 6
- Install the VESA plate

Step 7
- Install the adapter brackets

OPTION
- Use spacers if necessary

STEP 8
- Hang the screen onto the bracket and secure it.

STEP 9
- Assemble the plateau

STEP 10
- Install the plateau to the top of the mount

STEP 11
- Route the cables through the rod

Caution
- ensure safety. please read this manual carefully before installation and follow the instructions. store this manual in a secure place for future reference.
- The manufacturer shall not be legally responsible Tor any equipment damage or personal injury caused by incorrect installation or operation other than that covered in this manual.
- The mount is designed for easy installation and removal. Ihe manutacturer shall not be liable for damage to equipment or personal injuries arising out of human factors or acts of nature, such as earthquakes or typhoons.
- It is recommended that the mount be installed by qualified personnel only.
- At least two persons are needed to install or remove the product to avoid the hazard of falling objects.
- Please carefully inspect the area where the mount is to be installed:
- Avoid places that are subject to high temperatures, humidity, or contact with water.
- Do not install the product near air conditioning vents r areas with excess dust and fumes
- Do not install in places subject to any shock or vibration.
- Do not install in places subject to direct exposure to bright light, as it may cause eye fatigue when viewing the display panel.
- Maintain sufficient space around the display to ensure adequate ventilation.
- To ensure a safe installation, first check the structure of the wall, ceiling, or floor and select a secure mounting location.
- The wall, ceiling, or floor should be strong enough to sustain a weight of at least four times the display and mount combined. Ihe mounting location must be able to withstand an earthquake or another strong shock.
- Do not modify any accessories or use broken parts. Contact your dealer with any questions.
- Tighten all screws (do not exert excessive force to avoid breaking the screw or damaging its thread).
- Drill holes and bolts will be left in the wall, ceiling, or floor once the display and bracket are removed. Stains may occur after extended use
- Since the manufacturer has no way to control the wall, ceiling, or floor type and installation of the mount, the warranty of the product shall only cover the body of the mount. The warranty period of the product is 5 years.
Frequently Asked Questions
What is the Neomounts by Newstar Select NM-M1700 Floor Stand?
The Neomounts by Newstar Select NM-M1700 is a floor stand for flat-screen TVs. It allows you to mount your TV and adjust its height and viewing angle for optimal viewing.
What size TVs does the Neomounts by Newstar Select NM-M1700 support?
The Neomounts by Newstar Select NM-M1700 supports TVs ranging from 32 to 55 inches in size, with a maximum weight of 35 kilograms.
How does the Neomounts by Newstar Select NM-M1700 attach to the TV?
The Neomounts by Newstar Select NM-M1700 attach to the TV using a VESA mount. This is a standard mounting pattern that is used by most flat-screen TVs. The VESA pattern for this mount is 200×200, 300×200, 300×300, 400×200, 400×300, 400×400, and 600×400.
How does the Neomounts by Newstar Select NM-M1700 stand on the floor?
The Neomounts by Newstar Select NM-M1700 stands on the floor using a heavy base that provides stability. The base has adjustable feet that can be leveled to ensure stability on uneven surfaces.
Can I adjust the height of the TV using the Neomounts by Newstar Select NM-M1700?
Yes, the Neomounts by Newstar Select NM-M1700 allows you to adjust the height of the TV by up to 170 centimeters. The TV can be positioned at any height within that range.
Can I adjust the viewing angle of the TV using the Neomounts by Newstar Select NM-M1700?
Yes, the Neomounts by Newstar Select NM-M1700 allows you to adjust the viewing angle of the TV by up to 15 degrees. This means you can tilt the TV forward or backward for optimal viewing.
Does the Neomounts by Newstar Select NM-M1700 come with a warranty?
Yes, the Neomounts by Newstar Select NM-M1700 come with a five-year warranty.
Is the Neomounts by Newstar Select NM-M1700 easy to install?
Yes, the Neomounts by Newstar Select NM-M1700 are easy to install. It comes with all the necessary hardware and instructions, and you should be able to install it within an hour or so.
Download PDF Link:















