Neomounts NS-M1250BLACK Floor Stands

DIMENSION

PARTS

- STEP 1
Install the casters
- STEP 2
Attach the stands to the chassis – SCREW TIGHTLY
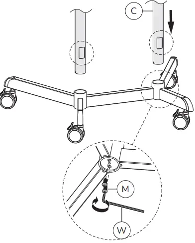
- STEP 3
Mount the upper side of the rod
- STEP 4
Attach the shelf to the stands

- STEP 5 A
Attach the VESA Plate to the screen

- STEP 5 B-1
Install the adapter brackets
- STEP 5 B-2
Attach the VESA Plate to the screen
- STEP 6
Attach the screen onto the bracket and secure it
- STEP 7
Adjust the tilt mechanism to the desired position
- STEP 8
Adjust the mount to your desired position and loosen or tighten the screws if necessary
- OPTION
To disable the rotation function, turn the screw (P) into the corresponding screw hole
- STEP 9
Run cable through the cable cover
- STEP 10
Install the cable clips and run the cable through

- STEP 11
Run cable through the cable cover

- STEP 12
Place the cover and adjust the mount to your desired position

- To ensure safety, please read this manual carefully before installation and follow the instructions. Store this manual in a secure place for future reference.
- The manutacturer shall not be legally responsible for any equipment damage or personal injury caused by incorrect installation or operation other than that covered in this manual.
- The mount is designed for easy installation and removal. The manufacturer shall not be liable for damage to equipment or personal injuries arising out of human factors or acts of nature, such as earthquake or typhoon.
- It is recommended that the mount be installed by qualified personnel only.
- At least two persons are needed to install or remove the product to avoid the hazard of falling objects.
- Please carefully inspect the area where the mOunt is to be installed
Avoid places that are subject to high temperatures, humidity or contact with water.
Do not install the product near air conditioning vents or areas with excess dust and fumes.
Only install on vertical walls and avoid slanted surfaces.
Do not install in places subject to any shock or vibration.
Do not install in places subject to direct exposure to bright light, as it may cause eye fatigue when viewing the display panel. - Maintain sufficient space around the display to ensure adequate ventilation.
- ensure safe installation, first check the structure of the wall, ceiling or floor and select a secure mounting location.
- The wall, ceiling or floor should be strong enough to sustain a weight of at least four times of the display and mount combined. The mounting location must be able to withstand an earthquake or another strong shock.
- Do not modify any accessories or use broken parts. Contact yOur dealer with any questions.
- Tighten all screWs (do not exert excessive force to avoid breaking the screw or damaging its thread).
- Drill holes and bolts will be left in the wall, ceiling or floor once the display and bracket are removed. Stains may occur after extended use.
- Since the manufacturer has no way to control the wall, ceiling or floor type and installation of the mount, the warranty of the product shall only cover the body of the mount. Ihe warranty period of the product is 5 years.
- Please consult the English language manual for any dispute on conditions.




































