neptronic MM000 A and M Linear Actuators

Features
- Force up to 1500 lb [6750 N].
- Clutch for manual adjustments.
- Maintenance free.
- Control signal fully programmable.
- Fail safe (battery backup) (on model 010).
Technical Data
| Technical Data | MM000 | MM010 |
| Fail safe | No | Yes |
| Power supply | 28 to 32 Vdc or 22 to 26 Vac | |
| Vertical force | 1500 lb. [6750 N] at rated voltage | |
| Stroke / lift time | 2 to 7 min, depending upon stroke, force independent | |
| Feedback | 4 to 20 mA or 2 to 10 Vdc adjustable | |
| Power consumption | 30 VA | |
| Electrical connection | 18 AWG [0.8 mm2] minimum | |
| Inlet bushing | 2 inlet bushing of 7/8 in [22.2 mm] | |
| Control signal | Analog, Digital or PWM programmable (factory set with analog control signal) | |
| Stroke / lift | Electronically adjustable from 1in to 3.5 in [2.54 cm to 8.89 cm] | |
| Direction | Reversible, normally up position (open) or normally down position (close) (factory set normally down) | |
| Ambient temperature | 0ºF to 122ºF [-18º C to 50ºC] | |
| Storage temperature | -22ºF to +122ºF [-30º C to +50º C] | |
| Relative Humidity | 5 to 95 % non condensing. | |
| Weight | 45 lbs. [20.5 kg] | |
| Warning: Do not press the clutch when actuator is powered | ||
Warning: Do not press the clutch when actuator is powered
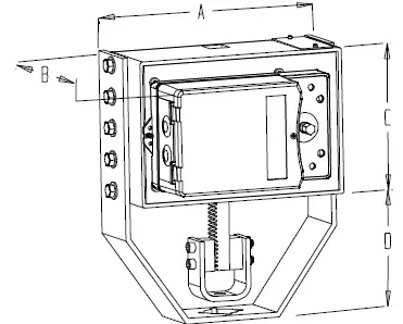
Dimensions

| Dimension | Imperial (in) | Metric (mm) |
| A | 11.50 | 292.1 |
| B | 8.36 | 212.3 |
| C | 7.25 | 184.15 |
| D | Min. 6.00 Max. 9.00 | Min. 152.4 Max. 228.6 |
Caution
We strongly recommend that all Neptronic® products be wired to a separate transformer and that transformer shall service only Neptronic® products. This precaution will
prevent interference with, and/or possible damage to incompatible equipment. When multiple actuators are wired on a single transformer, polarity must be observed. Long wiring runs create voltage drop which may affect the actuator performance.
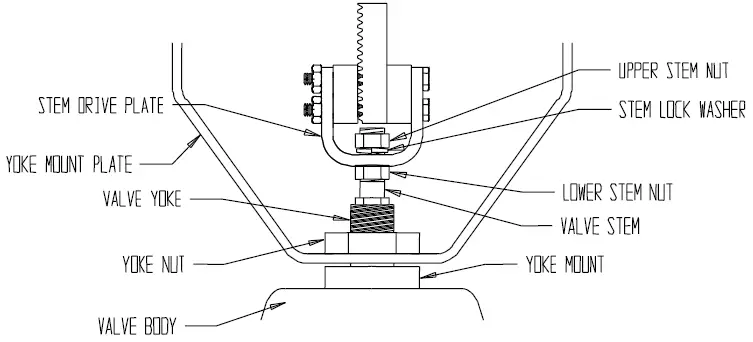
Mounting on valve

Wiring Diagrams

Input Signal and Feedback setup
PC Board

Stroke adjustment – No control signal change
- Apply power and, WAIT FOR LED TO BE OFF (around 10 seconds).
- Press and release the reset button to start the auto-stroke process. The LED should be illuminated. When the desired start position is reached, press and release the reset button. The actuator will now go the end position. (you can also press and release the reset button when It’s reaches the end position) The LED will extinguish, the process is complete.
Programming – Change of control signal & PWM pulse setting
- Remove power and put all dip switches “OFF” (factory preset).
- Apply power and, within 10 seconds, press and release the reset button. The LED should be blinking.
- Select the control signal with dip switches
| Digital or Analog Modes | PWM Mode |
| Digital (On/Off or 3 point floating) | 5 sec. pulse (factory preset) |
| Analog (Default) | 25 sec. pulse |
Stroke adjustment
see the stroke adjustment section above
Enabling or disabling PWM mode
- Remove power supply to actuator
- Install jumper between pin 3 & 4 of J3/4
- Select the desired action using the dipswitches (DS1):
- Re-apply power supply to actuator
- Wait 5 seconds
- Remove power supply to actuator
- Remove jumper between pin 3 & 4 of J3/4, re-install it between pin 4 & 5.
- Re-apply power supply to actuator PWM is factory preset at 5 sec. pulse, refer to programming section above to change pulse setting.
| DS1-1 | DS1-2 | Action |
| OFF | ON | Enable PWM Mode |
| ON | OFF | Disable PWM Mode |

Zero and span calibration
This feature is applicable to analog control signal only.
- Remove power and put all dip switches “OFF”. (factory preset).
- Apply power and, within 10 seconds press and hold the reset button until the LED blinks once. The Zero and span calibration process then start.
- Release the reset button. The LED is now constantly illuminated.
- Apply new minimum voltage. It can be any value between 0 to 7 Vdc, with an external 0 to 10 volt supply (ex: MEP).
- Press and release the reset button to memorize the new minimum voltage. The LED blinks.
- Apply new maximum voltage. It can be any value between 3 to 10 Vdc, this value should be greater than the new minimum value.
- Press and release the reset button to memorize the new maximum voltage. The LED blinks.
The Zero and span calibration process is complete.
Note: To reset zero and span to 2 to 10 Vdc (factory value). You just have to re-select the analog control signal mode, see Programming.




















