neptronic LM380 LM Actuator Instruction Manual
Features
- Power supply high voltage 120 or 240 VAC (on model LM3…).
- Clutch for manual adjustments.
- Maintenance free.
- Position indicator.
- Control signal fully programmable.
- Fail safe by Enerdrive System1 (on model 060, 080, 360 & 380).
- Auxiliary switches (on model 020, 080, 320 & 380).
| Technical Data | LM000 | LM020 | LM060 | LM080 | LM300 | LM320 | LM360 | LM380 |
| Auxiliary switches | No | Yes | No | Yes | No | Yes | No | Yes |
| Fail safe – Enerdrive | No | Yes | No | Yes | ||||
| Power consumption | 8VA | 30VA Peak, 8VA | 10VA | 30VA Peak, 10VA | ||||
| Weight | 4.5 lbs. [2 kg] | 4.8 lbs. [2.2 kg] | ||||||
| Power supply | 28 to 32 VDC or 22 to 26 VAC | 28 to 32 VDC or 22 to 26 VAC, 110 to 130 VAC, 220 to 250 VAC 50/60Hz | ||||||
| Approvals | ![]() |
| ||||||
| Torque | 140 in.lb. [16 Nm] at rated voltage | |||||||
| Running time through 90º | 60 to 85 sec torque dependant | |||||||
| Feedback | 4 to 20 mA or 2 to 10 VDC adjustable | |||||||
| Electrical connection | 18 AWG [0.8 mm2] minimum | |||||||
| Inlet bushing | 2 inlet bushing of 7/8 in [22.2 mm] | |||||||
| Control signal | Analog, Digital or Pulse with modulation (PWM) programmable (factory set with Analog control signal) | |||||||
| Angle of rotation | 0 to 90 degrees, electronically adjustable (factory set with 90º stroke) | |||||||
| Direction of rotation | Reversible, Clockwise (CW) or Counterclockwise (CCW) (factory set with CW direction) | |||||||
| Ambient temperature | 0ºF to +122ºF [-18º C to +50º C] | |||||||
| Storage temperature | -22ºF to +122ºF [-30º C to +50º C] | |||||||
| Relative Humidity | 5 to 95 % non condensing. | |||||||
| Warning: Do not press the clutch when actuator is powered | ||||||||
Dimensions

| Dimension | Inches | Metric (mm) |
| A | 5.20 | 132.1 |
| B | 1.33 | 33.8 |
| C | 9.13 | 231.9 |
| D | 3.39 | 86.1 |
Caution
We strongly recommend that all products be wired to a separate transformer and that transformer shall service only theseproducts. This precaution will prevent interference with, and/or possible damage to incompatible equipment. When multiple actuators are wired on a single transformer, polarity must be observed. Long wiring runs create voltage drop which may affect the actuator performance.
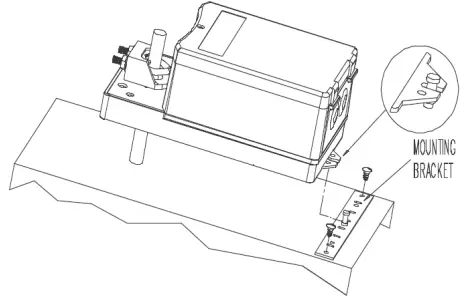
Mechanical installation

- Manually close the damper blades and positioned the actuator at 0º or 90º.
- Slide the actuator onto the shaft.
- Tighten the nuts on the “U” bolt to the shaft with a 10mm wrench to a torque of 150 in.lb. [17 Nm].
- Slide the mounting bracket under the actuator. Ensure free movement of the slot at the base of the actuator. The bracket pin must be placed in the mid distance of the slot.
- Fix the bracket to the ductwork with #8 self-tapping screws
Wiring Diagrams LM0…

PC Board LM0…

Wiring Diagrams LM3…

For 2 to 10 VDC output feedback
For any of above wiring configurations, connect one of the supplied 500 ohm resistors between pins 1 and 5 of TB4.
For 24 VAC or 30 VDC supply
For any of above wiring configurations, do not connect on TB1. Wire 24 VAC or 30 VDC on pin 2 of TB4.
PC Board LM3…

Stroke adjustment – No control signal change
- Apply power and, wait for at least 10 seconds.
- Press and release the reset button to start the auto-stroke process.
The LED should be illuminated.- First option:
The actuator will then travel in both directions to find it’s limit and position itself according to the demand.
The LED will extinguish, the process is complete. - Second option:
When the desired end position is reached, press and release the reset button. The actuator will now return back to its original position. (you can also press and release the reset button when It’s reaches the original position)
The LED will extinguish, the process is complete.
- First option:
Programming – Change of control signal
- Remove power and put all dip switches “OFF”. (factory preset).
- Apply power and, within 10 seconds, press and release the reset button. The LED should be blinking.
- Select the control signal with dip switches:
- Digital (On/Off or 3 point floating)
move switch No1 “ON” and then “OFF”. - PWM
move switch No2 “ON” and then “OFF”. - Analog (factory preset) move switch No3 “ON” and then “OFF”.
- Digital (On/Off or 3 point floating)
- Stroke adjustment
see the stroke adjustment section above
Note, If PWM mode is selected:
- Time base : When programming is done, if switch No3 is “on” time base is 0.1 to 5 sec. (resolution 20 msec.) if switch No3 is “off” time base is 0.1 to 25 sec. (resolution 100 msec.)
* For 5 sec. time base, we strongly recommend a switch common connection for better position stability. - Switch 24 VAC: Triac or dry contact, 40mA maximum switching current.
- Switch common: NPN transistor, SCR, Triac or dry contact 75mA maximum switching current.
Feedback selection (CCW direction)
To select CCW direction put switch No1 “ON”.
In Analog or 3 point floating mode you can program the feedback control.
If switch No3 is “OFF”:
The feedback control is automatically reverse to 4 to 20 mA for 90 to 0 degrees.

If switch No3 is “ON”:
The feedback control is to 20 to 4 mA for 90 to 0 degrees

Zero and span calibration
This feature is applicable to analog control signal only.
- Remove power and put all dip switches “OFF”. (factory preset).
- Apply power and, within 10 seconds press and hold the reset button until the LED blinks.
The Zero and span calibration process then start. - Release the reset button. The LED is now constantly illuminated.
- Apply new minimum voltage.
It can be any value between 0 to 7 VDC, with an external 0 to 10 volt supply (ex: MEP). - Press and release the reset button to memorize the new minimum voltage. The LED blinks.
- Apply new maximum voltage.
It can be any value between 3 to 10 VDC, this value should be greater than the new minimum value. - Press and release the reset button to memorize the new maximum voltage. The LED blinks.
The Zero and span calibration process is complete.
Note: To reset zero and span to 2 to 10 VDC (factory value). You just have to re-select the analog control signal mode, see Programming.


Class 2


















