Neomounts FL55-875BL1 Floor Stand

IMPORTANT HAZARD & SAFETY NOTES
- Please read the safety and installation instructions in this product manual carefully, before starting the installation Failure to read, thoroughly understand and follow all instructions may result in serious personal injury, damage to the equipment or voiding of factory warranty.
- General safety instruction
Use the appropriate tools and equipment when installing the motorised product. Not using appropriate equipment may result in severe risk of injury. - Electrical safety
Connect unit to a free accessible 220 – 240V, 50/60 Hz grounded power outlet only. Make sure the unit can be immediately separated from the power outlet. Only use unit in dry rooms, protect unit from water and other liquids. Only wipe unit with dry cloth. Do not open lift unit. RISK OF ELECTRIC SHOCK. There are no serviceable parts inside. In case of disfunction unplug unit from power outlet and call an authorised technical service person. Do not overrun or damage cables in any other way. Replace damaged cables immediately with new one from same type. - Mechanical safety
Do not improperly load unit. Do not mount other than original parts in conjunction with original mounting parts. Do not hang on unit. - VERY HEAVY UNIT.
Severe risk of injury when unit falls over due to improper usage. Only use original mounting parts provided with the system. Do not exceed the maximum load of 110 kg. Assure installation of unit by authorized service person only. Before moving the unit up or down ashure at least a safety distance of 20 cm/8 inch from any part of the unit to any other fitment in order to avoid shear traps or squeezing points. In case of any incident, please release operating panel. Movement of unit will stop immediately. The socket connections of the unit and the wall socket must be easily accessible. Disconnect the power cable from the wall socket before moving the product. - Moveable and free-standing units
Only operate unit on flat and stable floor surfaces. Move unit on flat floors only. Risk of tilting when overrunning unevenness in floors, door sills and similar. - VERY HEAVY UNIT.
Severe risk of injury should the unit fall over. Lock brakes of all wheels when operating unit. Always relocate the floor stand with screen in the lowest position. The device is not drip or splash water proof. Do not place liquids on or nearby or spray the device. Always unplug the unit from the wall socket before cleaning to reduce the risk of electric shock. - Anti-collision protection
The protection system is designed to detect contact between the lift system and an object. This system is intended for protection of the motorised screen lift. The system is explicitly not intended as a safety mechanism to prevent personal injury. - Wall mounting
Use appropriate mounting materials only. Choose douwels and screws according to the wall type and material. Using improper mounting material may result in tilting of the unit and severe risk of injury. Wall mounting must be done by experienced personnel only. - Instructions for disposal
Do not discard with general waste.
PARTS



INSTALLATION

- STEP 1
Assemble the base
- STEP 2
Install the casters. Screw tightly

- STEP 3
Attach the vertical supports to the base
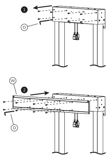
- STEP 4
Attach the back plate to the floor stand
- STEP 5
Ensure the correct alignment
- STEP 6
Install the handles
- STEP 7
Attach the control unit holder
- STEP 8
Install the cable management
- STEP 9
Connect the plug of the control unit and place the remote control
- STEP 10
Connect and route the cables
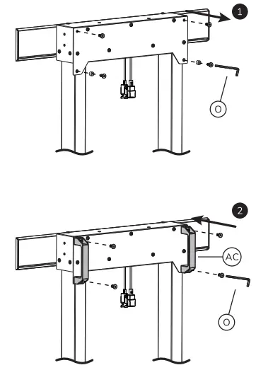
- STEP 11
Install the adapter brackets and use spacers if necessary

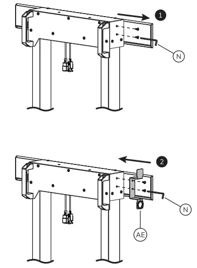
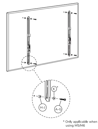
- STEP 12
Attach the screen onto the bracket and secure it

- STEP 13
Install the hardware compartment

OPTION - Place the cable cover

- STEP 14
Route the cables

- STEP 15
Connect the floor stand to power
WARNING
If the floors and legs stops moving, a reset and rebalance will be needed.
- Push and hold the DOWN button on your remote until the legs are at the very bottom.
- Keep holding the DOWN button for another 5-10 seconds until the legs react and move slightly upwards.
- When upwards reaction has been identified the remote control function has been restarted and the legs will react as normal to your remote actions.
OPTION

Place the self-adhesive pads on the remote control holder and attach the holder where desired.
EC DECLARATION OF CONFORMITY
This Declaration of Conformity is issued under the sole responsibility of the manufacturer.
Manufacturer
- Company name: Newstar Computer Products Europa B.V.
- Full address: Wateringweg 62
- Postal code: 2031 EJ
- Place Haarlem
- Country: The Netherlands
Description and identification of the machinery
- Product Description: Motorized floor stand Motorized wall stand
- Model/Type: FLSS-875 / WLSS-875
- Function: Motorized height adjustable display lift
Compliance
The manufacturer declares that the above-mentioned machinery fulfils all relevant provisions of Machinery Directive 2006/42/EG EMC Directive 2014/30/EU RoHS Directive 2011/65/EU including amendment 2015/863/EU In conjunction with the following harmonized standards and where appropriate other technical standards and specifications
Safety of Machinery
- EN ISO 12100:2010;
Safety of Electrical Equipment
- EN 60335-1:2012+AC:2014;
- EN 62233:2008
Electromagnetic Compatibility (EMC)
- EN 61000-3-2:2014;
- EN 61000-3-3:2013
- EN 61000-6-3:2007+AC:2012;
- EN 61000-6-1:2007
- EN 62233:2008
Technical documentation for the product is available from:
- Name: Newstar Computer Products Europa B.V.
- Full address: Wateringweg 62, 2031 EJ Haarlem, The Netherlands
- Place of issue: Haarlem, The Netherlands
- Date of issue: October 17, 2022
- Name: Barry Meester
- Function: Head of Product Management
- Signature:

CAUTION
- To ensure safety, please read this manual carefully before installation and follow the instructions. Store this manual in a secure place for future reference.
- The manufacturer shal not be legally responsible for any equipment damage or personal injury caused by incorrect installation or operation other than that covered in this manual.
- The mount is designed for easy installation and removal. The manufacturer shall not be liable for damage to equipment or personal injuries arising out of human factors or acts of nature, such as earthquakes or typhoons.
- It is recommended that the mount be installed by qualified personnel only.
- At least two persons are needed to install or remove the product to avoid the hazard of falling objects.
- Please carefully inspect the area where the mount is to be installed:
- Avoid places that are subject to high temperatures, humidity or contact with water.
- Do not install the product near air conditioning vents or areas with excess dust and fumes.
- Only install on vertical walls and avoid slanted surfaces.
- Do not install in places subject to any shock or vibration.
- Do not install in places subject to direct exposure to bright light, as it may cause eye fatigue when viewing the display panel.
- Maintain sufficient space around the display to ensure adequate ventilation.
- o ensure a safe installation, first check the structure of the wall, ceiling, or floor and select a secure mounting location.
- The wall, ceiling or floor should be strong enough to sustain a weight of at least four times of the display and mount combined. The mounting location must be able to withstand an earthquake or another strong shock.
- Do not modify any accessories or use broken parts. Contact your dealer with any questions.
- Tighten all screws (do not exert excessive force to avoid breaking the screw or damaging its thread).
- drill holes and bolts will be left in the wall, ceiling or floor once the display and bracket are removed. stains may OcCur after extended use.
- Since the manufacturer has no way to control the wall, ceiling or floor type and installation of the mount, the warranty of the product shall only cover the body of the mount. The warranty period of the product is 5 years.
- please consult the English language manual for any dispute on conditions.




































