Neomounts NM-HUB2LIFT Floor Stand

PARTS
INSTALLATION
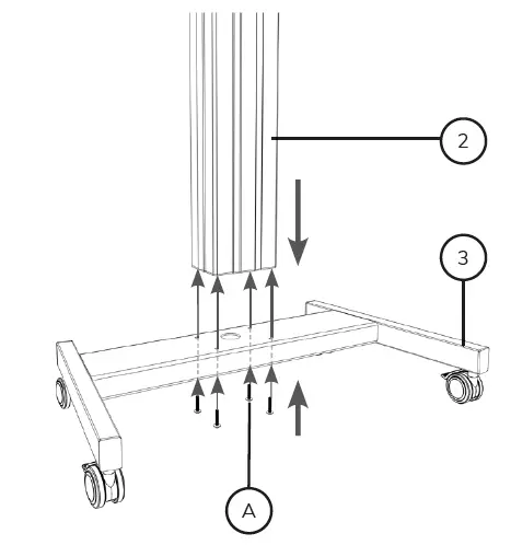
Connect the trolley (3) to the column (2)
Remove the cover
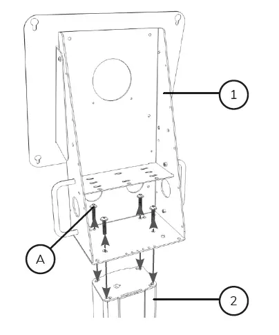
Attach the frame to the bracket
Place the cover
Tighten four screws (B) in the back of the screen and keep
Attach the screen onto the bracket and secure it
Attach the control unit holder
Attach the control unit
Connect the plug of the control unit (5) with the column
Connect the power cable (4) with column and socket
Adjust the tilt mechanism to the desired position

IMPORTANT HAZARD & SAFETY NOTES
Please carefully read the below hazard and safety notes before using the height adjustment unit. This contributes to make the unit work failure-free and avoids accidents.
Electrical safety
- Connect the unit to a free accessible 110 – 230 V / 50 Hz grounded power outlet only. Make sure, the unit can be immediately separated from the power outlet. Only use unit in dry rooms, protect the unit from water and other liquids. Only wipe the unit with dry cloth.
Do not open the lift unit. RISK OF ELECTRIC SHOCK. There are no serviceable parts inside. In case of disfunction unplug the unit from the power outlet and call an authorized technical service person. Do not overrun the line cord or damage it in any other way. Replace damaged line cords immediately with a new one of the same type. - The socket connections of the unit and the wall socket must be easily accessible.
- The device is not dripping or splash water protected.
Do not place objects filled with liquids on or spray the device.
General tips for mechanical safety
Do not improperly load the unit. Do not mount other than original parts (whiteboard, wings, interactive board, interactive monitor, projector) in conjunction with original mounting parts. Do not hang on the unit.
VERY HEAVY UNIT.
Severe risk of injury when a unit falls over due to improper usage. Only use original mounting parts provided with the system. Max load of lift unit is 150 kg/ 330 lbs. Do not exceed. Assure installation of the unit by authorized service personnel only.
Before moving the unit up or down ashore at least a safety distance of 20 cm/ 7.9 from any part of the unit to any other fitment in order to avoid shear traps or squeezing points. In case of an accident please release operating panel. The movement of the unit will stop immediately.
Special tips for moveable and free-standing units
Only operate the unit on a plane and on stable floors. Move unit on plane floors only. Risk of tilting when overrunning floor unevennesses, door sills, and similar.
VERY HEAVY UNIT.
Severe risk of injury when a unit falls over. Lock brakes of front wheels when the operating unit.
Special tips for wall mounted units
Use appropriate wall mounting material only. Choose dowels and screws according to the wall type and material. Using improper mounting material may result in tilting of the unit and a severe risk of injury. Wall mounting must be done by experienced personnel only.
Instructions for disposal
Do not dispose of consumer waste.
EC-DECLARATION OF CONFORMITY
In accordance with European directive 2006/42/EG, part II A
We hereby certify that the machine described hereafter, in its design and construction and in the model put into circulation, complies with all relevant health and safety requirements of the EC machinery directive 2006/42/EG. Any modification to our product, without our written consent, will result in this declaration becoming void.
Manufacturers name or of his representative: Newstar Computer Products Europa B.V.
- Description of the machine: Electric lifting column unit for display systems
- Part-No: NM-HUB2LIFTBLACK
- NM-HUB2LIFTSILVER
Complete EC-Declaration can be requested via [email protected].

















