Neomounts DS15-625WH1 Tablet Stand

PARTS
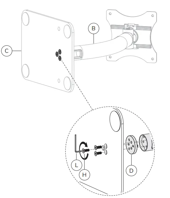
STEP 1
- Mount the desk stand to the rod

STEP 2
- Install the mount on a countertop

STEP 3
- Attach the holder to the pole

STEP 4
- Attach the adhesive pads

Attach pads according to the tablet:
- E. 2 mm – for tablet depth 7,5-8,5 mm
- F. 3 mm – for tablet depth 6,5-7,5 mm
- G. 4 mm – for tablet depth less than 6,5 mm
STEP 5
- Place the tablet in the holder and lock the holder

STEP 6
- Route the cables through the rod

- Adjust the mount to your desired position

Caution
- to ensure safety, please read this manual carefully before installation and follow the instructions. Store this manual in a secure place for future reference.
- The manufacturer shall not be legally responsible for any equipment damage or personal injury caused by incorrect installation or operation other than that covered in this manual.
- The mounts are designed for easy installation and removal.
- The manufacturer shall not be liable for damage to equipment or personal injuries arising out of human factors or acts of nature, such as earthquakes or typhoons. it is recommended that the mount be installed Dy qualified personnel only.
- At least two persons are needed to install or remove the product to avoid the hazard of falling objects. ease carefully inspect the area where the mount is to De installed.
- Avoid places that are subject to high temperatures, humidity, or contact with water.
- Do not install the product near air conditioning vents or areas with excess dust and fumes. only install on vertical walls and avoid slanted surfaces.
- Do not install in places subject to direct exposure to bright light, as it may cause eye fatigue when viewing the display panel.
- Maintain sufficient space around the display to ensure adequate ventilation.
- To ensure a safe installation, first check the structure of the wall, ceiling, or floor and select a secure mounting location.
- The wall, ceiling, or floor should be strong enough to sustain a weight of at least four times of the display and mount combined. The mounting location must be able to withstand earthquakes or other strong shock
- Do not modify any accessories or use broken parts. Contact your dealer with any questions.
- tighten all screws (do not exert excessive force to avoid breaking the screw or damaging its thread).
- Drill holes and bolts will be left in the wall, ceiling, or floor once the display and bracket are removed. Stains may occur after extended use.
- Since the manufacturer has no way to control the wall, ceiling, or floor type and installation of the mount, the warranty of the product shall only cover the body of the mount. The warranty period of the product is 5 years.
- Please consult the English language manual for any dispute on conditions.


























