RAMOND FR49908 LED Multi Light Pendant
Instruction Manual
FR49908 LED Multi Light Pendant
ASSEMBLY
ANCHOR POINTS
DRIVER WIRING
Mounting Instructions
start here
- Find a clear area in which you can work.
- Unpack fixture and glass from carton.
- Carefully review instructions prior to assembly.
Shut off electrical current before starting. If the fixture you are replacing is turned on and off by a wall switch, simply turn the switch off. If not, remove the appropriate fuse (or open the circuit breakers) until the fixture is dead.• DO NOT restore current – either by fuse, breaker, or switch – until the new fixture is completely wired and in place.
- To begin installation of your fixture it will first be necessary to remove the mounting plate (A) from the canopy (B). This is accomplished by first removing the screws (C), located on the side of the canopy. Set screws in a safe place for use later.
- Next attach mounting plate (A) to junction box (J) with two screws (D), NOT PROVIDED.- see Drawing 2.
SAFETY WARNING: READ WIRING AND GROUNDING INSTRUCTIONS AND ANY ADDITIONAL DIRECTIONS. TURN POWER SUPPLY OFF DURING INSTALLATION. IF NEW WIRING IS REQUIRED, CONSULT A QUALIFIED ELECTRICIAN OR LOCAL AUTHORITIES FOR CODE REQUIREMENTS. - After all connections are made, tuck wires into junction box (J) and slip canopy (B) over mounting tabs (A) and align threaded holes in tab (A) with holes (H) in canopy (B).
- Thread in screws (C) removed earlier, and tighten to secure fixture to ceiling.
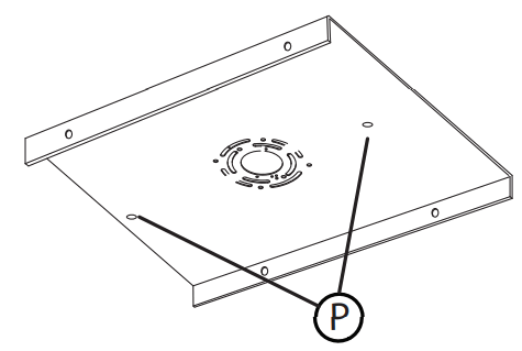
NOTE: The mounting plate of this fixture has additional anchor points (P) in the corners. It is necessary that this additional points of support be used – see Drawing 2. IMPORTANT: due to the weight of this fixture. IT MUST BE MOUNTED INDEPENDENTLY OF THE JUNCTION BOX. SEE “MOUNTING PLATE INSTRUCTION SHEET” PROVIDED.
ADDITIONAL ANCHOR POINTS
DRAWING 1 – INSPECTION CABLES
Mounting Plate Installation Instructions
IMPORTANT: THIS FIXTURE IS IN EXCESS OF 50 LBS. AND MUST BE MOUNTED INDEPENDENTLY OF THE UNCTION BOX. THE MOUNTING PLATE MUST BE MOUNTED TO THE CEILING USING APPROPRIATE MOUNTING HARDWARE AND BE MOUNTED TO A JOIST OR OTHER STRUCTURE THAT WILL PROPERLY SUPPORT THE WEIGHT.
NOTE: USE THE APPROPRIATE HARDWARE FOR ANCHORING. DIFFERENT MATERIALS REQUIRE DIFFERENT HARDWARE. IT IS UP TO THE INSTALLER TO ACQUIRE THE REQUIRED HARDWARE AND TO INSURE THE FIXTURE IS INSTALLED INDEPENDENTLY OF THE JUNCTION BOX.
INSPECTION CABLES
This luminaire is supplied with inspection cables, that can be hooked onto the canopy to ease the wiring process during installation – see Drawing 1.
To attach the inspection cables, lift the fixture up, assistance is recommended, and hook the cable from the mounting plate to the tab in the canopy. After attaching all the cables the fixture can hang while the wiring is completed.
After wiring is completed see mounting instructions supplied to finish installation.
HARMONY WIRING INSTRUCTIONS
WHAT YOU SHOULD KNOW BEFORE STARTING.
- Fixture pendents are wired to to the canopy driver with max lead wire length. The wire length of the pendents can be adjusted using two different options.
- To begin assembly it will be necessary to first determine the basic pattern you want to achieve for your fixture. Sketching out a basic design on a piece of paper is recommended. There is an infinite amount of patterns that could be achieve so use your inner artistic talent and go wild. MAKE SURE TO
ESTABLISH A LENGTH FOR EACH CABLE FOR THE PATTERN YOU HAVE DECIDED ON. MARK THE APPROXIMATE LENGTH ON THE CABLE WITH A PIECE OF TAPE OR MARKER.
Power can be left on while adjusting pendent lengths
OPTION 1
If adjusting less then 18″ of wire. Wire can be stuffed inside the pendent body refer to drawing 4
OPTION 2 If adjusting more then 18″ of wire
- Unscrew cap from pendent and move cap to desired spot on wire -Drawing 6
- Remove wire nuts that connect the pendent LED to the cable. Keep wire nuts
- Leave 5″ of wire from cap and cut off excess cable to achieve desired
- Tie knot with the cable at base of cap -DRAWING 5
- Now strip the cable jacket off, approximately 1” from the end, exposing the Red and Black insulated wire inside. -Drawing 5
- Now strip 1/4” of the insulation from the end of the Red and Black wire.
- Reconnect pendent LED to cable using the previously removed wire nuts (Red-Red) (Black-Black)
- Replace pendent cap

A Division of Hinkley Lighting, Inc.
33000 PIN OAK PARKWAY
AVON LAKE, OHIO 44012
toll free 800.446.5539
phone 440.653.5500

















