HINKLEY FR31037 Onyx Large Pendant

Mounting Instructions
- Find a clear area in which you can work.
- Unpack fixture and glass from carton.
- Carefuly review instructions prior to assembly.
- Shut off electrical current before starting. If the fixture you are replacing is turned on and off by a wall switch, simply turn the switch off. If not, remove the appropriate fuse (or open the circuit breakers) until the fixture is dead.
- DO NOT restore current either by fuse, breaker, or switch- until the new fixture is completely wired and in place.
- Determine the desired height the pendant will be installed.
- The fixture is supplied with assorted stem sizes. Determine what combinations of stems are needed to achieve desired length- see Drawing 1.
- Slip stems over wire and thread first stem onto top of pendant, longest stem first.
Repeat this process until all required stems are threaded together. - Slip wire through center hole of canopy swivel and thread swivel onto the top of the last stem installed
DRAWING 1 ASSEMBLY
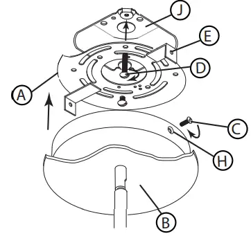
- To begin installation of your fixture it will first be necessary to remove the mounting plate (A) from the canopy (B). This is accomplished by first removing the two screws (C), located on the side of the canopy. Set screws in a safe place for use later.
- Next attach mounting plate (A) to junction box (J) with two screws (D), NOT PROVIDED.- see Drawing 2.
- Now make all necessary electrical connections following instruction sheet IS 0-10V (provided)
- SAFETY WARNING: READ WIRING AND GROUNDING INSTRUCTIONS IS 0-10v AND ANY ADDITIONAL DIRECTIONS. TURN PoWER SUPPLY OFF DURING INSTALLATION. IF NEW WIRING IS REQUIRED, CONSULT A QUALIFIED ELECTRICIAN OR LOCAL AUTHORITIES FOR CODE REQUIREMENTS. Make electrical connections from supply wire to fixture lead wires. Refer to the instruction sheet IS 0-10V and follow all instructions to make all necessary wiring connections. Then refer back to this sheet to complete the installation of this fixture.
- After all connections are made, tuck wires into junction box (J) and slip backplate (B) over mounting tabs (A) and align threaded holes in tab (Awith holes (H) in backplate (B).
- Thread in screws (C) removed earlier, and tighten to secure fixture to ceiling
DRAWING 2 – MOUNTING
Wiring Instructions for 0-10 volt LED dimmer
Your fixture is designed so it can use a standard incandescent dimmer, Or a 0-10 volt LED dimmer. If a 0-10 volt LED dimmer is used, it may be necessary to have additonal wiring installed from the dimmer switch to the fixture. Consulting an electrician will be necessary.
- If using the optional 0-10 volt dimmer there will be four wires exiting the junction box. (B) Black [+]. (W) White [H. wing are for the 120/ 277 voltage. The (G) Gray {-} and (P) Purple {+} are for the 0-10 volt wires from the dimmer (D) – see Drawing 1.
- The fixture has four wires of corrisponding colors. When make the wire connections follow the chart below. Black (B) from junction box (J) wired to Black (B) from fixture (F). White (W) from junction box (J) wired to White (W) from fixture (F). Gray (G) from junction box (J) wired to Gray (G) from fixture (F). Purple (P) from junction box (J) wired to Purple (P) from fixture (F).
- After all wiring connections are made consult instruction sheet (IS-19-50) to complete installation.
INCANDESCENT DIMMER USAGE
- If using an incadescent dimmer follow manufactures instructions.
- NOTE: MAKE SURE TO CAP OFF THE GRAY AND PURPLE VWIRE FROM THE FIXTURE INSIDE THE CANOPY. IF THE ARE NOT CAPPED THEY CAN SHORT OUT AND CAUSE THE FIXTURE TO FAIL.
DRAWING 1
- I Division of Hinkley Lighting, Inc. 33000 PIN OAK PARKWAY
- AVON LAKE, OHIO 44012 toll-free 800.446.5539 I phone 440.653.5500

















