HINKLEY 42308 Ophelia Medium Multi Tier Pendant Instruction Manual
Mounting Instructions
- Find a clear area in which you can work.
- Unpack fixture and glass from carton.
- Carefully review instructions prior to assembly
Shut off electrical current before starting. If the fixture you are replacing is turned on and off by a wall switch, simply turn the switch off. If not, remove the appropriate fuse (or open the circuit breakers) until the fixture is dead
DO NOT restore current – either by fuse, breaker, or switch – until the new fixture is completely wired and in place
- Determine the desired height the pendant will be installed.
- The fixture is supplied with assorted stem sizes.
Determine what combinations of stems are needed to achieve desired length – see Drawing 1. - Slip stems over wire and thread first stem onto top of pendant, longest stem first.
Repeat this process until all required stems are threaded together. - Slip wire through center hole of canopy swivel and thread swivel onto the top of the last stem installed.
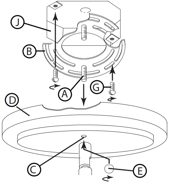
ASSEMBLY
- Prepare mounting strap (B) for mounting by installing screws (A) into mounting plate (B) – see Drawing 1.
- Be sure the holes into which the screws are threaded match the spacing of holes (C) in the canopy (1).
- Attach mounting plate (B) to junction box (J), using screws (G) NOT PROVIDED, and slip supply wires through large center hole.
SAFETY WARNING: READ WIRING AND GROUNDING INSTRUCTIONS (I.S. 18) AND ANY ADDITIONAL DIRECTIONS. TURN POWER SUPPLY OFF DURING INSTALLATION. IF NEW WIRING IS REQUIRED, CONSULT A QUALIFIED ELECTRICIAN OR LOCAL AUTHORITIES FOR CODE REQUIREMENTS.
Make electrical connections from supply wire to fixture lead wires.
Refer to instruction sheet (I.S. 18) and follow all instructions to make all necessary wiring connections.
Then refer back to this sheet to complete installation of this fixture.
- Hang the fixture by slipping canopy (D) over screws (B) and holding in position – see Drawings 1.
- Thread ball knobs (E) onto end of screws (B) and tighten to secure fixture to ceiling.
DRAWING 1 – ASSEMBLY
DRAWING 2 – MOUNTING
- Find a clear area in which you can work.
- Unpack fixture and glass from carton.
- Carefully review instructions prior to assembly.
DRAWING 3 – SHADE ASSEMBLY
- Use long hooks (I) to secure top shade (K) to middle piece (F)
- Next use short hooks (L) to secure middle shade (M) to top shade (K)
- Next use the left over short hooks (L) to secure middle shade (M) to bottom shade (O).
Note: bottom shade will have to be placed onto the center stem - Fixture can now be lamped and powered on

Wiring Grounding Instructions
SAFETY WARNING: READ WIRING AND GROUNDING INSTRUCTIONS (IS 18) AND ANY ADDITIONAL DIRECTIONS.
TURN POWER SUPPLY OFF DURING INSTALLATION. IF NEW WIRING IS REQUIRED, CONSULT A QUALIFIED ELECTRICIAN OR LOCAL AUTHORITIES FOR CODE REQUIREMENTS
Wiring instructions
Indoor Fixtures
- Connect positive supply wire (A) (typically black or the smooth, unmarked side of the two-conductor cord) to positive fixture lead (B) with appropriately sized twist on connector – see Drawings 1 or 2.
- Connect negative supply wire (C) (typically white or the ribbed, marked side of the two-conductor cord) to negative fixture lead (D).
- Please refer to the grounding instructions below to complete all electrical connections
Outdoor Fixtures
- Connect positive supply wire (A) (typically black or the smooth unmarked side of the two-conductor cord) to positive fixture lead (B) with appropriately sized twist on connector — see Drawings 2 or 3.
- Connect negative supply wire (C) (typically white or the ribbed, marked side of the two-conductor cord) to negative fixture lead (D).
- Cover open end of connectors with silicone sealant to form a watertight seal.
If installing a wall mount fixture, use caulk to seal gaps between the fixture mounting plate (backplate) and the wall.
This will help prevent water from entering the outlet box. If the wall surface is lap siding, use caulk and a fixture mounting platform specially. - Please refer to the grounding instructions below to complete all electrical connections.
Grounding instructions
Flush Mount Fixtures
For positive grounding in a 3-wire electrical system, fasten the fixture ground wire (E) (typically copper or green plastic coated) to the fixture mounting strap (M) with the ground screw (S) – see Drawing 1.
Note: On straps for screw supported fixtures, first install the two mounting screws in strap. Any remaining tapped hole may be used for the ground screw.
Chain Hung Fixtures
Loop fixture ground wire (E) (typically copper or green plastic coated) under the head of the ground screw (S) on fixture mounting strap (M) and connect to the loose end of the fixture ground wire directly to the ground wire of the building system with appropriately sized twist-on connectors – see Drawing 2.
Post-Mount Fixtures
Connect fixture ground wire (E) (typically copper or green plastic coated) to power supply ground with appropriately sized twist-on connector inside post.
Cover open end of connector with silicone sealant to form a watertight seal – see Drawing 3.
CUSTOMER SUPPORT
HINKLEY 33000 Pin Oak Parkway, Avon Lake,
OH 44012 800.446.5539
440.653.5500
hinkley.com


















