2550860 Landen allen + roth 24-in x 30-in Lighted LED Surface
Instruction Manual

PARTS

HARDWARE

TOOLS REQUIRED

IMPORTANT SAFETY INSTRUCTIONS
When using an electrical furnishing, basic precautions should always be followed, including the following :
Read all instructions before using this furnishing.
DANGER – To reduce the risk of electric shock :
- Always unplug this furnishing from the electrical outlet before cleaning.
WARNING – To reduce the risk of burns, fire, electric shock, or injury to persons :
- Disconnect from outlet before putting on or taking off parts.
- Close supervision is necessary when this furnishing is used by, or near children, invalids, or disabled persons.
- Use this furnishing only for its intended use as described in these instructions. Do not use attachments not recommended by the manufacturer.
- Never operate this furnishing if it has a damaged cord or plug, if it is not working properly, if it has been dropped or damaged, or dropped into water. Return the furnishing to a service center for examination and repair.
- Keep the cord away from heated surfaces.
- Never operate the furnishing with the air openings blocked. Keep the air openings free of lint, hair, and the like.
- Never drop or insert any object into any opening.
- Do not use outdoors.
- Do not operate where aerosol (spray) products are being used or where oxygen is being administered.
- To disconnect, turn all controls to the off position, then disconnect from outlet.
- For grounded products the following statement :
WARNING : Risk of Electric Shock – Connect this furnishing to a properly grounded outlet only. See Grounding Instructions. - Mount furnishings at correct height of 30 in to 63 in.
- SAVE THESE INSTRUCTIONS.
- GROUNDING INSTRUCTIONS. This product must be connected to a grounded metal, permanent wiring system, or an equipment-grounding conductor must be run with the circuit conductors and connected to the equipment-grounding terminal or lead on the product.
- WARNING Risk of Electric Shock, Fire, and Injury.
- Connect the furnishing to a branch circuit provided with Class A GFCI protection. Review the assembly instructions to confirm that the appropriate critical components and accessories are being used with the furnishing.
STORAGE INSTRUCTIONS
For safe and proper storage of this product, the following guidelines must be observed :
- The cord should be rolled up and securely fastened to the unit using tape or similar material which will not damage the finish of the product.
- The product should be stored safely in a box of adequate size and a piece of Styrofoam covering the entirety of the product should be placed on top and underneath the product.
- Store the unit in a dry and cool place, as humidity may damage the integrity of the electronics and other moisture sensitive components.
- Do not store or hold liquids or containers holding liquids in this storage area.
SAFETY INFORMATION
Please read and understand this entire manual before attempting to assemble, operate or install the product.
- Handle the glass with caution! Improperly handling the glass can cause it to break.
- You will need at least two people to install this unit properly.
- The distributor is not responsible for any damage to the unit or personal property caused by improper installation.
- Carefully remove product from packaging and keep packaging until installation is complete.
- Inspect all parts for damage; if there is damage to the unit prior to installation, please contact customer service at the number provided in this guide.
- Install the product on a leveled surface.
- This device may not cause interference.
- This device must accept any interference, including interference that may cause undesired operation of the device.
Make sure that the electricity is turned off at the power source before proceeding with the installation.
Always unplug all the power supply cords from before moving the product, testing the product, or repairing the product.
INSTALLATION GUIDELINES

When installing this product, the screws should reach the wood studs behind the plasterboard wall. It is not recommended to install on a platerboard wall if the screws and anchors are not secured in the wood studs.
INSTALLATION


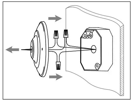
For a standard size junction box, a standard 4.9 in x 1 in round junction box cover can be used (Not Supplied).

Connect the neutral (N) and live (L) wires to your own, using the twist cap connectors (CC). Connect the lamp’s grounding wire to your main grounding wire with a twist-cap connector (CC). Safely stuff the wires inside your outlet box.
![]() | ![]() |
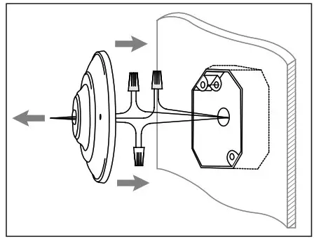
For a standard size junction box, a standard 4.9 in x 1 in round junction box cover can be used (Not Supplied).

Connect the neutral (N) and live (L) wires to your own, using the twistcap connectors (CC). Connect the lamp’s grounding wire to your main grounding wire with a twist-cap connector (CC). Safely stuff the wires inside your outlet box.

![]() | ![]() |
FCC STATEMENT
Warning: Changes or modifications to this unit not expressly approved by the party responsible for compliance could void the user’s authority to operate the equipment.
NOTE: This equipment has been tested and found to comply with the limits for a Class B digital device, pursuant to Part 15 of the FCC Rules.
These limits are designed to provide reasonable protection against harmful interference in a residential installation. This equipment generates, uses and can radiate radio frequency energy and, if not installed and used in accordance with the instructions, may cause harmful interference to radio communications.
However, there is no guarantee that interference will not occur in a particular installation. If this equipment does cause harmful interference to radio or television reception, which can be determined by turning the equipment off and on, the user is encouraged to try to correct the interference by one or more of the following measures:
- Reorient or relocate the receiving antenna.
- Increase the separation between the equipment and receiver.
- Connect the equipment into an outlet on a circuit different from that to which the receiver is connected.
- Consult the dealer or an experienced radio/TV technician for help.
This device complies with Part 15 of the FCC Rules. Operation is subject to the following two conditions:
- this device may not cause harmful interference, and
- this device must accept any interference received, including interference that may cause undesired operation.
The Responsible party information:
- Name: Lowe’s Home Centers LLC
- Website: www.lowes.com
- Address (USA): 1000 Lowe’s Blvd. Mooresville, NC 28117
- Telephone Number (USA & CANADA): +1 (866) 439-9800
CONSUMER RESPONSIBILITIES
The DISTRIBUTOR’s mirrors products will remain beautiful for many years if you properly care for them.
The DISTRIBUTOR does not recommend the use of harsh abrasive cleansers on any of its products. Harsh cleansers will damage the finish of your mirror.
MAINTENANCE
For daily maintenance, use a wet cloth and a soft liquid cleaner.
Never use abrasive cleaners or strong bleach, scrapers, metallic brushes, or other objects or any products which can graze or tarnish surfaces.
LIMITED 1 YEARS WARRANTY
This warranty extends only to the original owner user for personal household use only. For commercial uses, additional limitations may apply.
► The DISTRIBUTOR warrants your satisfaction with each mirror. Should any mirror not meet your satisfaction due to a visual defect, simply return it to your retailer with the original packaging, PRIOR TO INSTALLATION, for a replacement.
► The DISTRIBUTOR warrants, mirrors to be free from defects in workmanship and materials under normal use and service for a period of one (1) year.
► The DISTRIBUTOR will, at its election, repair, replace, or make appropriate adjustment where the DISTRIBUTOR optional inspection discloses any such defects occurring in normal usage within the warranty periods.
► Please note that the DISTRIBUTOR is not responsible for installation or removal costs.
► Modification of any mirror’s components may void the warranty. This warranty does not cover any claim arising from abuse, misuse, negligence, accident, improper installation or operation on the part of the purchaser. This warranty is void if the DISTRIBUTOR’s product is subject to alterations, or if repairs were done to the mirror unit.
► This warranty does not extend to any components installed by dealers, installers or by any party other than the DISTRIBUTOR.
► Implied warranties, including that of merchantability or fitness for a particular purpose, are expressly limited in duration to the duration of this warranty.
► The DISTRIBUTOR disclaims any liability for special, incidental or consequential damages.
THE SOLE REMEDY PROVIDED BY THIS WARRANTY IS THE REPAIR OR REPLACEMENT OF DEFECTIVE PRODUCTS. THIS WARRANTY DOES NOT COVER THE COST OF REMOVAL OR INSTALLATION OF NEW PRODUCTS. THE WARRANTY WILL BE VOID IF THIS ITEM IS INSTALLED WITH OBVIOUS VISUAL DEFECTS.

Questions, problems, need help?
Call our customer service department at
866-439-9800, 8 a.m. – 8 p.m., EST, Monday – Sunday.
English and French speaking representatives available






















