
![]()
LS 60x
Product Manual
Foreword
Thank you for purchasing Aputure “Light Storm” LS 60x.
The Aputure LS 60x is a series of light storm brand new design with its own optical system lamps. The lamp integrates a new lens design to greatly improve the optical quality and texture of low-power light sources. Compact structure design, metal lamp body, excellent texture. LS 60d/x is the fixture with weather resistance design, to meet more severe use scenarios. Cooperate with the use of Barn doors, soft lightbox, and other accessories to enrich the use form of products. So that the product to meet the needs of light control in different occasions, easy to achieve broadcast level photography.
IMPORTANT SAFETY INSTRUCTIONS
When using this unit, basic safety precautions should always be followed, including the following:
- Read and understand all instructions before using.
- Close supervision is necessary when any fixture is used by or near children. Do not leave fixture unattended while in use.
- Care must be taken as burns can occur from touching hot surface.
- Do not operate the fixture if a cord is damaged or if the fixture has been dropped or damaged – until it has been examined by qualified service personnel.
- Position any power cables such that they will not be tripped over, pulled, or put into contact with hot surfaces.
- If an extension cord is necessary, a cord with an amperage rating at least equal to that of the fixture should be used. Cords rated for less amperage than the fixture may overheat.
- Always unplug the lighting fixture from the electrical outlet before cleaning and servicing, or when not in use. Never yank the cord to remove the plug from the outlet.
- Let the lighting fixture cool completely before storing.
- To reduce the risk of electric shock, do not immerse this fixture in water or any other liquids.
- To reduce the risk of fire or electric shock, do not disassemble this fixture. Contact Aputure Customer Service or take it to qualified service personnel when service or repair work is required. Incorrect reassembly may cause electric shock when the lighting fixture is in use.
- The use of an accessory attachment not recommended by the manufacturer may increase the risk of fire, electric shock, or injury to any persons operating the fixture.
- Power this fixture by connecting it to a grounded outlet.
- Please remove the protective film from the optical lens before use.
- Please do not block the ventilation and do not look at the light directly when it is powered on.
- Please do not place the LED lighting fixture near any liquids or other flammable objects.
- Only use a dry microfiber cloth to clean the product.
- Please have the product checked by authorized service personnel agent if your product has a problem.
- The malfunctions caused by unauthorized disassemble are not covered under the warranty.
- We recommend only using the original Aputure cable accessories. Please note that our warranty for this product does not apply to any repairs required due to any malfunctions of unauthorized Aputure accessories, although you may request such repairs for a fee.
- This product is certified by RoHS, CE, KC, PSE, and FCC. Please operate the product in full compliance with the operation standards. Please note that this warranty does not apply to repairs arising from malfunctions, although you may request such repairs on a chargeable basis.
- The instructions and information in this manual are based on thorough, controlled company testing procedures. Further notice will not be given if the design or specifications change.
SAVE THESE INSTRUCTIONS
FCC Compliance Statement
This device complies with Part 15 of the FCC Rules. Operation is subject to the following two conditions: (1) This device may not cause harmful interference. (2) This device must accept any interference received, including interference that may cause undesired operation.
Warning: Changes or modifications not expressly approved by the party responsible for compliance could void the user’s authority to operate the equipment.
NOTE: This equipment has been tested and found to comply with the limits for a Class B digital device, pursuant to Part 15 of the FCC Rules. These limits are designed to provide reasonable protection against harmful interference in a residential installation. This equipment generates uses and can radiate radio frequency energy and, if not installed and used in accordance with the instructions, may cause harmful interference to radio communications. However, there is no guarantee that interference will not occur in a particular installation. If this equipment does cause harmful interference to radio or television reception, which can be determined by turning the equipment off and on, the user is encouraged to try reorient or relocate the receiving antenna.
- Increase the separation between the equipment and receiver.
- Connect the equipment into an outlet on a circuit different from that to which the receiver is connected.
- Consult the dealer or an experienced radio/TV technician for help.
RF warning statement:
This device has been evaluated to meet general RF exposure requirements.
Check list
When you unbox the product, please make sure all the items listed below are included. Otherwise, please contact the seller immediately.


Product Details


Installations
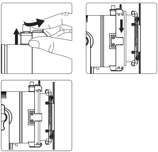
- Install the Bowens Mount Adapter
Lift the claw directly above the lamp cap and rotate it 90° to the side, then point the Bowens Mount Adapter at the other three slots on the lamp cap, place it into the slots from top to bottom, then lift the socket directly above and rotate it to the front.
Make sure the pick is pushed to the front of the claw before installation.
- Install the Barn Doors
Lift the claw directly above the lamp cap and rotate it 90° to the side, then point the Barn Doors at the other three slots on the lamp cap, place it into the slots from top to bottom, then lift the socket directly above and rotate it to the front.
Make sure the pick is pushed to the front of the claw before installation.
- Install the Battery case
* To remove the battery case, press the V-mount seat button and pull the battery case upward - Install the Adapter
* To remove the Adapter, press the V-mount seat button and pull the Adapter case upward.
The power supply
- Ac power supply
* Rotate the red rotary ring of the DC input connector clockwise, then pull out to remove the adapter. - Battery-powered
- Single battery power supply
* When using a single battery for power supply, be sure to install the battery in the battery slot corresponding to the red key; When removing the battery, press the red lock button to pull out the battery. Do not hard pull out.
* Rotate the red rotary ring of the DC input connector clockwise and then pull it out to remove the battery case. Do not pull it out forcibly.
* Single battery: Voltage 6~8.4V; Recommended ≥6.6A continuous discharge. - Dual battery power supply
* When using dual battery power supply, install the battery in the battery slot corresponding to the red/black lock key successively; When removing the battery, press the red/black lock button and then pull out the battery one by one. Do not pull it out forcibly.
* Rotate the red rotary ring of the DC input connector clockwise and then pull it out to remove the battery case. Do not pull it out forcibly.
* Dual battery: Voltage 12~16.8V; Recommended ≥6.6A continuous discharge. - V -Mount battery powered
* V-mount batteries are available for purchase.
* Rotate the red rotary ring of the DC input connector clockwise and then pull it out to remove the D-tap to DC Cable. Do not pull it out forcibly.
* Press the V port seat button and pull out the V-Mount battery upward. Do not pull it out forcibly.
* Do not use a battery with a specification of more than 21V. Using the wrong battery will cause damage to the lamp.
* Only use batteries that support the necessary continuous current discharge specifications mentioned above. If non-compatible batteries are used, the batteries will enter a protection state and the lighting fixture will not operate as intended.
- Single battery power supply
Operations
- Power on, the switch button can control the switching state of the Lamp Head.

- Manual control
- Rotate CCT adjusting knob to adjust CCT, clockwise to change the cool color, counterclockwise to change the warm color. Stepless adjustment can be realized.
Turn the brightness adjustment knob to adjust the brightness, clockwise to increase the brightness, counterclockwise to reduce the brightness. Stepless adjustment can be realized.
- Click the MENU key to enter the MENU interface, as shown below.
Rotate the “MENU” key to select MENU options, and click the “MENU” key to enter the selected MENU items;To exit the MENU interface, click the “MENU” key and select “exit” to return to the CCT interface.
- CCT mode
Select “CCT” from the menu interface and enter THE CCT mode. Rotate “MENU” to adjust CCT;Rotate the “OK” key to adjust the INT.Click “OK” to switch fixed CCTS: 2700K, 3200K, 4300K, 5600K, 6500K.
- FX mode
Select “FX Mode” from the menu interface. Rotate and click “OK” to enter different FX modes.
a. Paparazzi Mode
b. Fireworks Mode
* The CCT can be 3200K, 5600K or “random” in the firework light effect mode.
c. Faulty bulb Mode
d. Lightning Mode
* In lighting mode, short press the “OK” button to single trigger the light effect, long press the “OK” button to enter the cycle mode.
e. TV Mode
* In TV mode, the CCT can be switched between cool, neutral and warm colors.
f. Pulsing Mode
g. Strobe Mode
h. Explosion Mode
* In explosion mode, short press the Trigger button to single trigger the light effect.
* The adjustable frequency of explosion mode is 1~10.
i. Fire Mode
* In Fire mode, the CCT can be switched between cool, neutral, and warm colors.
Rotate the MENU key to select “CCT, INT, frequency”, and then rotate the “OK” knob to adjust the CCT(2700K~6500K), brightness value (10% ~ 100%), and frequency [1-10, R (random)].
* As of writing, you cannot set a fixed base CCT for certain effects, such as Fireworks, TV, and Fire.
* If the light is powered off, upon turning on again, the light resumes its last saved setting.
* In FX mode, click “MENU” to return to the light effects MENU interface. At this point, rotate “OK” to switch to different light effects. Click “MENU” again to return to the main MENU interface. At this time, the selected FX mode is still maintained. You can choose different options according to your needs, and select “CCT” to exit FX mode. - Wireless mode
Users can connect devices with the name LS 60x ****** through the bluetooth of their mobile phones or tablets (six digits + letters are the serial number of the machine). At this time, they can control the devices wirelessly through their mobile phones or tablets.
* Through the menu interface, select “Device serial number” to view the serial number of the device. - Dimming curve mode
Press “MENU” key to enter MENU mode, rotate “MENU” key to select “Dimming curve” item, click “MENU” key to enter “Dimming curve” mode, rotate “OK” key to select exponential, logarithmic, linear, and “S” dimming curve, and then click “OK” key to confirm the selection.
- Studio mode
Press “MENU” key to enter the MENU mode, rotate “MENU” key to select studio mode, click “MENU” key to enter studio mode, then rotate “OK” key to select “Yes” or “No”, and click “OK” key to open or close studio mode.
* When Studio Mode is active, the light will turn on as soon as it receives power, without having to press the power button.
* Studio Mode is active as the factory default. - Bluetooth reset
- Press “MENU” key to enter MENU mode, rotate “MENU” key to select Bluetooth reset, click “MENU” key to enter Bluetooth Reset mode, then rotate “OK” key to select “Yes” and press “OK” key short to reset Bluetooth (the current reset progress will be displayed on the pop-up interface, and the progress will be displayed within 5 seconds); Select “NO” to return to the previous menu.

- After resetting the light’s Bluetooth connection, your mobile phone or tablet will be able to connect to and control the LS 60x.
- If the Bluetooth Reset fails, a [Reset Failed] screen will pop up, and the light will return to Bluetooth mode after 2 seconds.
* The light must be connected to your mobile device using the Sidus Link mobile application, and not via your device’s typical Bluetooth connection menu.
- Press “MENU” key to enter MENU mode, rotate “MENU” key to select Bluetooth reset, click “MENU” key to enter Bluetooth Reset mode, then rotate “OK” key to select “Yes” and press “OK” key short to reset Bluetooth (the current reset progress will be displayed on the pop-up interface, and the progress will be displayed within 5 seconds); Select “NO” to return to the previous menu.
- Language
Press “MENU” key to enter MENU mode, rotate “MENU” key to select Language, click “MENU” key to enter Language MENU, rotate “OK” key to select English or Chinese, and then click “OK “key to confirm the selection.
* The factory default language is English. - Firmware version
Press the “MENU” key to enter the MENU mode, rotate the “MENU” key to select the firmware version number, click the key to enter the “Firmware version Number” interface, and then you can see the version information of the firmware.
- OTA mode
Firmware updates can be updated online via the Sidus Link app for OTA updates.
- Rotate CCT adjusting knob to adjust CCT, clockwise to change the cool color, counterclockwise to change the warm color. Stepless adjustment can be realized.
- Focusing
Optical “wide Angle” and “focus” can be achieved by rotating the focusing knob, clockwise rotation of the focusing knob to achieve “focus”, counterclockwise rotation of the focusing knob to achieve “wide Angle”.
- Using the Sidus Link APP
You can download the Sidus Link app from the iOS App Store or Google Play Store for enhancing the functionality of the light. Please visit sidus. link/app/help for more details regarding how to use the app to control your Aputure lights.
![]() | ![]() |
| https://sidus.link/app/help | https://m.sidus.link/download |
Specifications
| Light operating current | <6.5A | Light Power Consumption | 80W(Max) |
| Light Power Supply | 6-19V | Cooling Mode | Active Cooling |
| TLCI | 295 | CCT | 2700-6500K |
| CRI | 295 | Radio Frequency | 580m |
| Radio Frequency | 2.4GHz | ||
| Sizes (L X 9) | 195*100mm | ||
Illumination distribution map

* This is an averaged result, the number might be slightly different on each light.
* This illumination data is the data at CCT 5600K.
— Spot
— Flood
| CCT | Distance | |||
| 1m | 3m | 5m | ||
| 3200K | Flood | 5357 (lux) | 647 (lux) | 223 (lux) |
| Spot | 30132 (lux) | 3794 (lux) | 1339 (lux) | |
| 4300K | Flood | 5245 (lux) | 625 (lux) | 234 (lux) |
| Spot | 31248 (lux) | 3683 (lux) | 1395 (lux) | |
| 5600K | Flood | 5803 (lux) | 703 (lux) | 268 (lux) |
| Spot | 33480 (lux) | 4241 (lux) | 1451 (lux) | |
| 6500K | Flood | 5580 (lux) | 670 (lux) | 246 (lux) |
| Spot | 32364 (lux) | 4018 (lux) | 1395 (lux) | |
Trademarks
Bowens is a trademark or registered trademark of Bowens in the P.R.C and other countries. Anton bauer is a trademark or registered trademark of Anton bauer in the US and other countries. IDX is a trademark or registered trademark of IDX in the JP and other countries.

GUARANTEE CARD
| Serial No. | |
| Item Name | |
| Purchase Date | |
| Buyer Name | |
| Buyer Phone | |
| Buyer Add | |
| Franchiser Seal |
Aputure Imaging Industries Co., Ltd.
Inspection: Qualified
Add: F/3, Building 21, Longjun Industrial Estate, Heping West Road, Shenzhen, Guangdong
Service Warranty
Aputure Imaging Industries Co., Ltd. warrants the original consumer purchaser from defects in material and workmanship for a period of one (1) year after the date of purchase. For more details of warranty visit www.aputure.com
Important:
Keep your original sales receipt. Be sure the dealer has written on it the date, serial No. of the product. This information is required for warranty service.
This warranty does not cover:
- Damage that is the result of misuse, abuse, accident (including but not limited to damage by water), faulty connection, defective or
maladjusted associated equipment, or the use of the product with equipment for which it was not intended. - Cosmetic defects that appear more than thirty (30) days after the date of purchase. Cosmetic damage caused by improper handling is also excluded.
- Damage that occurs while the product is being shipped to whoever will service it.
This warranty is void if:
- The product identification or serial No. label is removed or defaced in any way.
- The product is serviced or repaired by any one other than Aputure or an authorized Aputure dealer or service agency.
Aputure Imaging Industries Co., Ltd.
Add F/3, Building 21, Longjun industrial estate, HePing West Road, Shenzhen, Guangdong
E-MAIL: [email protected]
Sales Contact: (86)0755-83285569-613


Make sure the pick is pushed to the front of the claw before installation.
* To remove the battery case, press the V-mount seat button and pull the battery case upward
* To remove the Adapter, press the V-mount seat button and pull the Adapter case upward.
* Rotate the red rotary ring of the DC input connector clockwise, then pull out to remove the adapter.
* When using a single battery for power supply, be sure to install the battery in the battery slot corresponding to the red key; When removing the battery, press the red lock button to pull out the battery. Do not hard pull out.
* When using dual battery power supply, install the battery in the battery slot corresponding to the red/black lock key successively; When removing the battery, press the red/black lock button and then pull out the battery one by one. Do not pull it out forcibly.
* V-mount batteries are available for purchase.
Turn the brightness adjustment knob to adjust the brightness, clockwise to increase the brightness, counterclockwise to reduce the brightness. Stepless adjustment can be realized.


a. Paparazzi Mode
* The CCT can be 3200K, 5600K or “random” in the firework light effect mode.
* In lighting mode, short press the “OK” button to single trigger the light effect, long press the “OK” button to enter the cycle mode.
* In TV mode, the CCT can be switched between cool, neutral and warm colors.
g. Strobe Mode
h. Explosion Mode
* In explosion mode, short press the Trigger button to single trigger the light effect.
* In Fire mode, the CCT can be switched between cool, neutral, and warm colors.
* As of writing, you cannot set a fixed base CCT for certain effects, such as Fireworks, TV, and Fire.
* Through the menu interface, select “Device serial number” to view the serial number of the device.
* When Studio Mode is active, the light will turn on as soon as it receives power, without having to press the power button.
* The factory default language is English.



















