HINKLEY 2680 Lakehouse Large Wall Mount Lantern

HINKLEY Fixture Assembly Instructions
HINKLEY fixtures are designed and manufactured to meet stringent standards for quality and durability. The following instructions will guide you through the assembly process for the HINKLEY 2680, 2684, and 2685 fixtures.
Assembly Instructions
start here
- Find a clear area in which you can work.
- Unpack fixture and glass from the carton.
- Carefully review instructions prior to assembly.
Fixture Mounting
To mount the fixture:

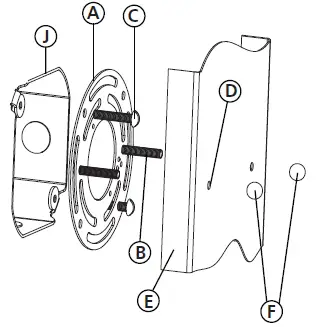
- Prepare mounting strap (A) by threading the two long mounting screws (B) into the back of the universal strap – see Drawing
- Attach mounting strap (A) to junction box (J) using two screws (C). (not provided)
- Safety Warning: Read wiring and grounding instructions (I.S. 18) and any additional directions. Turn power supply off during installation. If new wiring is required, consult a qualified electrician or local authorities for code requirements.
- Make electrical connections from supply wire to fixture lead wires. Refer to instruction sheet (I.S. 18) and follow all instructions to make all necessary wiring connections. Then refer back to this sheet to complete installation of this fixture.
- To mount fixture, slip the two mounting screws (B) through the two mounting holes (D) in the backplate (E) – see Drawing 1.
- While holding fixture in place, thread the two ball knobs (F) on to the end of the mounting screws (B), and tighten.
- Prepare mounting strap (A) by threading the two long mounting screws (B) into the back of the universal strap – see Drawing 1.
- Be sure the holes into which the screws are threaded match the spacing of holes (D) in the back plate (E).
- Attach mounting strap (A) to junction box (J) using two screws (C). (not provided)
Glass Installation
To install the glass:

- Remove screws (2) from under the roof (1). Making sure to set screws aside in a safe place. Drop cage (3) off of roof (1) – see Drawing 1.
- Remove screws (4) that hold the glass clip (5) in position. Make sure to place clip and screw in a safe place.
- Lift glass (6) out of fixture and remove packing material.
- Replace glass in fixture and re-install glass clips (5) and screws (4) to secure glass.
- Install light bulbs and replace roof (1), fixture is ready for installation.
Wiring Instructions
To wire indoor fixtures Connect positive supply wire (A) (typically black or the smooth, unmarked side of the two-conductor cord) to positive fixture lead (B) with appropriately sized twist on connector – see Drawings 1 or 2.
Indoor Fixtures
- Connect positive supply wire (A) (typically black or the smooth, unmarked side of the two-conductor cord) to positive fixture lead (B) with appropriately sized twist on connector – see Drawings 1 or 2.
- Connect negative supply wire (C) (typically white or the ribbed, marked side of the two-conductor cord) to negative fixture lead (D).
- Please refer to the grounding instructions below to complete all electrical connection
Outdoor Fixtures
- Connect positive supply wire (A) (typically black or the smooth unmarked side of the two-conductor cord) to positive fixture lead (B) with appropriately sized twist on connector — see Drawings 2 or 3.
- Connect negative supply wire (C) (typically white or the ribbed, marked side of the two-conductor cord) to negative fixture lead (D).
- Cover open end of connectors with silicone sealant to form a watertight seal.
- If installing a wall mount fixture, use caulk to seal gaps between the fixture mounting plate (backplate) and the wall. This will help prevent water from entering the outlet box. If the wall surface is lap siding, use caulk and a fixture mounting platform specially.
- Please refer to the grounding instructions below to complete all electrical connections.
Contact Information
If you have any questions or concerns about the assembly or usage of your HINKLEY fixture, please contact us at:
- HINKLEY
- 33000 Pin Oak Parkway, Avon Lake, OH 44012
- 800.446.5539 / 440.653.5500
- hinkley.com
SAFETY WARNING: READ WIRING AND GROUNDING INSTRUCTIONS (I.S. 18) AND ANY ADDITIONAL DIRECTIONS. TURN POWER SUPPLY OFF DURING INSTALLATION. IF NEW WIRING IS REQUIRED, CONSULT A QUALIFIED ELECTRICIAN OR LOCAL AUTHORITIES FOR CODE REQUIREMENTS
Make electrical connections from supply wire to fixture lead wires. Refer to instruction sheet (I.S. 18) and follow all instructions to make all necessary wiring connections. Then refer back to this sheet to complete installation of this fixture.
- To mount fixture, slip the two mounting screws (B) through the two mounting holes (D) in the backplate (E) – see Drawing 1.
- While holding fixture in place, thread the two ball knobs (F) on to the end of the mounting screws (B), and tighten.
grounding instructions
Flush Mount Fixtures
For positive grounding in a 3-wire electrical system, fasten the fixture ground wire (E) (typically copper or green plastic coated) to the fixture mounting strap (M) with the ground screw (S) – see Drawing 1.
Note: On straps for screw supported fixtures, first install the two mounting screws in strap. Any remaining tapped hole may be used for the ground screw.

Chain Hung Fixtures
Loop fixture ground wire (E) (typically copper or green plastic coated) under the head of the ground screw (S) on fixture mounting strap (M) and connect to the loose end of the fixture ground wire directly to the ground wire of the building system with appropriately sized twist-on connectors – see Drawing 2.

Post-Mount Fixtures
Connect fixture ground wire (E) (typically copper or green plastic coated) to power supply ground with appropriately sized twist-on connector inside post. Cover open end of connector with silicone sealant to form a watertight seal – see Drawing 3.

IS200 Caulking Instructions
start here
After securing fixture to the wall it is recommended that the gap between the wall and the fixture backplate be sealed on the top and both sides, with a good quality waterproof caulk or silicone sealant (NOT INCLUDED) – see Drawing 1.

After securing fixture in place it is recommended that the gap between the mounting top and fixture base be sealed with any good quality waterproof caulk or silicone sealant (not included). It is also recommended that a small bead of caulk or sealant be put under the ball knobs used to mount fixture – see Drawing 2.

HINKLEY 33000 Pin Oak Parkway, Avon Lake, OH 44012 800.446.5539 / 440.653.5500 hinkley.com


















