HINKLEY 23300 Briar LED 16 Inch Museum Black Outdoor Wall Mount Lantern

installation
Glass installation
- Find a clear area in which you can work.
- Unpack fixture and glass from carton.
- Carefully review instructions prior to assembly.
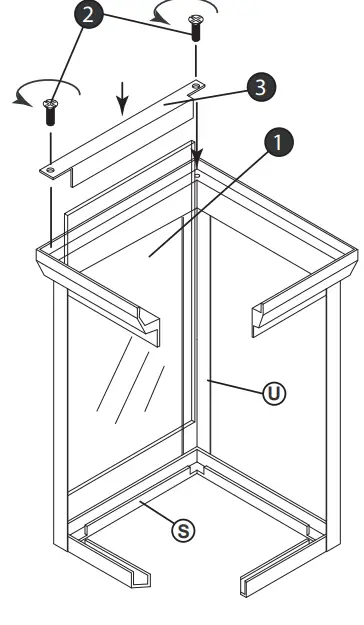
- To install the glass panels (1), first remove the four screw (2) that hold the four glass brackets (3) in place – see Drawing 1.

- After screws and brackets are removed The glass panels (1) can be slipped into place. This is accomplished by taking one panel and slipping the top edge of the glass into the slot (S) located in the top of the cage. Next center the glass between the upright (U). Now replace one of the brackets (3) removed earlier. Now slip in second panel of glass and thread a screw (2) in the corner where the brackets (3) overlap. Repeat process until all glass (1) panels are installed and all bracket and screws replaced.
- Glass installation is complete.
Wall Mounting Instructions
- Find a clear area in which you can work.
- Unpack fixture and glass from carton.
- Carefully review instructions prior to assembly.
- Prepare mounting strap (A) by threading two machine screws (B)(provided), into back of gull wing section of mounting strap (A) – see Drawing 1.

Be sure the holes into which the screws are threaded match the spacing of holes (D) in the back plate (1) – see Drawings 1 and 2. - Attach mounting strap (A) to junction box (J), (mounted in wall) using two (8-32) screws 1” long (C), NOT PROVIDED – see Drawing 2.
SAFETY WARNING
SAFETY WARNING: READ WIRING AND GROUNDING INSTRUCTIONS (I.S. 18) AND ANY ADDITIONAL DIRECTIONS. TURN POWER SUPPLY OFF DURING INSTALLATION. IF NEW WIRING IS REQUIRED, CONSULT A QUALIFIED ELECTRICIAN OR LOCAL AUTHORITIES FOR CODE REQUIREMENTS.
Make electrical connections from supply wire to fixture lead wires. Refer to instruction sheet (I.S. 18) and follow all instructions to make all necessary wiring connections. Then refer back to assembly instructions for the purchased fixture to complete any assembly required.
- To attach fixture to the wall slip screws (B), in the mounting strap (A), through holes (D) in backplate (1) – see Drawing 2.

- Thread on barrel knobs (F) and tighten till canopy is flat against the wall.
- Fixture can now be lamped accordingly.
wiring grounding instructions
SAFE TY WARNI NG: READ WIRIN G AND GROUNDING INSTRUCTIO NS (IS 18) AND ANY ADDITIONAL DIRECTIONS. TURN POWER SUPPLY OFF DURING INSTALLATION. IF NEW WIRING IS REQUIRED, CONSULT A QUALIFIED ELECTRICIAN OR LOCAL AUTHORITIES FOR CODE REQUIREMENTS
wiring instructions
Drawing 1 – Flush Mount
Indoor Fixtures
- Connec t positive supply wire (A ) (typically black or the smooth, unmarked side of the two-conduc tor cord) to positive fixture lead (B) with appropriately sized twist on connector – see Drawings 1 or 2.
- Connec t negative supply wire (C) (typically white or the ribbed, marked side of the two-conductor cord) to negative fixture lead (D).
- Please refer to the grounding instructions below to complete all electrical connections
Drawing 2 – Chain Hung
Outdoor Fixtures
- Connect t positive supply wire (A) (typically black or the smooth
unmarked side of the two-conduc tor cord) to positive fixture lead (B) with appropriately sized twist on connector — see Drawings 2 or 3. - Connect t negative supply wire (C) (typically white or the ribbed, marked side of the two-conductor cord) to negative fixture lead (D).
- Cover open end of connectors with silicone sealant to form a
watertight seal.
If installing a wall mount fixture, use caulk to seal gaps between the fixture mounting plate (backpla te) and the wall. This will help prevent water from entering the outlet box. If the wall surface is lap siding, use caulk and a fixture mounting platform specially. - Please refer to the grounding instructions below to complete all electrical connections.
Grounding instructions
Drawing 3 – Post-Mount
Flush Mount Fixtures
For positive grounding in a 3-wire electrical system, fasten the fixture ground wire (E) (typically copper or green plastic coated) to the fixture mounting strap (M ) with the ground screw (S) – see Draw in g 1.
Note: On straps for screw supported fixtures, first install the two mounting screws in strap. Any remaining tapped hole may be used for the ground screw.
Chain Hung Fixtures
Loop fixture ground wire (E) (typically coppe r or green plastic coated) under the head of the ground screw (S) on fixture mounting strap (M) and connect to the loose end of the fixture ground wire directly to the ground wire of the building system with appropriately sized twist-on connectors – see Draw in g 2.
Post-Mou nt Fixtures
Connect t fixture ground wire (E) (typically copper or green plastic coated) to power supply ground with appropriately sized twist-on connector inside post. Cover open end of the connector with silicone sealant to form a watertight seal – see Drawing 3.
IS200 Caulking Instructions
After securing fixture to the wall it is recommended that the gap between the wall and the fixture backplate be sealed on the top and both sides, with a good quality waterproof caulk or silicone sealant (NOT INCLUDED) – see Drawing 1.

After securing fixture in place it is recommended that the gap between the mounting top and fixture base be seal ed with any good quality waterproof caulk or silicone sealant (not incl uded). It is also recomm ended that a small bead of caulk or sealant be put under the ball kn obs used to mount fixture – see Drawing 2.
HINKLEY 33000 Pin Oak Parkway, Avon Lake, OH 44012 800.446.5539 / 440.653.5500 hinkley.com




















