HINKLEY 12190 Small Wall Mount Lantern Instruction Manual
Assembly Instructions
- Find a clear area in which you can work.
- Unpack fixture and glass from carton.
- Carefully review instruction prior to assembly
The construction of this fixture will be accomplished by first attaching the mounting bracket to the junction box, making all necessary electrical connections, mounting the fixture body to the mounting bracket.
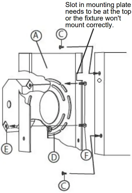
- Remove main mounting plate (A) from the fixtures backplate(B) by removing the flat head screws (C) – see Drawing 1.
- Slide the wires from the junction box, through the large center hole, making sure curved slots (D) line up with the threaded holes (E) in the junction box.
- Using two 8-32 screws (F) [not provided] attach the main mounting plate (A) to the junction box, making sure side of mounting plate (A) is vertical.
- Now wire fixture following instruction sheet (6-18): 5. Replace screws (C) removed earlier into holes to secure backplate (B)

Drawing 1 – Fixture Mounting
SAFETY WARNING
READ WIRING AND GROUNDING INSTRUCTIONS (I.S. 18) AND ANY ADDITIONAL DIRECTIONS. TURN POWER SUPPLY OFF DURING INSTALLATION. IF NEW WIRING IS REQUIRED, CONSULT A QUALIFIED ELECTRICIAN OR LOCAL AUTHORITIES FOR CODE REQUIREMENTS.
Make electrical connections from supply wire to fixture lead wires. Refer to instruction sheet (I.S. 18) and follow all instructions to make all necessary wiring connections. Then refer back to this sheet to complete installation of this fixture.
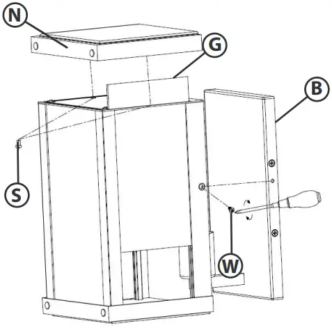
Cage Assembly
- Take off fixture top (N) by removing screws (S)
- Slide glass panels (G) into fixture cage
- Replace fixture top (N) and screws (S)
- Secure fixture cage to backplate (B) using screws (W)
- Fixture can now be powered on

Wiring grounding instructions
SAFE TY WARNI NG: READ WIRIN G AND GR OUNDING INSTRUCTIO NS (IS 18) AND ANY ADDITIONAL DIRECTIONS. TURN POWER SUPPLY OFF DURING INSTALLATION. IF NEW WIRING IS REQUIRED, CONSU LT A QUALIFIED ELECTRICIAN OR LOCAL AUTHORITIES FOR CODE REQUIREMENTS
wiring instructions
Indoor Fixtures
- Connect positive supply wire (A ) (typically black or the smooth, unmarked side of the two conductor cord) to positive fixture lead (B ) wit h appropriately sized twist on connector – see Drawings 1 o r 2.
- Connect negative supply wire (C) (typically white or the ribbed , marked side of the two-conduc tor cord) to negative fixture lead (D).
- Please refer to the grounding instructions below to complete all electrical connections.

Drawing 1 – Flus h Mount
Outdoor Fixtures
- Connect positive supply wire (A) (typical ly black or the smooth unmarked side of the two-conductor cord) to positive fixture lead (B) with appropriately sized twist on connector — see Drawings 2 or 3.
- Connect negative supply wire (C) (typically white or the ribbed , marked ide of the two-conductor cord) to negative fixture lead (D).
- Cover open end of connectors with silicone sealant to form a watertight seal.
If installing a wall mount fixture, use caulk to seal gaps between the fixture mounting p late (backplate) and the wall. This will he lp prevent water from entering the out let box . If the wall sur face is lap siding, use caulk and a fixture mounting plat form specially. - Please refer to the grounding instructions below to complete all electrical connections.

Drawing 2 – Chain Hung
Grounding instructions
Flush Mount Fixtures
For positive grounding in a 3-wire electrical system, fasten the fixture ground wire ( E) (typically copper or green plastic coated) to the fixture mounting strap (M ) wit h the ground screw ( S) – see D r aw in g 1.
Note: On straps for screw supported fixtures, first install the two mounting screws in strap. Any remaining tapped hole may be used for the ground screw.
Chain Hung Fixtures
Loop fixture ground wire ( E ) (typically copper or green plastic coated) under the head of the ground screw ( S ) on fixture mounting strap ( M ) and connect to the loose end of the fixture ground wire directly to the ground wire of the building system wit h appropriately sized twist-on connectors – see D r aw in g 2.
Post-Mount Fixtures
Connect fixture ground wire ( E ) (typical ly copper or green plastic coated) to power supply ground wit h appropriately sized twist-on connector inside post. Cove r open end of connector with silicone sealant to form a water tight seal – see Drawing 3.
Drawing 3 – Post-Mount
Caulking Instructions
After securing fixture to the wall it is recommended that the gap between the wall and the fixture backplate be sealed on the top and both sides, with a good quality waterproof caulk or silicone sealant (NOT INCLUDED) – see Drawing 1.
After securing fixture in place it is recommended that the gap between the mounting top and fixture base be sealed with any good quality waterproof caulk or silicone sealant (not included). It is also recommended that a small bead of caulk or sealant be put under the ball knobs used to mount fixture – see Drawing 2.




















