HINKLEY 13300 Yale 1-lt 18 Inch Tall Outdoor Wall Mount Lantern

Assembly Instructions
Item No . 13300 / 1 3304 / 13303
start here
- Find a clear area in which you can work.
- Unpack fixture and glass from carton.
- Carefully review instructions prior to assembly.
Drawing 1 – Glass Installation 
- To install the glass, start by removing the roof of the fixture (L) from the cage of the fixture. this is accomplished by unthreading the half round knob (K) on the top of the roof -see Drawing 1.
- Next remove one the screws (A) that are holding the cross starp (S) on the cage (B) so it can be rotated out of the way to install the glass.
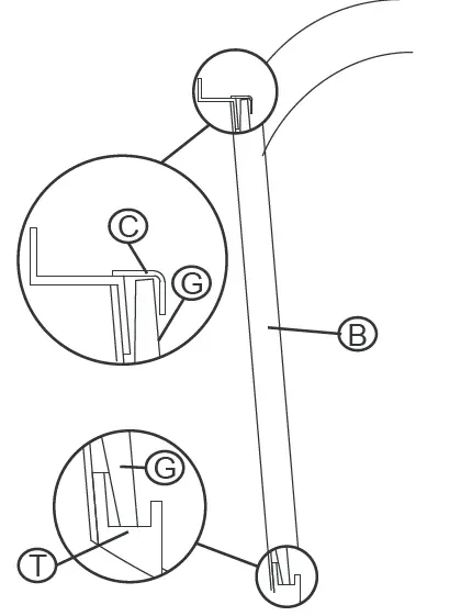
Drawing 2 – Glass Installation 
- To install the glass in the fixture, start by bending the glass clips (C), at the top of the cage (B), up to clear a path for the glass – see drawing 2.
- Then slide the glass (G) through the top of the cage (B) and set bottom edge of the glass into track (T) at the bottom of the cage (B).
- Once in the track (T), bend the clips (C) back over the top of the glass (G) to secure it in place.
- Once the four glass panels are in place and fixture has been lamped attach cross strap (S) to the cage (B) using screw (A) removed earlier. Next place roof (L) onto the cage (B) and thread half round knob (K) onto the stem (P).
HINKLEY 33000 Pin Oak Parkway,
A von Lak e, OH 440 1 2 8 00 .4 4 6 . 55 39 / 4 4 0 .6 5 3 . 55 0 0


















