4558 18.25 Inch Height Outdoor Lantern Wall Sconce
Instruction Manual
4558 18.25 Inch Height Outdoor Lantern Wall Sconce
IS 4558 Mounting Instructions
SAFETY WARNING: READ WIRING AND GROUNDING INSTRUCTIONS (IS 18) AND ANY ADDITIONAL DIRECTIONS. TURN POWER SUPPLY OFF DURING INSTALLATION. IF NEW WIRING IS REQUIRED, CONSULT A QUALIFIED ELECTRICIAN OR LOCAL AUTHORITIES FOR CODE REQUIREMENTS.
- Shut off electrical current before starting. If the fixture you are replacing is turned on and off by a wall switch, simply turn the switch off. If not, remove the appropriate fuse (or open the circut breakers) until the fixture is dead.
• DO NOT restore current – either by fuse, breaker or switch – until the new fixture is completely wired and in place.
- Determine the desired height the chandelier will be installed.
- The fixture is supplied with a variety of stem lengths. Determine what combination of stems are needed to achieve desired length – see Drawing 1.
Drawing 1 – Stem Assembly
- Slip stems over wire and thread first stem onto top of chandelier. Repeat this process until all required stems are threaded together.
- After last stem is threaded on slip wire through center hole in loop (L) – see Drawing 2.
- Thread loop (L) onto top of last stem and tighten. Now slip wire through the center hole of the loop (T) that is attached to the canopy.
- Fixture is ready for installation.
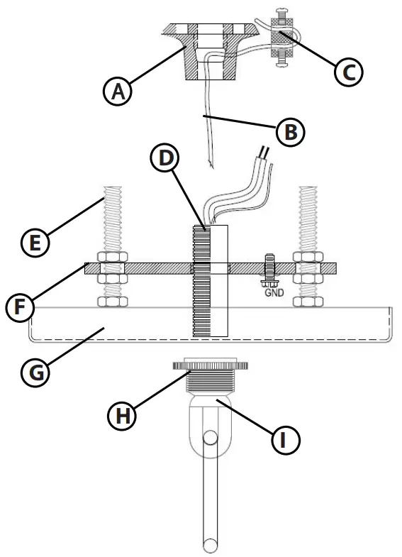
Drawing 2 – Mounting Instructions
- To mount fixture first secure safety cable holder (A) to mounting surface outside junction box
- Thread safety cable (B) through holder (A)
- Place clamp (C) onto end of safety cable (B) to prevent safety cable from sliding back through holder
- Secure mounting screws (E) to junction box
- Slide canopy (G) up toward mounting plate (F)
- Thread loop (I) onto nipple (D) and use collar (H) to secure canopy (G)
Assembly Instructions+
item no: 4558
DRAWING 1 – CRYSTAL INSTALLATION
- Find a clear area in which you can work.
- Unpack fixture and glass from carton.
- Carefully review instructions prior to assembly.
DRAWING 2 – CRYSTAL INSTALLATION
The fixture is supplied with crystals. These crystal are to be installed by inserting the end of the crystal clip (C) – see Drawing 1, into the holes in the inner and outer rings – see Drawing 2.
There are 48 crystals on the inner ring and 72 crystals on the outer ring.
I.S. 18 wiring grounding instructions
SAFETY WARNING: READ WIRING AND GROUNDING INSTRUCTIONS (IS 18) AND ANY ADDITIONAL DIRECTIONS. TURN POWER SUPPLY OFF DURING INSTALLATION. IF NEW WIRING IS REQUIRED, CONSULT A QUALIFIED ELECTRICIAN OR LOCAL AUTHORITIES FOR CODE REQUIREMENTS.
Wiring instructions
Indoor Fixtures
- Connect positive supply wire (A) (typically black or the smooth, unmarked side of the two-conductor cord) to positive fixture lead (B) with appropriately sized twist on connector – see Drawings 1 or 2.
- Connect negative supply wire (C) (typically white or the ribbed, marked side of the two-conductor cord) to negative fixture lead (D).
- Please refer to the grounding instructions below to complete all electrical connections
Outdoor Fixtures
- Connect positive supply wire (A) (typically black or the smooth unmarked side of the two-conductor cord) to positive fixture lead (B) with appropriately sized twist on connector – – – see Drawings 2 or 3.
- Connect negative supply wire (C) (typically white or the ribbed, marked side of the two-conductor cord) to negative fixture lead (D).
- Cover open end of connectors with silicone sealant to form a watertight seal.
If installing a wall mount fixture, use caulk to seal gaps between the fixture mounting plate (backplate) and the wall. This will help prevent water from entering the outlet box. If the wall surface is lap siding, use caulk and a fixture mounting platform specially. - Please refer to the grounding instructions below to complete all electrical connections.
Grounding instructions
Flush Mount Fixtures
For positive grounding in a 3-wire electrical system, fasten the fixture ground wire (E) (typically copper or green plastic coated) to the fixture mounting strap (M) with the ground screw (S) – see Drawing 1.
Drawing 1 – Flush Mount
Note: On straps for screw supported fixtures, first install the two mounting screws in strap. Any remaining tapped hole may be used for the ground screw.
Chain Hung Fixtures
Loop fixture ground wire (E) (typically copper or green plastic coated) under the head of the ground screw (S) on fixture mounting strap (M) and connect to the loose end of the fixture ground wire directly to the ground wire of the building system with appropriately sized twist-on connectors – see Drawing 2.
Drawing 3 – Post-Mount
Post-Mount Fixtures
Connect fixture ground wire (E) (typically copper or green plastic coated) to power supply ground with appropriately sized twist-on connector inside post. Cover open end of connector with silicone sealant to form a watertight seal – see Drawing 3.
Drawing 3 – Post-Mount
HINKLEY
33000 Pin Oak Parkway
Avon Lake, OH 44012
800.446.5539 / 440.653.5500
hinkley.com

















