Item No: 24025
start here
Instruction Manual
Assembly Instructions
- Find a clear area in which you can work.
- Unpack fixture and glass from carton.
- Carefully review instructions prior to assembly.
- To begin installation it will be necessary to remove the mounting plate (A) from the body of the fixture. This is accomplished by first removing the outer body (1) from the inner body (2) by removing the four screws (3) on the side of the outer body (1). After screws are removed the outer body will slip off of the inner body. Set the screws and parts aside in safe place for use later – see Drawing 1.

- Next remove the inner body (2) from the mounting plate (A) by removing the four side screws (4). After screws are removed the inner body will slip off of the mounting plate.
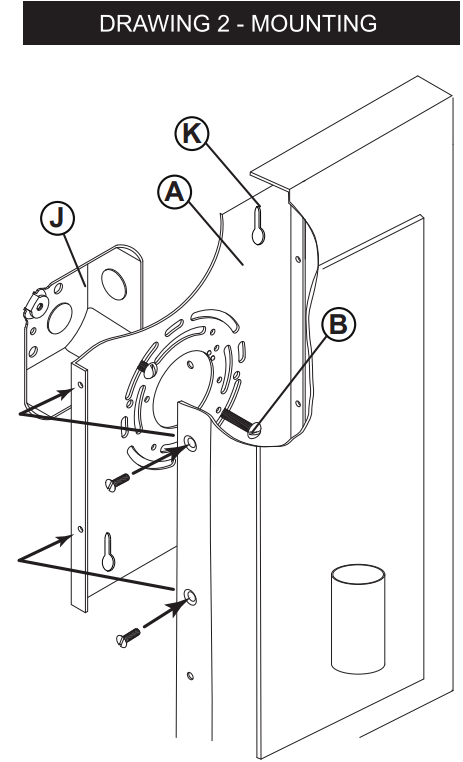
NOTE: additional keyhole slots (K) are provided to anchor mounting plate to wall if needed, see Drawing 2.
- Now take mounting plate (A) and attach it to the junction box (J) using two 8-32 screws (B) NOT PROVIDED. Make sure mounting plate is level by placing a level across the top. When mounting plate is level tighten screws.
- Now take the inner body and make all necessary wiring connections. Please follow instructions sheet (IS-18) provided. Please read and follow all instruction sheets provided before proceeding.
SAFETY WARNING: READ WIRING AND GROUNDING INSTRUC-TIONS (LS. 18) AND ANY ADDITIONAL DIRECTIONS. TURN POWER SUPPLY OFF DURING INSTALLATION. IF NEW WIRING IS REQUIRED, CONSULT A QUALIFIED ELECTRICIAN OR LOCAL AUTHORITIES FOR CODE REQUIREMENTS.
Make electrical connections from supply wire to fixture lead wires. Refer to instruction sheet (I.S. 18) and follow instructions to make all necessary wiring connections. Then refer back to this sheet to complete installation of this fixture. - After all wiring is complete slip wires into junction box (J) and slide inner body over mounting plate (A) aligning the holes on the side of the inner body (2) with the threaded holes on the side of the mounting plate – see Drawing (2).
- After holes are aligned, thread in the four screws (4) that were removed earlier and tighten to secure inner body to mounting plate.
- Now take the outer body (1) and slip it over the inner body (2) and align holes on side of outer body with the threaded holes on the side of the inner body. Thread in the four screws (3) removed earlier – see Drawing 1.
- Installation is complete please follow instruction sheet (IS-200) provided and power can now be restored.
- Find a clear area in which you can work.
- Unpack fixture and glass from carton.
- Carefully review instructions prior to assembly.
NOTE: GLASS CAN BE INSTALLED INTO OUTER BODY (1) PRIOR TO MOUNTING TO BACKPLATE.
- To install or replace glass panels (2) slip them into the outer body from the back – see Drawing 1.

- Slip bottom of glass panel (2) into channel (3) in bottom of outer body. Then tip glass up and into position. Now bend over clips (4) to secure glass in body. Repeat process for other panels.
- Outer body is ready to install on backplate.
I.S. 18 waring grounding instructions
SAFETY WARNING: READ WIRING AND GROUNDING INSTRUCTIO NS (IS 18) AND ANY ADDITIONAL DIRECTIONS. TURN POWER SUPPLY OFF DURING INSTALLATION. IF NEW WIRING IS REQUIRED, CONSU LT A QUALIFIED ELECTRICIAN OR LOCAL AUTHORITIES FOR CODE REQUIREMENTS
wiring instructions
Indoor Fixtures
- Connect positive supply wire (A) (typically black or the smooth, unma rked side of the two-conduc for cord) to positive fixture lead (B) with appropriately sized twist on connector – see Dra wings 1 or 2.
- Connect negative supply wire (C) (typically white or the ribbed, marked side of the two-conductor cord) to negative fixture lead (D).
- Please refer to the grounding instructions below to complete all electrical connections Outdoor Fixtures
- Connect positive supply wire (A) (typically black or the smooth unma rked side of the two-conduc for cord) to positive fixture lead (B) with appropriately sized twist on connector — see Drawings 2 or 3.
- Connect negative supply wire (C) (typically white or the ribbed, marked side of the two-conductor cord) to negative fixture lead (D).
- Cover open end of connectors with silicone sealant to form a watertight seal.
If installing a wall moun t fixture, use caulk to seal gaps between the fixture mounting p late (backpla te) and the wall. This will help prevent water from entering the out let box. If the wal I surface is lap siding, use caulk and a fixture moun ting platform specially. - Please refer to the grounding instructions below to complete all electrical connections.
Grounding instructions
Flush Mount Fixtur es
For positive ground ing in a 3-wire electrical system, fasten the fixture ground wire (E) (typically copper or green plastic coated) to the fixture moun ting strap (M ) with the ground screw (S) – see Drawing 1.
Note: On straps for screw supported fixtures, first install the two mounting screws in strap. Any remaining tapped hole may be used for the ground screw.
Chain Hung Fixtur es
Loop fixture ground wire (E) (typically coppe r or green plastic coa ted) under the head of the ground screw (S) on fixture mounting strap (M) and connect to the loose end of the fixture ground wire directly to the ground wire of the building system with appropriately sized twist-on connectors – see Draw in g 2.
Post-Mou nt Fixtur es
Connect fixture ground wire (E) (typically copper or green plastic coated) to power supply ground with appropriately sized twist-on connector inside post. Cover open end of connector with silicone sealant to form a watertight seal-seeeal Drawing 3. 
IS200 Caulking Instructions
start here
After securing fixture to the wall it is recommended that the gap between the wall and the fixture backplate be sealed on the top and both sides, with a good quality waterproof caulk or silicone sealant (NOT INCLUDED) – see Drawing 1.
After securing fixture in place it is recommended that the gap between the mounting top and fixture base be seal ed with any good quality waterproof caulk or silicone sealant (not incl uded). It is also recomm ended that a small bead of caulk or sealant be put under the ball kn obs used to mount fixture – see Drawing 2.

33000 Pin Oak Parkway, Avon Lake, OH 44012 800.446.5539 / 440.653.5500 hinkley.com





















