HINKLEY 2200 Cape Cod Small Wall Mount Lantern

Assembly Instructions
start here
- Find a clear area in which you can work.
- Unpack fixture and glass from carton.
- Carefully review instructions prior to assembly.
- The construction of this fixture will be accomplished by first installing the mounting hardware to the junction box, making all necessary electrical connections, attaching the fixture to the wall.
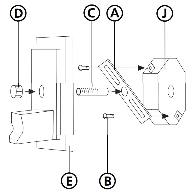
- Prepare mounting strap (A) by threading 1” nipple (C) into the center hole of the mounting strap (A), approximately 1/4“ – see Drawing 1.
- Attach mounting strap (A) to junction box (J) using two screws (B) not provided.
- SAFETY WARNING: READ WIRING AND GROUNDING INSTRUCTIONS (I.S. 18) AND ANY ADDITIONAL DIRECTIONS. TURN POWER SUPPLY OFF DURING INSTALLATION. IF NEW WIRING IS REQUIRED, CONSULT A QUALIFIED ELECTRICIAN OR LOCAL AUTHORITIES FOR CODE REQUIREMENTS.
- Make electrical connections from supply wire to fixture lead wires. Refer to instruction sheet (I.S. 18) and follow all instructions to make all necessary wiring connections. Then refer back to this sheet to continue installation of this fixture.
- Drawing 1 – Fixture Mounting

- Drawing 2 – Fixture Assembly

wiring grounding instructions
SAFETY WARNING: READ WIRING AND GROUNDING INSTRUCTIONS (IS 18) AND ANY ADDITIONAL DIRECTIONS.TURN POWER SUPPLY OFF DURING INSTALLATION. IF NEW WIRING IS REQUIRED, CONSULT A QUALIFIED ELECTRICIAN OR LOCAL AUTHORITIES FOR CODE REQUIREMENTS
wiring instructions
Indoor Fixtures
- Connect positive supply wire (A) (typically black or the smooth, unmarked side of the two-conductor cord) to positive fixture lead (B) with an appropriately sized twist on the connector – see Drawings 1 or 2.
- Connect negative supply wire (C) (typically white or the ribbed, marked side of the two-conductor cord) to negative fixture lead (D).
- Please refer to the grounding instructions below to complete all electrical connections
Outdoor Fixtures
- Connect positive supply wire (A) (typically black or the smooth unmarked side of the two-conductor cord) to positive fixture lead (B) with an appropriately sized twist on the connector — see Drawings 2 or 3.
- Connect negative supply wire (C) (typically white or the ribbed, marked side of the two-conductor cord) to negative fixture lead (D).
- Cover the open end of connectors with silicone sealant to form a watertight seal.
If installing a wall mount fixture, use caulk to seal gaps between the fixture mounting plate (backplate) and the wall. This will help prevent water from entering the outlet box. If the wall surface is lap siding, use caulk, and a fixture mounting platform especially. - Please refer to the grounding instructions below to complete all electrical connections.
grounding instructions
Flush Mount Fixtures
For positive grounding in a 3-wire electrical system, fasten the fixture ground wire (E) (typically copper or green plastic coated) to the fixture mounting strap (M) with the ground screw (S) – see Drawing 1.
Note: On straps for screw-supported fixtures, first install the two mounting screws in the strap. Any remaining tapped hole may be used for the ground screw.
Chain Hung Fixtures
Loop fixture ground wire (E) (typically copper or green plastic coated) under the head of the ground screw (S) on the fixture mounting strap (M) and connect to the loose end of the fixture ground wire directly to the ground wire of the building system with appropriately sized twist-on connectors – see Drawing 2.
Post-Mount Fixtures
Connect fixture ground wire (E) (typically copper or green plastic coated) to the power supply ground with an appropriately sized twist-on connector inside the post. The cover opens the end of the connector with silicone sealant to form a watertight seal – see Drawing 3.
- 33000 Pin Oak Parkway Avon Lake,
- H 44012 800.446.5539
- 440.653.5500
- hinkley.com


















