HINKLEY 2688 24 inch Black Outdoor Wall Mount Lantern

Assembly Instructions
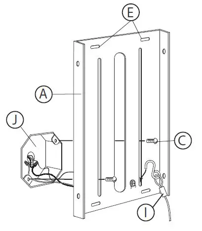
- To begin the installation of your fixture, it will first be necessary to remove the mounting plate (A) from the backplate – see Drawing 1. This is accomplished by removing the screws (S) from the sides of the backplate (P) – see Drawing 2. Set screws aside in a safe place.
- Take mounting plate (A) and attach to junction box (J) located in the wall using two 8-32 screws (C) NOT PROVIDED. NOTE: the location of the mounting plate is adjustable. It can be adjusted up or down. This allows you to adjust where the fixture is located in relation to the junction box. After determining the location, tighten screws (C) to secure the mounting plate to the junction box. Making sure the mounting plate is plumb. Wires from the junction box are to be slipped through a large center slot in the mounting plate.
- Next, take the fixture and use inspection cable (I) on the backplate and hook fixture to installed mounting plate (A) see Drawing 1. Now make all wiring connections following the instruction sheet IS-18 provided.
- After the wiring is complete slip the backplate over the mounting plate and align holes on the sides of the mouting plate with holes in the side of the backplate and thread in screws (S) removed earlier.

NOTE:
ADDITIONAL SUPPORT FOR THE MOUNTING PLATE CAN BE ADDED BY USING HOLES (E) IN THE MOUNTING PLATE AND APPROPRIATE WALL ANCHORS. – SEE DRAWING 1.
SAFETY WARNING:
READ WIRING AND GROUNDING INSTRUCTIONS (I.S. 18) AND ANY ADDITIONAL DIRECTIONS. TURN THE POWER SUPPLY OFF DURING INSTALLATION. IF NEW WIRING IS REQUIRED, CONSULT A QUALIFIED ELECTRICIAN OR LOCAL AUTHORITIES FOR CODE REQUIREMENTS.
Make electrical connections from supply wire to fixture lead wires. Refer to the instruction sheet (I.S. 18) and follow all instructions to make all necessary wiring connections. Then refer back to this sheet to complete the installation of this fixture.
GLASS INSTALLATION
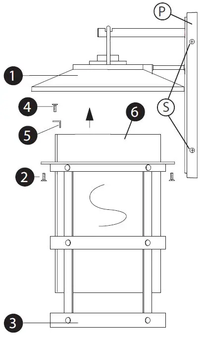
- Remove screws (2) from under the roof (1). Making sure to set screws aside in a safe place. Drop cage (3) off of the roof (1) – See Drawing 2.
- Remove screws (4) that hold the glass clip (5) in position. Make sure to place the clip and screw in a safe place.
- Lift glass (6) out of the fixture and remove the packing material.
- Replace the glass in the fixture and re-install glass clips (5) and screws (4) to secure the glass.
- Install light bulbs and replace the roof (1), the fixture is ready for installation.

I.S. 18 wiring grounding instructions
SAFETY WARNING:
READ WIRING AND GROUNDING INSTRUCTIONS (IS 18) AND ANY ADDITIONAL DIRECTIONS. TURN THE POWER SUPPLY OFF DURING INSTALLATION. IF NEW WIRING IS REQUIRED, CONSULT A QUALIFIED ELECTRICIAN OR LOCAL AUTHORITIES FOR CODE REQUIREMENTS
Wiring Instructions
Indoor Fixtures
- Connect positive supply wire (A) (typically black or the smooth, unmarked side of the two-conductor cord) to positive fixture lead (B) with an appropriately sized twist on the connector – see Drawings 1 or 2.
- Connect negative supply wire (C) (typically white or the ribbed, marked side of the two-conductor cord) to negative fixture lead (D).
- Please refer to the grounding instructions below to complete all electrical connections.

Outdoor Fixtures
- Connect positive supply wire (A) (typically black or the smooth unmarked side of the two-conductor cord) to positive fixture lead (B) with an appropriately sized twist on connector — see Drawings 2 or 3.
- Connect negative supply wire (C) (typically white or the ribbed, marked side of the two-conductor cord) to negative fixture lead (D).
- Cover the open end of connectors with silicone sealant to form a watertight seal.
If installing a wall mount fixture, use caulk to seal gaps between the fixture mounting plate (backplate) and the wall. This will help prevent water from entering the outlet box. If the wall surface is lap siding, use caulk and a fixture mounting platform especially. - Please refer to the grounding instructions below to complete all electrical connections.

Grounding Instructions
Flush Mount Fixtures
For positive grounding in a 3-wire electrical system, fasten the fixture ground wire (E) (typically copper or green plastic coated) to the fixture mounting strap (M) with the ground screw (S) – see Drawing 1.
Note:
On straps for screw supported fixtures, first install the two mounting screws in the strap. Any remaining tapped hole may be used for the ground screw.
Chain Hung Fixtures
Loop fixture ground wire (E) (typically copper or green plastic coated) under the head of the ground screw (S) on the fixture mounting strap (M) and connect to the loose end of the fixture ground wire directly to the ground wire of the building system with appropriately sized twist-on connectors – see Drawing 2.
Post-Mount Fixtures
Connect fixture ground wire (E) (typically copper or green plastic coated) to the power supply ground with an appropriately sized twist-on connector inside the post. Cover the open end of the connector with silicone sealant to form a watertight seal – see Drawing 3.
IS200 Caulking Instructions
After securing the fixture to the wall it is recommended that the gap between the wall and the fixture backplate be sealed on the top and both sides, with a good quality waterproof caulk or silicone sealant (NOT INCLUDED) – See Drawing 1.
After securing the fixture in place it is recommended that the gap between the mounting top and fixture base be sealed with any good quality waterproof caulk or silicone sealant (not included). It is also recommended that a small bead of caulk or sealant be put under the ball knobs used to mount fixture – see Drawing 2.
HINKLEY 33000 Pin Oak Parkway, Avon Lake, OH 44012 800.446.5539 / 440.653.5500 hinkley.com.





















