Mounting Instructions
Item No: 1660/1664
1660 Luna Medium Wall Mount Lantern
- Find a clear area in which you can work.
- Unpack fixture and glass from carton.
- Carefully review instructions prior to assembly.
*** The construction of this fixture will be accomplished by first attaching the mounting strap to the junction box, making all necessary electrical connections, mounting the fixture to the wall, and then lamping the fixture.
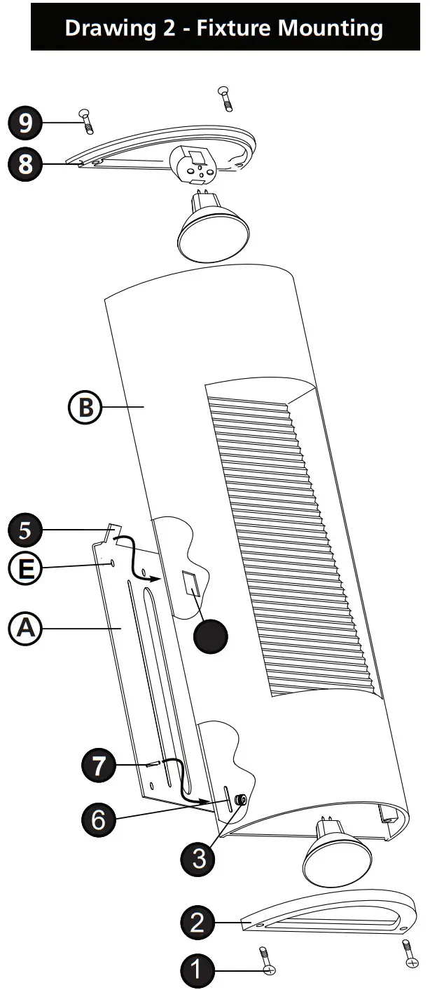
- Remove mounting bracket (A) from back of fixture (B) by unthreading the 2 screws (1) from the bottom lens cover (2) and remove lens cover (2). Unthread the two 8-32 battery nuts (3) from inside the lamp compartment – see Drawing 2.

- Pull the bottom of the mounting bracket (A) away from the fixture, then slide it down to remove.
- Determine the desired height of fixture (B) and mounting bracket (A).
Note: The top of the fixture is 9 inches(1664) / 7 1/2 inches(1660) from the top of the mounting bracket (A). - Attach mounting bracket (A) to junction box (J) by threading 2 screws (C) provided into holes (D) of junction box (J) – see Drawing 1.

- Secure mounting bracket using hole(s) (E) with self provided screws.
SAFETY WARNING
READ WIRING AND GROUNDING INSTRUCTIONS (I.S. 18) AND ANY ADDITIONAL DIRECTIONS. TURN POWER SUPPLY OFF DURING INSTALLATION. IF NEW WIRING IS REQUIRED, CONSULT A QUALIFIED ELECTRICIAN OR LOCAL AUTHORITIES FOR CODE REQUIREMENTS. Note: This fixture requires two grounds to be connected. One on mounting bracket(A) and another on the back of fixture(B).
Make electrical connections from supply wire to fixture lead wires. Refer to instruction sheet (I.S. 18) and follow all instructions to make all necessary wiring connections. Then refer back to this sheet to continue installation of this fixture.
- To mount fixture, line up rectangular cut outs (4) on back of fixture (B) with hooks (5) on the top of mounting bracket (A). Holding the fixture at a slight angle slide cut outs (4) over both hooks (5), then slide slots (6) from the bottom back of fixture (B) over screws (7) on mounting bracket (A). – see Drawing 2.
- Thread the two 8-32 battery nuts (3) provided onto screws (7).
- Bottom of fixture can now be lamped accordingly.
- Re-place bottom lens cover (2) and secure with the 2 screws (1) – see Drawing 2
- To lamp top of fixture. remove lens cover (8) by un-threading 2 screws (9).
- Top of fixture can now be lamped accordingly.
- Replace lens cover (8) and secure with the 2 screws (9).
Note: Maximum wattage for the 1664/1660 is GU-10, 20 watt MR-16
Wiring
Instructions for 0-10 volt LED dimmer
Your fixture is designed so it can use a standard incandescent dimmer, Or a 0-10 volt LED dimmer. If a 0-10 volt LED dimmer is used, it may be necessary to have additonal wiring installed from the dimmer switch to the fixture. Consulting an electrician will be necessary.
- If using the optional 0-10 volt dimmer there will be four wires exiting the junction box. (B) Black [+], (W) White [-], wirng are for the 120 / 277 voltage. The (G) Gray {-} and (P) Purple {+} are for the 0-10 volt wires from the dimmer (D) – see Drawing 1.
- The fixture has four wires of corrisponding colors. When make the wire connections follow the chart below.
Black (B) from junction box (J) wired to Black (B) from fixture (F).
White (W) from junction box (J) wired to White (W) from fixture (F).
Gray/Pink(G) from junction box (J) wired to Gray/Pink (G) from fixture (F).
Purple (P) from junction box (J) wired to Purple (P) from fixture (F)
Connect ground wire from fixture to ground screw on mounting hardware
INCANDESCENT DIMMER USAGE:
If using an incadescent dimmer follow manufactures instructions.
NOTE: MAKE SURE TO CAP OFF THE GRAY AND PURPLE WIRE FROM THE FIXTURE INSIDE THE CANOPY. IF THE ARE NOT CAPPED THEY CAN SHORT OUT AND CAUSE THE FIXTURE TO FAIL.

IS200 Caulking Instructions
After securing fixture to the wall it is recommended that the gap between the wall and the fixture backplate be sealed on the top and both sides, with a good quality waterproof caulk or silicone sealant (NOT INCLUDED) – see Drawing 1.

After securing fixture in place it is recommended that the gap between the mounting top and fixture base be sealed with any good quality waterproof caulk or silicone sealant (not included). It is also recommended that a small bead of caulk or sealant be put under the ball knobs used to mount fixture – see Drawing 2.

HINKLEY 33000 Pin Oak Parkway, Avon Lake,
OH 44012 800.446.5539 / 440.653.5500
hinkley.com


















