HINKLEY IS 4558 18.25 Inch Height Outdoor Lantern Wall Sconce

SAFETY WARNING
READ WIRING AND GROUNDING INSTRUCTIONS (IS 18) AND ANY ADDITIONAL DIRECTIONS. TURN POWER SUPPLY OFF DURING INSTALLATION. IF NEW WIRING IS REQUIRED, CONSULT A QUALIFIED ELECTRICIAN OR LOCAL AUTHORITIES FOR CODE REQUIREMENTS.
- Shut of electrical current before starting. If the fixture you are replacing is turned on and of by a wall switch, simply turn the switch of. If not, remove the appropriate fuse (or open the circuit breakers) until the fixture is dead.
- DO NOT restore current – either by fuse, breaker or switch – until the new fixture is completely wired and in place.
- Determine the desired height the chandelier will be installed.
- The fixture is supplied with a variety of stem lengths. Determine what combination of stems are needed to achieve desired length – see Drawing 1.

- Slip stems over wire and thread first stem onto top of chandelier.
Repeat this process until all required stems are threaded together. - After last stem is threaded on slip wire through center hole in loop (L) – see Drawing 2.
- Thread loop (L) onto top of last stem and tighten. Now slip wire through the center hole of the loop (T) that is attached to the canopy.
- Fixture is ready for installation.
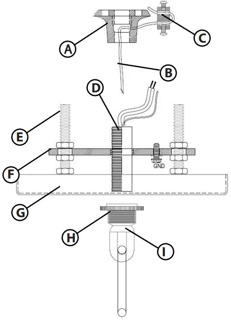
- To mount fixture first secure safety cable holder (A) to mounting surface outside junction box
- Thread safety cable (B) through holder (A)
- Place clamp (C) onto end of safety cable (B) to prevent safety cable from sliding back through holder
- Secure mounting screws (E) to junction box
- Slide canopy (G) up toward mounting plate (F)
- Thread loop (I) onto nipple (D) and use collar (H) to secure canopy (G)

Assembly Instructions
- Find a clear area in which you can work.
- Unpack fixture and glass from carton.
- Carefully review instructions prior to assembly.
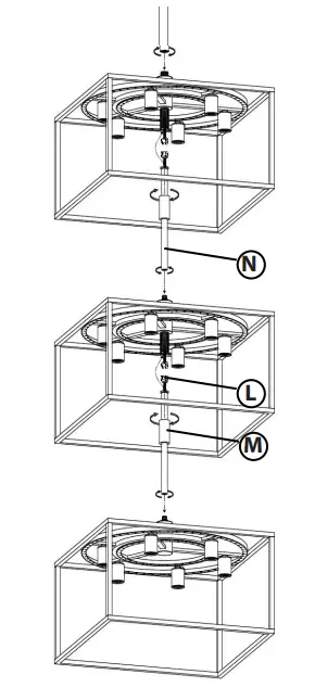
- Connect each of the orange quick connectors together (L)
- The fixture comes with three different sections use stems (N) to connect sections together make sure the pin (P) is inserted into the notch (R) in stem
- Slide cover (M) over nipple and turn to lock into place
- Follow the next page for crystal install


- Find a clear area in which you can work.
- Unpack fixture and glass from carton.
- Carefully review instructions prior to assembly.

The fixture is supplied with crystals. These crystal are to be installed by inserting the end of the crystal clip (C) – see Drawing 1, into the holes in the inner and outer rings – see Drawing 2.
There are 48 crystals on the inner ring and 72 crystals on the outer ring.
Wiring Instructions
Indoor Fixtures
- Connect positive supply wire (A) (typically black or the smooth, unmarked side of the two-conductor cord) to positive fixture lead (B) with appropriately sized twist on connector – see Drawings 1 or 2.
- Connect negative supply wire C) (typically white or the ribbed, marked side of the two-conductor cord) to negative fixture lead D).
- Please refer to the grounding instructions below to complete all electrical connections

Outdoor Fixtures
- Connect positive supply wire A) (typically black or the smooth unmarked side of the two-conductor cord) to positive fixture lead (B) with appropriately sized twist on connector — see Drawings or 3.
- Connect negative supply wire C) (typically white or the ribbed, marked side of the two-conductor cord) to negative fixture lead D).
- Cover open end of connectors with silicone sealant to form a watertight seal. If installing a wall mount fixture, use caulk to seal gaps between the fixture mounting plate (backplate) and the wall. This will help prevent water from entering the outlet box. If the wall surface is lap siding, use caulk and a fixture mounting platform specially.
- Please refer to the grounding instructions below to complete all electrical connections.


Grounding Instructions
Flush Mount Fixtures
For positive grounding in a 3-wire electrical system, fasten the fixture ground wire (E) (typically copper or green plastic coated) to the fixture mounting strap (M) with the ground screw (S) – see Drawing 1.
Note: On straps for screw supported fixtures, first install the two mounting screws in strap. Any remaining tapped hole may be used for the ground screw.
Chain Hung Fixtures
Loop fixture ground wire (E) (typically copper or green plastic coated) under the head of the ground screw (S) on fixture mounting strap (M) and connect to the loose end of the fixture ground wire directly to the ground wire of the building system with appropriately sized twist-on connectors – see Drawing 2.
Post-Mount Fixtures
Connect fixture ground wire (E) (typically copper or green plastic coated) to power supply ground with appropriately sized twist-on connector inside post. Cover open end of connector with silicone sealant to form a watertight seal – see Drawing 3.
Unpacking Procedure
- A. Remove the metal tube support.

- B. Remove and open all the parts box.

- C. Remove the Top insert.

- D. Remove the item on the box. Accessories were placed on the bottom of the item.


Customer Support
H I N K L E Y 33000 Pin Oak Parkway, Avon Lake, OH 44012 800.446.5539 / 440.653.5500 hinkley.com































